Sponsor: Gilead Sciences Canada, Inc.
Therapeutic area: HR-positive, HER2-negative advanced or metastatic breast cancer
This multi-part report includes:
AE
adverse event
AESI
adverse event of special interest
AI
aromatase inhibitor
BC
breast cancer
BCC
Breast Cancer Canada
BICR
blinded independent central review
CBCN
Canadian Breast Cancer Network
CBR
clinical benefit rate
CDK4/6
cyclin-dependent kinase 4 and 6
CI
confidence interval
CR
complete response
DAC
Drug Advisory Committee
DoR
duration of response
ECOG PS
Eastern Cooperative Oncology Group Performance Status
EORTC QLQ C-30
European Organisation for Research and Treatment of Cancer Quality of Life Questionnaire Core 30
ER
estrogen receptor
G-CSF
granulocyte colony-stimulating factor
GRADE
Grading of Recommendations Assessment, Development, and Evaluation
HER2
human epidermal growth factor receptor 2
HRQoL
health-related quality of life
IA1
interim analysis 1
IA2
interim analysis 2
IHC
immunohistochemistry
ISH
in situ hybridization
ITT
intention to treat
KM
Kaplan-Meier
mBC
metastatic breast cancer
MID
minimal important difference
MPSG
McPeak-Sirois Group
mTNBC
metastatic triple-negative breast cancer
OH-CCO
Ontario Health (Cancer Care Ontario)
ORR
objective response rate
OS
overall survival
PFS
progression-free survival
RCT
randomized controlled trial
PR
progesterone receptor
PRO
patient-reported outcome
QoL
quality of life
RECIST 1.1
Response Evaluation Criteria in Solid Tumours Version 1.1
SAE
serious adverse event
SD
standard deviation
T-DXd
trastuzumab deruxtecan
TPC
treatment of physician's choice
Trop-2
tumour-associated calcium signal transducer 2
TTD
time to deterioration
An overview of the submission details for the drug under review is provided in Table 1.
Table 1: Background Information on the Application Submitted for Review
Item | Description |
|---|---|
Drug product | Sacituzumab govitecan (Trodelvy), 180 mg lyophilized powder for solution for injection, for IV use |
Sponsor | Gilead Sciences Canada, Inc. |
Indication | For the treatment of adult patients with unresectable, locally advanced or metastatic, HR-positive, HER2-negative (IHC 0, IHC 1+ or IHC 2+/ISH-negative) breast cancer who have received endocrine-based therapy and at least 2 additional systemic therapies in the metastatic setting |
Reimbursement request | As per indication |
Health Canada approval status | NOC |
Health Canada review pathway | Priority review, Project Orbis |
NOC date | July 19, 2023 |
Recommended dosage | 10 mg/kg given through IV once weekly on days 1 and 8 of 21-day treatment cycles. Continue treatment until disease progression or unacceptable toxicity, with a maximum dose of 10 mg/kg. |
HER2 = human epidermal growth factor receptor 2; HR = hormone receptor; IHC = immunohistochemistry; ISH = in situ hybridization; NOC = Notice of Compliance.
Breast cancer (BC) is a heterogeneous disease that most often originates in the epithelial cells lining the ducts, lobules, or other parts of breast tissue.1,2 The presence or absence of the expression of human epidermal growth factor receptor 2 (HER2), estrogen receptors (ERs), or progesterone receptors (PRs) affects cancer cell proliferation, prognosis, treatment response, and recurrence of cancers in patients with BC.2-4 Hormone receptor (HR)-positive tumours have both ER and PR receptors. These tumours are characterized as low grade and slow-growing, tending not to spread. However, they are known to recur in the years following treatment completion.5 BC that is HR-positive and HER2-negative is defined as a tumour having more than 1% immunohistochemistry (IHC) expression of ER and/or PR and a lack of HER2 expression, including HER2-low expression (i.e., an IHC score of 0, 1+ or 2+ and confirmed as negative by in situ hybridization [ISH]).6-9
Signs and symptoms vary by disease stage, and may include swelling in the surrounding lymph nodes, nipple changes (e.g., discharges), skin changes (e.g., erythema, skin ulcers, eczema), breast pain or heaviness, or other persistent changes in the breast.10,11 BC was the second most diagnosed cancer in Canada in 2022 and the most prevalent among females, with projected estimates of about 28,900 new cases in the overall population (about 28,600 in females and 270 in males).12 In 2018, the 5-year prevalence of BC in females in Canada was reported to be 110,955 patients,13 equating to a 5-year prevalence rate of 0.73%.14 The HR-positive, HER2-negative subtypes are the most prevalent in Canada, accounting for more than 70% of all new cases. Although prognosis with HR-positive, HER2-negative BC is generally favourable when diagnosed early,2 the lifetime risk of developing distant metastases ranges from 22% to 52%, and the prognosis worsens with each subsequent line of systemic therapy administered.15 The number of cases of relapse reported among newly diagnosed patients with HR-positive, HER2-negative metastatic breast cancer (mBC) who receive first-line treatment has been found to be 71%.16 The 5-year probability of distant recurrence or death among patients diagnosed with early-stage disease is 17.2% (95% credible interval, 14.6% to 20.3%).17 Survival outcomes following progression on endocrine-based therapies worsen significantly with later lines of single-drug chemotherapy, with median progression-free survival (PFS) and overall survival (OS) estimated to be as low as 3 months and 7 months, respectively.18 Metastatic, HR-positive, HER2-negative BC also negatively affects patients’ quality of life because of symptoms associated with disease progression and administered treatment. Common symptoms reported include pain, fatigue, nausea, vomiting, cognitive problems, depression, hair loss, lymphedema, sleep disturbance, loss of appetite, anxiety, and sexual dysfunction.19-21
In Canada, the treatment algorithm for HR-positive, HER2-negative mBC outlines that standard of care systemic treatment in the first-line setting is endocrine therapy in combination with a cyclin-dependent kinase 4 and 6 (CDK4/6) inhibitor. Other first-line options include endocrine monotherapy, everolimus plus exemestane, and chemotherapy. For patients with suspected visceral crisis or who are unresponsive to endocrine therapy, chemotherapy may also be used to achieve initial adequate response, with follow-up endocrine therapy in combination with a CDK4/6i.22 Following progression on first-line treatment with endocrine therapy and a CDK4/6 inhibitor, second-line options include endocrine monotherapy, chemotherapy, or everolimus with exemestane.22,23 For patients who receive endocrine monotherapy in the first-line setting, second-line options include endocrine therapy in combination with a CDK4/6 inhibitor or chemotherapy. Patients face limited treatment options beyond the second line. There is no single standard of care, with chemotherapy recommended once patients have progressed on multiple lines of systemic therapy.23 Available options for single-drug chemotherapy include anthracyclines, taxanes, capecitabine, eribulin, vinorelbine, platinum complexes, and other drugs.23 The aligned input from the clinical experts consulted by CADTH regarding options for chemotherapy included capecitabine; paclitaxel; nab-paclitaxel; docetaxel; doxorubicin; epirubicin; vinorelbine; gemcitabine; eribulin; Adriamycin and cyclophosphamide; cyclophosphamide, methotrexate, and fluorouracil; gemcitabine and cisplatin; or gemcitabine and carboplatin. Chemotherapy is associated with an unfavourable toxicity profile and poor survival outcomes.24-28
The objective of this report is to review and critically appraise the evidence submitted by the sponsor on the beneficial and harmful effects of sacituzumab govitecan, 10 mg/kg, administered as an IV infusion once weekly on days 1 and 8 of a 21-day treatment cycle for the treatment of adult patients with unresectable, locally advanced or metastatic, HR-positive, HER2-negative (IHC 0, IHC 1+, or IHC 2+, and ISH-negative) BC who have received endocrine-based therapy and at least 2 additional systemic therapies in the metastatic setting.
Sacituzumab govitecan has been previously reviewed by CADTH for other indications in the mBC setting. On February 11, 2022, a recommendation for reimbursement was issued for the treatment of adult patients with unresectable, locally advanced or metastatic, triple-negative breast cancer (mTNBC) who have already received 2 or more prior therapies, at least 1 of them for metastatic disease.29
The information in this section is a summary of input provided by the patient and clinician groups who responded to CADTH’s call for input and by clinical expert(s) consulted by CADTH for the purpose of this review.
The Canadian Breast Cancer Network (CBCN), Rethink Breast Cancer, Breast Cancer Canada (BCC), and the McPeak-Sirois Group (MPSG) submitted input for this review (with BCC and MPSG submitting jointly). The information from CBCN was sourced from 3 online surveys: its 2022 Triple Negative Breast Cancer Patient Survey, 2017 Metastatic Breast Cancer Patient Survey, and 2012 Metastatic Breast Cancer Patient and Caregiver Survey Report. The information submitted by BCC and MPSG was sourced from a survey that ran from July 6, 2023 to July 21, 2023, distributed through email to patients and caregivers living with recurrent mBC. Information from Rethink Breast Cancer was sourced from meetings held with patients with BC, a consultation with the Metastatic Breast Cancer Advisory Board conducted in July of 2023, an online survey of 78 patients living with mBC (which ran from September 2018 to April 2019), and a review of a 2021 survey.
The patient groups expressed that metastatic disease has significant or debilitating impacts on patients’ quality of life. BC significantly affects younger patients, especially those diagnosed in their twenties, thirties, and early forties, who may face age-specific issues such as fertility or family-planning challenges, diagnosis during pregnancy, impacts on child care, impacts on relationships, body image issues, dating and sexuality issues, feelings of isolation from peers who do not have cancer, career hiatuses, and financial insecurity. There is an unmet need for treatments in later lines due to the multirefractory drug experience in the metastatic setting. The patient groups expressed a desire for new options that control disease and extend the lives of patients living with mBC. Patients highlighted key factors that influence treatment choice, such as effectiveness, quality of life, management of side effects, cost, and accessibility. They also expressed the need for personal choice and autonomy in choosing treatments.
Two patients with mTNBC who had experience with sacituzumab govitecan for a different indication were interviewed in the CBCN survey. Feedback from 11 patients with prior experience with sacituzumab govitecan (for recurrent HR-positive, HER2-negative mBC [n = 6] and prior authorized mTNBC [n = 5]) was summarized in the joint input from BCC and MPSG, as was feedback from 3 patients in the Rethink Breast Cancer input (1 who had been diagnosed with ER-positive, HER2-negative mBC and 2 who had been diagnosed with mTNBC). Overall, patients reported manageable side effects and positive, meaningful improvements after receiving sacituzumab govitecan. Common side effects reported included hair loss, nausea, fatigue, diarrhea, rash, and headache. All respondents reported deriving benefits from sacituzumab govitecan and would recommend the drug to other patients.
The experts identified multiple unmet needs among the patients of interest for this review: not all patients respond to available treatment; some become refractory to available treatment options; no treatments are available to reverse the course of disease; treatments are needed that are better tolerated once patients move past endocrine therapy; and therapies are needed to improve convenience and feasibility (e.g., fewer hospital visits and less frequent monitoring needs with imaging scans). The experts indicated that sacituzumab govitecan would fit into the current treatment paradigm for patients who have received prior endocrine-based therapy, including CDK4/6 inhibitors and 2 to 4 prior chemotherapy regimens in the metastatic setting; (neo)adjuvant therapy for early-stage disease qualified as 1 of the required prior chemotherapy regimens if the development of unresectable, locally advanced, or metastatic disease occurred within 12 months of therapy (i.e., early relapse). The experts emphasized that patients must have previously received at least 1 taxane to be considered for treatment with sacituzumab govitecan. The experts noted that the patients most likely to respond to treatment with sacituzumab govitecan are those with or without visceral metastases and an Eastern Cooperative Oncology Group Performance Status (ECOG PS) of 0 to 2, with expected survival of longer than 3 months (patients with brain metastases should have stable brain lesions for at least 4 weeks). According to the clinical experts, treatment should be in the hospital setting or at a specialty clinic with the expertise and staffing needed to administer systemic therapy and to monitor and manage treatment-related toxicities. Treatment responses are determined through periodic clinical assessments and serial biochemical and radiographic assessments, and are based on symptoms, laboratory markers, and radiographic scans and tumour measurements, with scans usually performed at least every 3 months initially (i.e., 1 staging scan).
Medical oncologists from the Saskatoon Cancer Centre and the Ontario Health (Cancer Care Ontario) (OH-CCO) Breast Cancer Drug Advisory Committee (DAC) provided input for this review. Input from the Saskatchewan Cancer Agency was sourced from discussions held at multidisciplinary rounds, educational sessions, and email communications. Input from the CCO committee was gathered through videoconferencing.
The most important treatment goals highlighted by both groups were to prolong life, improve PFS, improve OS rates, delay disease progression, maintain quality of life, minimize treatment-related toxicities, and manage disease-related symptoms effectively. Current treatment paradigms for metastatic, HR-positive BC include a combination of drug and nondrug therapies; CDK4/6 inhibitors with an aromatase inhibitor (AI) are used in first-line treatment, while endocrine therapy (fulvestrant, tamoxifen), chemotherapy (capecitabine, paclitaxel), targeted therapy (alpelisib for PIK3CA mutation, olaparib for germline BRCA mutation), or clinical trial drugs (if patients are eligible) are available as second-line and subsequent treatments for patients with known progression. Both groups emphasized that sacituzumab govitecan will be a valuable option for third and later lines for patients who have exhausted other options. The patients best suited for treatment with sacituzumab govitecan will be those who have undergone prior endocrine therapy and multiple lines of chemotherapy, as indicated (similar to the inclusion criteria of the trial). Patients with poor performance status and those who have not received prior chemotherapy (at least 2 lines) will be less suitable to receive treatment, according to the clinician groups. Both groups highlighted that the end points assessed in the trial — such as OS, objective response rate (ORR), clinical benefit rate (CBR), duration of response (DoR), PFS, patient-reported outcomes (PROs), and safety — are clinically meaningful and will be used to assess treatment effectiveness in practice. Treatment will be discontinued if disease progression is observed upon radiographic imaging (i.e., tumour growth or new lesions) or in the case of unacceptable toxicity, undue toxicity, or patient preference. Sacituzumab govitecan is best administered under the guidance of a medical oncologist in an outpatient oncology clinic or in settings with clinicians that have expertise administering systemic therapy to patients with advanced disease.
Input was obtained from the drug programs that participate in the CADTH reimbursement review process. The following were identified as key factors that could potentially affect the implementation of a CADTH reimbursement for sacituzumab govitecan:
relevant comparators
considerations for initiation of therapy
considerations for discontinuation of therapy
considerations for prescribing of therapy
generalizability
funding algorithm
care provision issues
system and economic issues.
The clinical experts consulted by CADTH provided advice on the potential implementation issues raised by the drug program. Refer to Table 4 for more details.
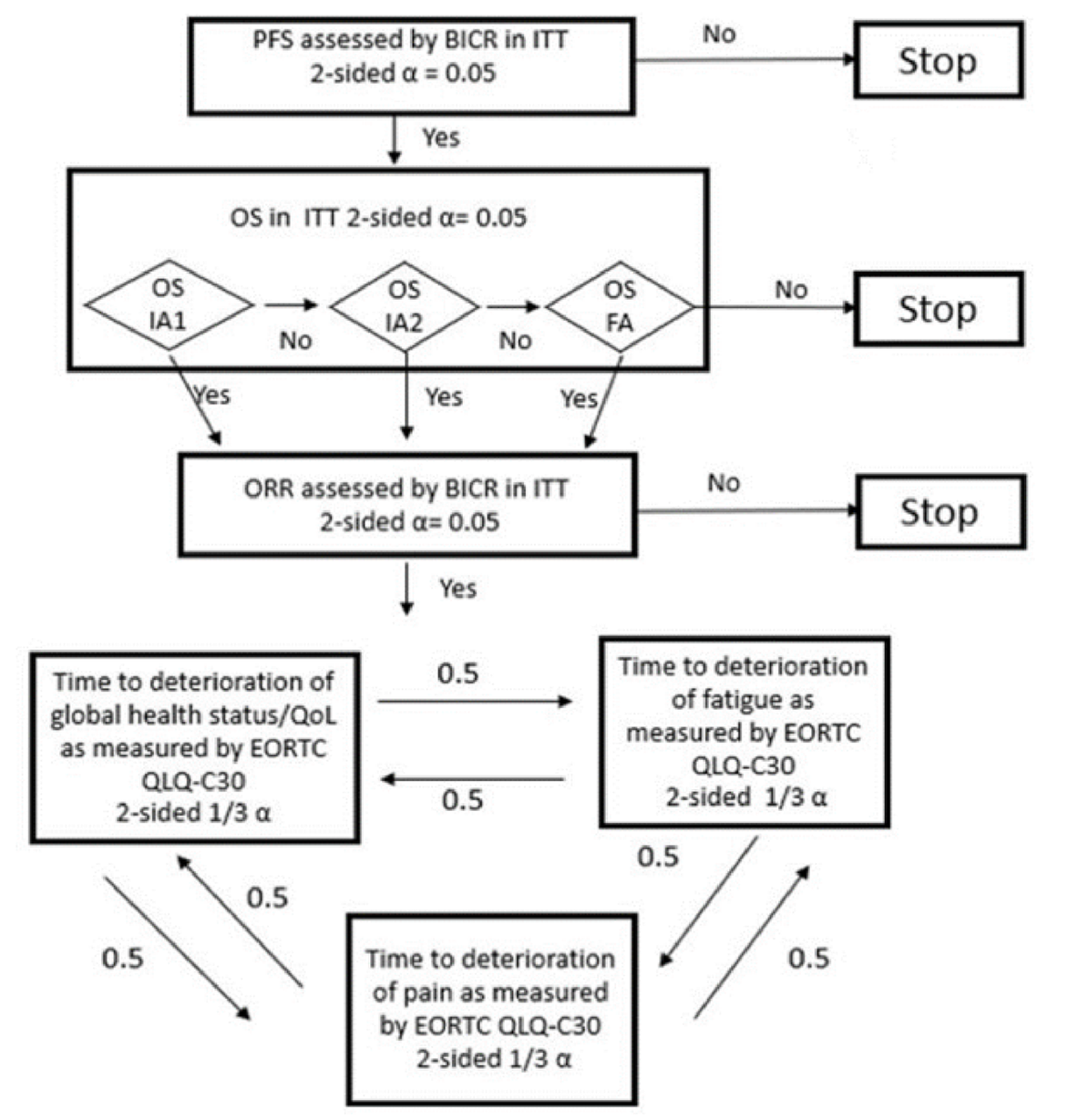
One multicentre, multinational, open-label, randomized phase III trial (TROPiCS-02) was included comparing sacituzumab govitecan with treatment of physician's choice (TPC) in patients with unresectable, locally advanced or metastatic, HR-positive, HER2-negative BC who had received endocrine-based therapy and at least 2 additional systemic therapies in the metastatic setting. To be eligible for the trial, patients must have had evidence of mBC that was HR-positive (i.e., at least 1% of the cells examined have ERs and/or PRs) and HER2-negative (i.e., IHC ≤ 2+ or fluorescence ISH-negative) confirmed by a local laboratory, been refractory to or relapsed after 2 to 4 prior systemic chemotherapy regimens for metastatic disease ([neo]adjuvant therapy for early-stage disease qualified as 1 of the required prior chemotherapy regimens if the development of unresectable, locally advanced or metastatic disease occurred within a 12-month period of time of the therapy), and been previously treated with at least 1 taxane, at least 1 prior anticancer hormonal treatment, and at least 1 CDK4/6 inhibitor in any setting.30,31 Eligible patients (N = 543) were randomized using a 1 to 1 ratio to 1 of 2 groups: those receiving sacituzumab govitecan (n = 272) (10 mg/kg, administered as an IV infusion once weekly on days 1 and 8 of a 21-day treatment cycle) or those receiving TPC (n = 271) (eribulin, capecitabine, gemcitabine, or vinorelbine, by investigators’ choice). Patients were treated until progression requiring discontinuation of further treatment, unacceptable toxicity, study withdrawal, or death. Measures of survival (PFS, OS), tumour response to treatment (ORR, CBR, DoR), PROs (time to deterioration [TTD] in the European Organisation for Research and Treatment of Cancer Quality of Life Questionnaire Core 30 [EORTC QLQ-C30] domains of global health status/quality of life [QoL], fatigue, pain, and diarrhea), and time to treatment discontinuation were compared. Harms were also reported.30-34
At baseline, the mean ages were |||| years (standard deviation [SD] = |||||) in the sacituzumab govitecan group and |||| years (SD = |||||) in the TPC group. Nearly all patients were female (99.1%). Most patients were white (66.7%), and were from the US (42.0%), France (25.2%), Spain (12.7%), and other countries in North America and Europe. All had experienced progressive disease and extensive prior systemic treatment in the metastatic setting (median prior lines of chemotherapy = 3; 96% with 2 or more prior chemotherapies); all had received prior CDK4/6 inhibitors, reflecting the standard of care and allowing for the assessment of efficacy after CDK4/6 inhibitor treatment. Overall, most patients (95%) had visceral metastases at baseline; these are associated with particularly poor outcomes. The percentages of patients who had received at least 1 concomitant medication were similar in the sacituzumab govitecan ||||||| and TPC (||||||) groups. Most used concomitant medications, including analgesics (||||| in the sacituzumab govitecan group versus ||||| in the TPC group), antiemetics and antinauseants (||||| versus |||||), and drugs for acid-related disorders (||||| versus |||||). At any time during the study, 54.1% of patients (145 of 268 patients in the safety population) in the sacituzumab govitecan group and 34.1% of patients (85 of 249 patients in the safety population) in the TPC group used granulocyte colony-stimulating factor (G-CSF). Of these, 35.4% (n = 95) and 21.7% (n = 54) of patients in the sacituzumab govitecan and TPC groups, respectively, used it as prophylaxis for neutropenia and ||||| || | |||, while ||||| || | ||| in both groups used it to manage neutropenia.
The key efficacy results from the TROPiCS-02 trial are summarized in Table 2. The intention-to-treat (ITT) population dataset (including all randomized patients in the group to which they were randomized), which is the same as the full analysis set in this study (i.e., 272 patients in the sacituzumab govitecan group and 271 patients in the TPC group), was used for the survival and tumour response to treatment outcomes. The population datasets evaluable for health-related quality of life (HRQoL) (a subset of the ITT population, including patients with a baseline assessment and at least 1 postbaseline assessment) were used for the PROs.
The primary efficacy end point of TROPiCS-02 was PFS per blinded independent central review (BICR) at the first interim analysis (data cut-off date: January 3, 2022; median duration of follow-up = 10.22 months [range, 0.03 months to 27.93 months]). The median PFS per BICR was 5.5 months (95% confidence interval [CI], 4.2 to 7.0) for patients treated with sacituzumab govitecan and 4.0 months (95% CI, 3.1 to 4.4) for patients treated with TPC (hazard ratio = 0.66; 95% CI, 0.53 to 0.83; P = 0.0003). As of January 3, 2022, the Kaplan-Meier (KM) estimates of the probability of PFS in the sacituzumab govitecan and TPC groups were 66.0% (95% CI, 59.6 to 71.6) versus 57.8% (95% CI, 50.8 to 64.1) at 3 months; 46.1% (95% CI, 39.4 to 52.6) versus 30.3% (95% CI, 23.6 to 37.3) at 6 months; 32.5% (95% CI, 25.9 to 39.2) versus 17.3% (95% CI, 11.5 to 24.2) at 9 months; 21.3% (95% CI, 15.2 to 28.1) versus 7.1% (95% CI, 2.8 to 13.9) at 12 months; and 13.3% (95% CI, 7.8 to 20.4) versus 7.1% (95% CI, 2.8 to 13.9) at 18 months. At the final analysis (exploratory, data cut-off date: December 1, 2022; median duration of follow-up = 12.75 months [range, 0.03 to 38.05]), the median PFSs per BICR in the sacituzumab govitecan and TPC groups were 5.5 months (95% CI, 4.2 to 6.9) versus 4.0 months (95% CI, 3.0 to 4.4) (hazard ratio = 0.65; 95% CI, 0.53 to 0.81; P = 0.0001). As of December 1, 2022, the KM estimates of the probability of PFS for sacituzumab govitecan versus TPC were 45.6% (95% CI, 38.9 to 52.0) versus 29.4% (95% CI, 22.9 to 36.2) at 6 months; 21.7% (95% CI, 15.8 to 28.3) versus 8.4% (95% CI, 4.2 to 14.5) at 12 months; and 14.4% (95% CI, 9.1 to 20.8) versus 4.7% (95% CI, 1.3 to 11.6) at 18 months.
One of the secondary end points was OS per BICR at the second interim analysis (data cut-off date: July 1, 2022; median duration of follow-up = 12.48 months [range, 0.03 to 35.48]). The median OS per BICR was 14.4 months (95% CI, 13.0 to 15.7) for patients treated with sacituzumab govitecan compared with 11.2 months (95% CI, 10.1 to 12.7) for patients treated with TPC (hazard ratio = 0.789; |||||| ||| ||||| || |||||; P = 0.020). As of July 1, 2022, the KM estimates of the probability of OS in the sacituzumab govitecan and TPC groups were 60.8% (95% CI, 54.6 to 66.4) versus 47.3% (95% CI, 41.1 to 53.2) at 12 months; 38.9% (95% CI, 32.8 to 44.9) versus 32.4% (95% CI, 26.7 to 38.2) at 18 months; and 24.6% (95% CI, 18.8 to 30.7) versus 21.4% (95% CI, 16.0 to 27.3) at 24 months. At final analysis (exploratory, data cut-off of December 1, 2022), the median OS per BICR in the sacituzumab govitecan and TPC groups was 14.5 months (95% CI, 13.0 to 16.0) versus 11.2 months (95% CI, 10.2 to 12.6) (hazard ratio = 0.788; 98.21% CI, 0.627 to 0.990; P = 0.0133). As of December 1, 2022, the KM estimates of the probability of survival for sacituzumab govitecan versus TPC were 60.9% (95% CI, 54.8 to 66.4) versus 47.1% (95% CI, 41.0 to 53.0) at 12 months; 39.2% (95% CI, 33.4 to 45.0) versus 31.7% (95% CI, 26.2 to 37.4) at 18 months; and 25.7% (95% CI, 20.5 to 31.2) versus 21.1% (95% CI, 16.3 to 26.3) at 24 months as of December 1, 2022.
At the second interim analysis (data cut-off date: July 1, 2022), the ORRs (for complete response [CR] or partial response per BICR) were 21% (57 patients of 272 patients) in the sacituzumab govitecan group and 14% (38 patients of 271 patients) in the TPC group (odds ratio = 1.63; 95% CI, 1.03 to 2.56; P = 0.03). The CBRs (for CR, partial response, or stable disease ≥ 6 months) per BICR were 34% (92 patients of 272 patients) and 22% (60 patients of 271 patients) in the sacituzumab govitecan and TPC groups, respectively (odds ratio = 1.80; 95% CI, 1.23 to 2.63; P = 0.003). Both ORR and CBR were secondary end points.
The median DoRs per BICR (secondary end point) were 8.1 months (95% CI, 6.7 to 9.1) in the sacituzumab govitecan group and 5.6 months (95% CI, 3.8 to 7.9) in the TPC group (hazard ratio and 95% CI of hazard ratio not reported), based on the data from 57 responders (CR or PR) in the sacituzumab govitecan group and 38 responders in the TPC group as of July 1, 2023.
PROs included TTD in the EORTC QLQ-C30 global health status/QoL, fatigue, pain, and diarrhea domains at the second interim analysis (data cut-off of July 1, 2022) among the HRQoL-evaluable population.
The medians for TTD in the EORTC QLQ-C30 global health status/QoL domain (secondary end point) were 4.3 months (95% CI, 3.1 to 5.7) in the sacituzumab govitecan group and 3.0 months (95% CI, 2.2 to 3.9) in the TPC group (hazard ratio = 0.75; 95% CI, 0.61 to 0.92; P = 0.006), based on the available data from 234 patients (86%) in the sacituzumab govitecan group (272 patients at baseline) and 207 patients (76%) in the TPC group (271 patients at baseline).
The medians for TTD in the EORTC QLQ-C30 fatigue domain (secondary end point) were 2.2 months (95% CI, 1.6 to 2.8) and 1.4 months (95% CI, 1.1 to 1.9) in the sacituzumab govitecan and TPC groups, respectively (hazard ratio = 0.73; 95% CI, 0.60 to 0.89; P = 0.002), based on the available data from 234 patients (86%) in the sacituzumab govitecan group and 205 patients (76%) in the TPC group.
The medians for TTD in the EORTC QLQ-C30 pain domain (secondary end point) were 3.8 months (95% CI, 2.8 to 5.0) and 3.5 months (95% CI, 2.8 to 5.0) in the sacituzumab govitecan and TPC groups, respectively (hazard ratio = 0.918; 95% CI, 0.748 to 1.126; P = 0.415), based on the available data from 229 patients (84%) in the sacituzumab govitecan group and 202 patients (75%) in the TPC group.
The medians for TTD in the EORTC QLQ-C30 diarrhea domain (exploratory end point) were ||| |||||| |||| || |||| ||| ||| |||||| |||| || |||| in the sacituzumab govitecan and TPC groups, respectively (|||||| |||||| |||||| ||| ||| ||||| || |||||| | | ||||||), based on the available data from 232 patients (85%) in the sacituzumab govitecan group and ||| ||||| patients in the TPC group.
The analysis of time to treatment discontinuation was not prespecified by the sponsor; however, it was requested by the CADTH for the purpose of the certainty of evidence appraisal. The analysis of time to treatment discontinuation was performed at the final analysis (data cut-off of December 1, 2022; median duration of follow-up = ||||| months [range, |||| || |||||]). The median (95% CI) time to treatment discontinuation was ||| |||||| |||| || |||| in the sacituzumab govitecan group compared with ||| |||||| |||| || |||| in the TPC group ||||||| |||||| ||||| ||| ||| |||| || ||||| | | ||||||). The 18-month event-free rates were |||| |||| ||| ||| || |||| and |||| |||| ||| ||| || |||| for patients treated with sacituzumab govitecan and TPC, respectively.
The key harm results from the TROPiCS-02 trial at the second interim analysis (data cut-off of July 1, 2022) are summarized in Table 2. The safety population dataset (i.e., all patients who received at least 1 dose of the study drug, analyzed per treatment received [268 in the sacituzumab govitecan group and 249 in the TPC group]) was used for all safety outcomes.
As of July 1, 2022, adverse events (AEs) were reported in 100% and 96.0% of patients in the sacituzumab govitecan and TPC groups, respectively. The most-reported AEs by treatment group were neutropenia (70.5%), diarrhea (61.9%), and nausea (58.6%) in the sacituzumab govitecan group, and neutropenia (54.6%), nausea (34.9%), and fatigue (32.9%) in the TPC group.
The incidence of serious adverse events (SAEs) was 27.6% in the sacituzumab govitecan group compared with 19.3% in the TPC group. The most-reported SAEs were diarrhea (4.9%), febrile neutropenia (4.1%), and neutropenia (3.0%) in the sacituzumab govitecan group, and febrile neutropenia (4.0%), pneumonia (2.0%), nausea (2.0%), and dyspnea (1.6%) in the TPC group.
The incidence of AEs leading to study drug discontinuation was 6.3% in the sacituzumab govitecan; it was 4.4% in the TPC group. No trends in AEs leading to study drug discontinuation were identified in either group. AEs leading to study drug discontinuation that were reported for more than 1 patient were neutropenia, asthenia, and general physical health deterioration in the sacituzumab govitecan group, and thrombocytopenia and polyneuropathy in the TPC group.
Six patients (2.2%) in the sacituzumab govitecan group and 0 patients in the TPC group had AEs leading to death. One patient experienced an AE leading to death that was assessed by the investigator as treatment-related (i.e., septic shock due to neutropenic colitis with large intestine perforation). The AEs leading to death in the other 5 patients were assessed by the investigator as not related or unlikely to be related to sacituzumab govitecan. Upon detailed review of the AEs leading to death, no patterns were identified by the investigator regarding specific mechanism or etiology.
The most-reported AEs of grade 3 or higher were neutropenia (in 51.5% of sacituzumab govitecan patients and 39.0% of those treated with TPC), leukopenia (8.6% and 6.0%, respectively), infections (9.7% and 4.8%), diarrhea (10.1% and 1.2%), anemia (7.5% and 3.6%), febrile neutropenia (6.0% and 4.4%), fatigue (6.0% and 3.6%), neuropathies (2.6% and 3.6%), hypersensitivities (1.5% and 0.8%), and pulmonary events (0 and 0.4%).
Randomization methods in the TROPiCS-02 trial were appropriate. There was an imbalance in the proportion of patients who were randomized but not treated (1.5% versus 8.1% in the sacituzumab govitecan and TPC groups, respectively). The presence and extent of any bias that may have been introduced could not be determined because the baseline demographic and disease characteristics of these patients were unavailable. The clinical experts commented that most of the concomitant medications were likely for the management of AEs, and the imbalances in some of them likely reflected the different incidences of AEs related to the treatments; therefore, these were less likely to affect the effect estimates in the trial. The proportion of patients with no baseline images or postbaseline evaluable was higher in the TPC group (13.7%) than in the sacituzumab govitecan group (2.9%), mainly due to the imbalance in patients who were randomized but never treated. Furthermore, for ORR and CBR, the proportion of patients who were not evaluable was higher in the TPC group (18.8%) than in the sacituzumab govitecan group (5.5%), mainly due to the imbalance in patients who were randomized but never treated and to an imbalance across groups in the proportion of patients who withdrew consent. The reasons for patients being randomized but never treated were not reported. As such, it is not possible to determine whether the results would be biased, given that it is not known whether there were imbalances in the prognostic characteristics of these patients relative to those who were randomized and treated (or to those who did or did not withdraw consent). The TROPiCS-02 trial used an open-label study design, which could potentially increase the risk of bias due to deviations from the intended interventions and measurement of the outcomes, particularly for the outcomes that were subjective in nature, including the PROs (e.g., TTD in the self-reported domains of the EORTC QLQ-C30) and some AEs (e.g., nausea, rash, diarrhea, neuropathy, and fatigue). Response outcomes (i.e., PFS, ORR, CBR, and DoR) were assessed through BICR; therefore, the risk of bias was mitigated for the measurement of these outcomes. OS and some AEs (e.g., neutropenia, febrile neutropenia, leukopenia, anemia) were objective measures with standardized criteria and/or relied on objective clinical or laboratory examination. As such, the risk of bias in the measurement of these outcomes is low. For the 4 domains of the EORTC QLQ-C30, data were analyzed for approximately 80% of the total study population (i.e., those who had baseline scores with room for at least a 10-point deterioration among the HRQoL-evaluable population). The impact of the missing data are unclear. The TROPiCS-02 trial was powered on its primary outcome. The statistical tests were appropriate, using a hierarchical testing approach to control for type I error. The stratified Cox proportional-hazards model was used for the survival outcomes. Generally, multiplicity control appeared adequate. In the time-to-event analysis for PFS, OS, DoR (among 95 responders), and time to treatment discontinuation (|| || ||| observations were excluded from the analyses due to not receiving treatment), all the patients were included in evaluation regardless of event occurrence. In general, censoring was balanced between the groups for OS, PFS, DoR, and TTD outcomes.
According to the clinical expert, no major issues were identified with respect to the generalizability of the TROPiCS-02 trial; however, the patients who did not meet the inclusion and exclusion criteria might be eligible for treatment with sacituzumab govitecan in clinical practice in Canada (e.g., it is reasonable to include patients with ECOG PS 2 or brain metastases after treatment [for those metastases] and those who have not been treated with taxanes due to a medical contraindication).
For the pivotal studies and randomized controlled trials (RCTs) identified in the sponsor’s systematic review, Grading of Recommendations Assessment, Development, and Evaluation (GRADE) was used to assess the certainty of the evidence for the outcomes considered most relevant to inform CADTH’s expert committee deliberations, and a final certainty rating was determined as outlined by the GRADE working group.35,36 Following the GRADE approach, evidence from RCTs started as high-certainty evidence and could be rated down for concerns related to study limitations (which refer to internal validity or risk of bias), inconsistency across studies, indirectness, imprecision of effects, and publication bias.
The selection of outcomes for GRADE assessment was based on the sponsor’s Summary of Clinical Evidence, consultation with clinical experts, and input received from patient and clinician groups and public drug plans. The following list of outcomes was finalized in consultation with expert committee members: PFS, OS, ORR, CBR, DoR, EORTC QLQ-C30 (global health status/QoL, fatigue, pain, and diarrhea domains), time to treatment discontinuation, and AEs of grade 3 or higher, including diarrhea, neutropenia, febrile neutropenia, leukopenia, anemia, fatigue, infections, neuropathies, hypersensitivities, and pulmonary events.
When possible, certainty was rated in the context of the presence of an important (nontrivial) treatment effect; if this was not possible, certainty was rated in the context of the presence of any treatment effect (i.e., the clinical importance is unclear). In all cases, the target of the certainty of evidence assessment was based on the point estimate and where it was located relative to the threshold for a clinically important effect (when a threshold was available) or to the null. The target of the certainty of the evidence assessment was the presence or absence of any (non-null) effect for PFS, OS, ORR, CBR, DoR, EORTC QLQ-C30 (global health status/QoL, fatigue, pain, or diarrhea domains), time to treatment discontinuation, and AEs of grade 3 or higher, including diarrhea, neutropenia, febrile neutropenia, leukopenia, anemia, fatigue, infections, neuropathies, hypersensitivities, and pulmonary events, due to the lack of a formal minimal important difference (MID) estimate.
Table 2 presents the GRADE summary of findings for sacituzumab govitecan versus TPC in adult patients with unresectable, locally advanced or metastatic, HR-positive, HER2-negative BC who had received endocrine-based therapy and at least 2 additional systemic therapies in the metastatic setting.
Table 2: Summary of Findings for Sacituzumab Govitecan Versus TPC for Adult Patients With Unresectable, Locally Advanced or Metastatic, HR-Positive, HER2-Negative Breast Cancer
Outcome and follow-up | Patients (studies), N | Relative effect (95% CI) | Absolute effects (95% CI) | Certainty | What happens | ||
|---|---|---|---|---|---|---|---|
TPC | Sacituzumab govitecan | Difference | |||||
Progression-free survival (data cut-off date: January 3, 2022) | |||||||
PFS per BICR Follow-up, median:
| 543 (1 RCT) | PFS events (progression or death) at data cut-off date:
Median (95% CI) PFS at data cut-off date, months:
| Higha,b,c | Sacituzumab govitecan results in an increase in PFS compared with TPC. The clinical importance of the increase is uncertain. | |||
Overall survival (data cut-off date: July 1, 2022) | |||||||
OS per BICR Follow-up, median:
| 543 (1 RCT) | OS events (deaths) at data cut-off date:
Median (95% CI) OS at data cut-off date, months:
| Higha,b,c | Sacituzumab govitecan results in a clinically important increase in OS compared with TPC. | |||
Tumour response to treatment (data cut-off date: July 1, 2022) | |||||||
ORR (CR or PR) per BICR, % Follow-up, median:
| 536 (1 RCT) | OR = 1.625 (1.034 to 2.555) | 140 per 1,000 | 210 per 1,000 (163 to 263 per 1,000) | 70 more per 1,000 (NR) | Moderatea,b,d,e | Sacituzumab govitecan likely results in an increase in objective response rate compared with TPC. The clinical importance of the increase is uncertain. |
CBR (CR, PR, or stable disease ≥ 6 months) per BICR, % Follow-up, median:
| 536 (1 RCT) | OR = 1.796 (1.227 to 2.628) | 221 per 1,000 | 338 per 1,000 (282 to 398 per 1,000) | 117 more per 1,000 (NR) | Moderatea,b,d,e | Sacituzumab govitecan likely results in an increase in clinical benefit rate compared with TPC. The clinical importance of the increase is uncertain. |
DoR per BICR Follow-up, median:
| 95 (1 RCT) | DoR events at data cut-off date:
Median (95% CI) DoR at data cut-off date, months:
| Lowa,b,f | Sacituzumab govitecan may result in an increase in duration of response compared with TPC. The clinical importance of the increase is uncertain. | |||
HRQoL (data cut-off date: July 1, 2022) | |||||||
Time to deterioration in EORTC QLQ-C30 global health status/QoL domain (0 [worst] to 100 [best]), defined as having a ≥ 10-point deterioration from baseline Follow-up, median:
| 441 (1 RCT) | Deterioration events at data cut-off date:
Median (95% CI) time to deterioration at data cut-off date, months:
| Lowa,b,c,g | Sacituzumab govitecan may result in an increase in time to deterioration in the EORTC QLQ-C30 global health status/QoL domain compared with TPC. The clinical importance of the increase is uncertain. | |||
Time to deterioration in EORTC QLQ-C30 fatigue domain (0 [best] to 100 [worst]), defined as having a ≥ 10-point deterioration from baseline Follow-up, median:
| 439 (1 RCT) | Deterioration events at data cut-off date:
Median (95% CI) time to deterioration at data cut-off date, months:
| Lowa,b,c,h | Sacituzumab govitecan may result in an increase in time to deterioration in the EORTC QLQ-C30 fatigue domain compared with TPC. The clinical importance of the increase is uncertain. | |||
Time to deterioration in EORTC QLQ-C30 pain domain (0 [best] to 100 [worst]), defined as having a ≥ 10-point deterioration from baseline Follow-up, median:
| 431 (1 RCT) | Deterioration events at data cut-off date:
Median (95% CI) time to deterioration at data cut-off date, months:
| Very lowa,b,I,j | The evidence is very uncertain for the effect of sacituzumab govitecan on the EORTC QLQ-C30 pain domain compared with TPC. | |||
Time to deterioration in EORTC QLQ-C30 diarrhea domain (0 [best] to 100 [worst]), defined as having a ≥ 10-point deterioration from baseline Follow-up, median:
| 440 (1 RCT) | Deterioration events at data cut-off date: ||| ||| ||| |||||||||| ||| ||| |||||||||||||||| || |||| ||| | ||||| |||||| || ||||||| Median (95% CI) time to deterioration at data cut-off date, months:
| Lowa,b,c,k | Sacituzumab govitecan may result in a clinically important decrease in time to deterioration in the EORTC QLQ-C30 diarrhea domain compared with TPC. | |||
Treatment discontinuation (data cut-off date: December 1, 2022) | |||||||
Time to treatment discontinuationl Follow-up, median:
| 517 (1 RCT) | Treatment discontinuation events at data cut-off date: ||| ||| ||| |||||||||| ||| ||| |||||||||||||||| || |||| ||| | |||| ||||| || |||||| Median (95% CI) time to treatment discontinuation at data cut-off date, months:
| Higha,b,c | Sacituzumab govitecan results in an increase in time to treatment discontinuation compared with TPC. The clinical importance of the increase is uncertain. | |||
Harms (grade 3 or higher adverse events, data cut-off date: July 1, 2022) | |||||||
Diarrhea, n (%) Follow-up, median:
| 517 (1 RCT) | NR | 12 per 1,000 | 101 per 1,000 (NR) | 89 more per 1,000 (NR) | Lowa,b,m,n | Sacituzumab govitecan may result in an increase in neutropenia of grade 3 or higher compared with TPC. The clinical importance of the increase is uncertain. |
Neutropenia, n (%) Follow-up, median:
| 517 (1 RCT) | NR | 390 per 1,000 | 515 per 1,000 (NR) | 125 more per 1,000 (NR) | Moderatea,b,e,m | Sacituzumab govitecan likely results in an increase in neutropenia of grade 3 or higher compared with TPC. The clinical importance of the increase is uncertain. |
Febrile neutropenia, n (%) Follow-up, median:
| 517 (1 RCT) | NR | 44 per 1,000 | 60 per 1,000 (NR) | 16 more per 1,000 (NR) | Lowa,b,m,n | Sacituzumab govitecan may result in an increase in febrile neutropenia of grade 3 or higher compared with TPC. The clinical importance of the increase is uncertain. |
Leukopenia, n (%) Follow-up, median:
| 517 (1 RCT) | NR | 60 per 1,000 | 86 per 1,000 (NR) | 26 more per 1,000 | Lowa,b,m,n | Sacituzumab govitecan may result in an increase in leukopenia of grade 3 or higher compared with TPC. The clinical importance of the increase is uncertain. |
Anemia, n (%) Follow-up, median:
| 517 (1 RCT) | NR | 36 per 1,000 | 75 per 1,000 (NR) | 39 more per 1,000 | Lowa,b,m,n | Sacituzumab govitecan may result in an increase in anemia of grade 3 or higher compared with TPC. The clinical importance of the increase is uncertain. |
Fatigue, n (%) Follow-up, median:
| 517 (1 RCT) | NR | 36 per 1,000 | 60 per 1,000 (NR) | 24 more per 1,000 (NR) | Lowa,b,m,n | Sacituzumab govitecan may result in an increase in fatigue of grade 3 or higher compared with TPC. The clinical importance of the increase is uncertain. |
Infections, n (%) Follow-up, median:
| 517 (1 RCT) | NR | 48 per 1,000 | 97 per 1,000 (NR) | 49 more per 1,000 (NR) | Lowa,b,m,n | Sacituzumab govitecan may result in an increase in infections of grade 3 or higher compared with TPC. The clinical importance of the increase is uncertain. |
Neuropathies, n (%) Follow-up, median:
| 517 (1 RCT) | NR | 36 per 1,000 | 26 per 1,000 (NR) | 10 fewer per 1,000 (NR) | Lowa,b,m,n | Sacituzumab govitecan may result in little to no difference in neuropathies of grade 3 or higher compared with TPC. |
Hypersensitivities, n (%) Follow-up, median:
| 517 (1 RCT) | NR | 8 per 1,000 | 15 per 1,000 (NR) | 7 more per 1,000 (NR) | Lowa,b,m,n | Sacituzumab govitecan may result in little to no difference in hypersensitivities of grade 3 or higher compared with TPC. |
Pulmonary events, n (%) Follow-up, median:
| 517 (1 RCT) | NR | 4 per 1,000 | 0 | 4 fewer per 1,000 (NR) | Lowa,b,m,n | Sacituzumab govitecan may result in little to no difference in pulmonary events of grade 3 or higher compared with TPC. |
BICR = blinded independent central review; CBR = clinical benefit rate; CI = confidence interval; DoR = duration of response; ECOG = Eastern Cooperative Oncology Group; EORTC QLQ-C30 = European Organisation for Research and Treatment of Cancer Quality of Life Questionnaire Version 3.0; HER2 = human epidermal growth factor receptor 2; HR = hormone receptor; HRQoL = health-related quality of life; NR = not reported; OR = odds ratio; ORR = objective response rate; OS = overall survival; PFS = progression-free survival; QoL = quality of life; RCT = randomized controlled trial; SG = sacituzumab govitecan; TPC = treatment of physician’s choice.
Note: Study limitations (which refer to internal validity or risk of bias), inconsistency across studies, indirectness, imprecision of effects, and publication bias were considered when assessing the certainty of the evidence. All serious concerns in these domains that led to the rating down of the level of certainty are documented in the table footnotes.
aAlthough the CADTH review team noted that the proportion of patients with no baseline images or postbaseline evaluable was higher in the TPC group (37 patients; 13.7%) than in the SG group (8 patients; 2.9%), mainly due to “randomized but never treated” patients (4 patients [50.0% of patients with no baseline images or who were postbaseline evaluable] in the SG group and 21 patients [56.8%] in the TPC group), the certainty of evidence was not rated down because it was not known whether these patients differed in their prognostic characteristics compared with those who were evaluated; therefore, the presence and direction of potential bias on the effect estimate was uncertain.
bIndirectness was not rated down. Differences between the patients in the 1 RCT informing the evidence (i.e., patients with brain metastasis must have been stable for at least 4 weeks, with an ECOG Performance Status of 0 or 1, and must not have received a live vaccine within 30 days of randomization, among other inclusion and exclusion criteria) and the patients in clinical practice were noted, but not considered serious enough to result in important differences in the observed effect, according to the clinical experts consulted by CADTH. The TPC comparator was considered directly relevant to clinical practice in Canada by these clinical experts.
cImprecision was not rated down. In the absence of available data for the between-group difference in event probabilities at clinically relevant time points, the judgment of imprecision was based on the 95% CI for the hazard ratio using the null as the threshold. The clinical importance of the between-group difference was judged based on the difference in median time to event and the input of the clinical experts consulted by CADTH for the review.
dFor ORR and CBR, while the CADTH review team noted that the proportion of patients who were not evaluable was higher in the TPC group (51 patients; 18.8%) than in the SG group (15 patients; 5.5%), mainly due to patients who were “randomized but never treated” (4 patients [26.7% of those not evaluable] in the SG group and 22 patients [43.1%] in the TPC groups) and patients with “informed consent withdrawn” (3 patients [20.0% of those not evaluable] in the SG group and 14 patients [27.5%] in the TPC groups), the certainty of evidence was not rated down because whether these patients differed in prognostic characteristics compared with those who were evaluated was not known; therefore, the presence and effect of potential bias on the effect estimate was uncertain.
eRated down 1 level for serious imprecision due to the small number of events. The 95% CI of the absolute effect was not available.
fRated down 2 levels for very serious imprecision due to the small sample size. The 95% CI of the absolute effect was not available.
gRated down 2 levels for very serious risk of bias due to the open-label nature of the study and the subjective nature of the outcome. The impact of the missing outcome data (18.8% of the total patients) is unclear.
hRated down 2 levels for very serious risk bias of due to the open-label nature of the study and the subjective nature of the outcome. The impact of the missing outcome data (19.2% of the total patients) is unclear.
iRated down 2 levels for very serious risk bias of due to the open-label nature of the study and the subjective nature of the outcome. The impact of the missing outcome data (20.6% of the total patients) is unclear.
jRated down 1 level for serious imprecision. In the absence of available data for the between-group difference in event probabilities at clinically relevant time points, the judgment of imprecision was based on the 95% CI for the hazard ratio using the null as the threshold. The 95% CI of the hazard ratio included the “no effect” threshold of 1. The clinical importance of the between-group difference was judged based on the difference in median event rates and the input of the clinical experts consulted by CADTH for the review.
kRated down 2 levels for very serious risk bias of due to the open-label nature of the study and the subjective nature of the outcome. The impact of the missing outcome data (19.0% of the total patients) is unclear.
lThe analysis of time to treatment discontinuation was not prespecified by the sponsor; however, it was requested by CADTH for the purpose of the certainty of evidence appraisal.
mRisk of bias was not rated down. Possible subjectivity in the judgment of grade 3 or higher for these AE was noted, but was not considered serious enough to result in important differences in the observed effect, based on the assessment of the CADTH review team.
nRated down 2 levels for very serious imprecision due to the very small number of events. The 95% CI of the absolute effect was not available.
Sources: TROPiCS-02 Clinical Study Report (interim analysis 1);30 TROPiCS-02 Clinical Study Report (interim analysis 2);31 sponsor’s submissions.32,33
No long-term extension studies were identified for this review.
No studies with indirect evidence were identified for this review.
No studies addressing gaps in the pivotal and RCT evidence were identified for this review.
One phase III, multicentre, multinational, open-label, randomized trial (TROPiCS-02) compared sacituzumab govitecan with TPC in adult patients with unresectable, locally advanced or metastatic, HR-positive, HER2-negative BC who received endocrine-based therapy and at least 2 additional systemic therapies in the metastatic setting. Sacituzumab govitecan results in a clinically important increase in OS. Compared with TPC, sacituzumab govitecan results in an increase in PFS and time to treatment discontinuation; likely results in increases in ORR and CBR; and may result in increases in DoR and TTD in the EORTC QLQ-C30 domains of global health status/QoL and fatigue. The clinical importance of the increase in these outcomes is uncertain. Sacituzumab govitecan may result in a clinically important decrease in TTD in the EORTC QLQ-C30 diarrhea domain. The evidence is very uncertain about the effect on TTD in the EORTC QLQ-C30 pain domain compared with TPC. The evidence shows that sacituzumab govitecan likely results in an increase in neutropenia of grade 3 or higher and may result in an increase in grade 3 or higher diarrhea, febrile neutropenia, leukopenia, anemia, fatigue, and infections compared with TPC. The clinical importance of the increases in these outcomes is uncertain. Sacituzumab govitecan may result in little to no difference in neuropathies, hypersensitivities, and pulmonary events compared with TPC.
The objective of this report is to review and critically appraise the evidence submitted by the sponsor on the beneficial and harmful effects of sacituzumab govitecan, 10 mg/kg, administered as an IV infusion once weekly on days 1 and 8 of a 21-day treatment cycle for the treatment of adult patients with unresectable, locally advanced or metastatic, HR-positive, HER2-negative (IHC 0, IHC 1+, or IHC 2+, and ISH-negative) BC who have received endocrine-based therapy and at least 2 additional systemic therapies in the metastatic setting.
Contents within this section have been informed by materials submitted by the sponsor and by clinical expert input. The following information has been summarized and validated by the CADTH review team.
BC was the second most diagnosed cancer in Canada in 2022 and the most prevalent among females, with projected estimates of about 28,900 new cases in the overall population (about 28,600 in females and 270 in males).12 BC is a heterogeneous disease most often originating from epithelial cells lining the ducts, lobules, or other parts of breast tissue.1,2 Breast cancers are classified into subtypes based on the specific cell types affected, gene expression, and receptors expressed on the surface or inside of tumour cells. For instance, the presence or absence of the expression of HER2, ERs, or PRs affects the proliferation of the cancer cells and the prognosis, treatment response, and recurrence of cancers in patients with BC.2-4 HR-positive tumours have both ERs and PRs, are characterized as slow-growing and low grade, tending not to spread. However, they are known to recur over the years following treatment completion.5 HR-positive, HER2-negative BC subtypes are the most prevalent in Canada, accounting for more than 70% of all new cases. HR-positive, HER2-negative BC is defined according to criteria from the American Society of Clinical Oncology and the College of American Pathologists as a tumour having more than 1% IHC expression of ERs and/or PRs and a lack of HER2 expression (including HER2-low expression [i.e., an IHC score of 1+ or 2+, confirmed as negative by ISH] and an IHC score of 0).6-9 Identified risk factors include age, family history, germline gene mutations (BRCA1 and BRCA2 genes), hormone therapy, genetic conditions, reproductive history (including menstrual history), and radiation exposure to breast and/or chest.1,2 Signs and symptoms vary by disease stage and may include swelling in the surrounding lymph nodes, nipple changes (e.g., discharges), skin changes (e.g., erythema, skin ulcers, eczema), breast pain or heaviness, or other persistent changes in the breast.10,11
The 5-year prevalence of BC in females reported in Canada in 2018 was 110,955 patients,13 equating to a 5-year prevalence rate of 0.73%.14 About 82% of cases at initial diagnosis are stage I to II. Patients diagnosed at stage IV, or at metastatic stages, are known to have the poorest prognoses.37 A high proportion of patients diagnosed with early-stage BC will experience distant recurrence. Although the prognosis of HR-positive, HER2-negative BC is generally favourable when diagnosed early,2 the lifetime risk of developing distant metastases ranges from 22% to 52%, and the prognosis worsens with each subsequent line of systemic therapy administered.15 In 1 study conducted using data from the French Epidemiological Strategy and Economics population registry, the number of cases of relapse reported among newly diagnosed patients with HR-positive, HER2-negative mBC who had received first-line treatment from 2008 to 2016 was 71%.16 The 5-year probability of distant recurrence or death among patients diagnosed with early-stage disease, based on a meta-analysis by Salvo and colleagues (2021),17 was 17.2% (95% credible interval, 14.6% to 20.3%).17 Survival outcomes following progression on endocrine-based therapies diminish significantly with later lines of single-drug chemotherapy, with median PFS and OS estimated to be as low as 3 months and 7 months, respectively.18 HR-positive, HER2-negative mBC also negatively affects patient quality of life, given that the symptoms that manifest are due to progression of disease and treatments administered. Common symptoms reported include pain, fatigue, nausea, vomiting, cognitive problems, depression, hair loss, lymphedema, sleep disturbance, loss of appetite, anxiety, and sexual dysfunction.19-21
Diagnosis is based on the clinical presentation of lesions at mammographic screening, radiological imaging (such as ultrasound or CT), and/or physical examination.38,39 Disease staging follows the American Joint Committee on Cancer tumour, node, metastasis system.37 Tumour biopsy with pathology review and biomarker assessment (e.g., including HR and HER2 status) are completed for confirmatory diagnosis and to determine disease subtype and guide treatment decision-making.37,40 HR and HER2 status testing are routinely conducted at initial diagnosis,41 and IHC or fluorescence ISH testing are widely available across jurisdictions in Canada.40
Contents within this section have been informed by materials submitted by the sponsor and by clinical expert input. The following information has been summarized and validated by the CADTH review team.
The current treatment algorithm for HR-positive, HER2-negative mBC, based on the trial findings42 and treatment guidelines, including the CADTH Provisional Funding Algorithms,22 the US National Comprehensive Cancer Network guidelines,43 and the European Society for Medical Oncology guidelines,23,44 is shown in Figure 1. The treatment algorithm includes publicly funded treatments as well as treatments currently under review or negotiation for public funding. In this treatment algorithm, Lynparza (olaparib) (which was withdrawn from CADTH review) and Piqray (alpelisib) (which received a “do not reimburse” recommendation)45 are not included (Figure 1). In Canada, standard of care systemic treatment in the first-line setting is endocrine therapy in combination with a CDK4/6 inhibitor (i.e., Kisqali [ribociclib] or Ibrance [palbociclib]). The introduction of the CDK4/6 inhibitor Verzenio (abemaciclib) in the adjuvant setting may lead to additional sequencing considerations (Figure 1). Other first-line options include endocrine monotherapy, everolimus plus exemestane, and chemotherapy. For patients with suspected visceral crisis or who are unresponsive to endocrine therapy, chemotherapy may also be used to achieve initial adequate response, with follow-up endocrine therapy in combination with a CDK4/6 inhibitor.22 Following progression on first-line treatment with endocrine therapy and a CDK4/6 inhibitor, second-line options include endocrine monotherapy, chemotherapy, or everolimus with exemestane.22,23 For patients who received endocrine monotherapy in the first-line setting, second-line options include endocrine therapy in combination with a CDK4/6 inhibitor or chemotherapy.
According to the clinical experts consulted by CADTH, generally, therapy is offered to all genders. The clinical experts shared the treatment in clinical practice as follows. If adjuvant abemaciclib is not available, the first-line treatment is an AI with a CDK4/6 inhibitor. If the disease has progressed on adjuvant AI, fulvestrant may be used to replace the AI. The second line can include endocrine monotherapy, everolimus with exemestane, or chemotherapy. If a patient has previously been treated with a first-line AI, a CDK4/6 inhibitor is then given as the second line, with fulvestrant. If adjuvant abemaciclib is given, the first-line treatment is endocrine monotherapy, everolimus with exemestane, or chemotherapy. When chemotherapy is administered, clinicians usually try capecitabine first. However, if the disease relapses after 6 months to 12 months, a CDK4/6 inhibitor and palbociclib or ribociclib can be considered. If bone metastases occur, patients would also receive palliative bisphosphonates (e.g., zoledronic acid). Nondrug treatments include palliative radiation when needed for symptomatic lesions. Re-treatment usually would not be tried after progression for some therapies (for example, endocrine monotherapy with options of letrozole, anastrozole, exemestane, tamoxifen, and fulvestrant). For premenopausal patients, treatments also include luteinizing hormone-release hormone agonists (e.g., goserelin) or consideration of oophorectomy for ovarian function suppression.
Patients face limited treatment options with prolonged efficacy beyond the second line. There is no single standard of care with respect to which chemotherapy to recommend once patients have progressed on multiple lines of systemic therapy.23 Available options for single-drug chemotherapy include anthracyclines, taxanes, capecitabine, eribulin, vinorelbine, platinum complexes, and other drugs.23 The aligned input from the clinical experts consulted by CADTH regarding options for chemotherapy included capecitabine; paclitaxel; nab-paclitaxel; docetaxel; doxorubicin; epirubicin; vinorelbine; gemcitabine; eribulin; Adriamycin-Cytoxan; cyclophosphamide, methotrexate, and fluorouracil; gemcitabine and cisplatin; or gemcitabine and carboplatin. The sequencing and selection of chemotherapy is usually dependent on the patient’s beforexicities. Chemotherapy is associated with an unfavourable toxicity profile and poor survival outcomes.24-28
Enhertu (trastuzumab deruxtecan [T-DXd]) was recently approved by Health Canada for patients with HER2-low disease (i.e., IHC 1+ or IHC 2+ and ISH-negative) who have received at least 1 prior line of chemotherapy in the metastatic setting or who have developed disease recurrence during or within 6 months of completing adjuvant chemotherapy.46 Patients should also have received, and no longer be considered eligible for, endocrine therapy. Patients without HER2 expression (i.e., IHC 0) (who represent more than 1/3 of patients with HR-positive, HER2-negative mBC), are ineligible for T-DXd.47 T-DXd is expected to be introduced in second- and third-line metastatic settings, based on the approved indication, and it recently received a recommendation for reimbursement by CADTH “for the treatment of adult patients with unresectable or metastatic HER2-low BC if certain conditions are met.”48
Figure 1: Current Treatment Algorithm Diagram for HR-Positive, HER2-Negative mBC
AC = Adriamycin-Cytoxan; CDK4/6i = cyclin-dependent kinase 4 and 6 inhibitor; CMF = Cyclophosphamide-Methotrexate-Fluorouracil; ET = endocrine therapy; FAC = Fluorouracil-Adriamycin-Cytoxan; FEC = 5-Fluorouracil-epirubicin-cyclophosphamide; HER2 = human epidermal growth factor receptor 2; HR = hormone receptor; IHC = immunohistochemical score.
Note: CADTH recommended that trastuzumab deruxtecan (Enhertu) “be reimbursed by public drug plans for the treatment of adult patients with unresectable or metastatic HER2-low breast cancer if certain conditions are met” on June 29, 2023. The labelling for its reimbursement status is not updated in this figure.
a Abemaciclib in combination with ET received a recommendation for reimbursement from CADTH for the adjuvant treatment of patients with node-positive, early breast cancer at high risk of disease recurrence based on clinicopathological features and a Ki-67 score greater than or equal to 20%.
b ET options: Options in combination with a CDK4/6i include an AI (anastrozole or letrozole) or fulvestrant; monotherapy options are either anastrozole or letrozole, exemestane, tamoxifen, fulvestrant (re-treatment is not funded if disease progression occurred during any prior fulvestrant therapy); exemestane is used in combination with everolimus.
c Chemotherapy as first choice if visceral crisis is suspected or is not endocrine responsive; after adequate response, treatment with a CDK4/6i and ET.
d Chemotherapy options include capecitabine, docetaxel, paclitaxel, nab-paclitaxel, doxorubicin, epirubicin, vinorelbine, gemcitabine, eribulin, FEC, FAC, AC, gemcitabine with cisplatin, and CMF.
e Everolimus plus exemestane is under review for funding by provinces or cancer agencies based on the CADTH Provisional Funding Algorithms (2022).
f For patients with HER2-low disease (defined as a score of 1+ on IHC analysis or as an IHC score of 2+ and negative results on in situ hybridization) who received a prior chemotherapy in the metastatic setting or developed disease recurrence during or within greater than or equal to 6 months of completing adjuvant chemotherapy. Patients must also have received and be ineligible for ET.
Source: Sponsor’s submission.49
The treatment goal for patients with HR-positive, HER2-negative mBC is to improve survival while preserving HRQoL.23 Patients with HR-positive, HER2-negative mBC (de novo cases or those arising from relapse) face a poor prognosis that worsens with each line of systemic therapy.50 Once patients experience disease progression on standard of care endocrine-based therapies, remaining publicly reimbursed treatment options for the treatment of HR-positive, HER2-negative mBC are limited to single-drug chemotherapies.23 As patients cycle through multiple lines of chemotherapy, survival deteriorates. The clinical experts pointed out that the goals of treatment are to prolong life, delay disease progression, reduce the severity of symptoms, minimize adverse effects, improve HRQoL, maintain independence, increase ability to maintain employment, and reduce burden on caregivers.
Sacituzumab govitecan is a tumour-associated calcium signal transducer 2 (Trop-2)-directed antibody–drug conjugate composed of a humanized antibody that recognizes Trop-2 covalently linked to a topoisomerase I inhibitor, SN-38, through a hydrolysable linker (CL2A). Sacituzumab govitecan binds to Trop-2-expressing cancer cells and is internalized by the subsequent release of the SN-38 through hydrolysis of the linker.51 The SN-38 interacts with topoisomerase I, preventing the relegation of topoisomerase I-induced single strand breaks. The resulting DNA damage leads to apoptosis and cell death.51 Sacituzumab govitecan is recommended as a 10 mg/kg dose, administered as an IV infusion, once weekly on days 1 and 8 of 21-day treatment cycles. Treatment should continue until disease progression or unacceptable toxicity.
Sacituzumab govitecan underwent a priority review through Project Orbis at Health Canada and received a Notice of Compliance on July 19, 2023, for the treatment of adult patients with unresectable, locally advanced or metastatic, HR-positive, HER2-negative (IHC 0, IHC 1+, or IHC 2+, and ISH-negative) BC who have received endocrine-based therapy and at least 2 additional systemic therapies in the metastatic setting. The sponsor’s reimbursement request aligns with the Health Canada indication. Sacituzumab govitecan has been approved by the FDA for the same indication as the reimbursement request and is currently under review at the European Medicines Agency.
Sacituzumab govitecan has been previously reviewed by CADTH for other indications in the mBC setting (although different from the current reimbursement request).29 On February 11, 2022, a recommendation for reimbursement was issued for the treatment of adult patients with unresectable, locally advanced BC or mTNBC who have received 2 or more prior therapies, at least 1 of them for metastatic disease.29 The key characteristics of sacituzumab govitecan are summarized in Table 3 along with those of other treatments available for patients with locally advanced or metastatic, HR-positive, HER2-negative (IHC 0, IHC 1+, or IHC 2+, and ISH-negative) BC who have received endocrine-based therapy and at least 2 additional systemic therapies in the metastatic setting.
Table 3: Key Characteristics of Sacituzumab Govitecan, Capecitabine, Eribulin, and Vinorelbine
Characteristics | Sacituzumab govitecan | Capecitabine | Eribulin | Vinorelbine |
|---|---|---|---|---|
Mechanism of action | A Trop-2–directed antibody–drug conjugate that binds to Trop-2–expressing cancer cells and is internalized with the subsequent release of SN-38 through hydrolysis of the linker. SN-38 interacts with topoisomerase I and prevents relegation of topoisomerase I-induced single strand breaks. The resulting DNA damage leads to apoptosis and cell death. | Capecitabine is a tumour-activated, antineoplastic drug (antimetabolite) belonging to the novel fluoropyrimidine carbamate class. Capecitabine is selectively activated to the cytotoxic moiety, 5-fluorouracil, by thymidine phosphorylase in tumours. | Eribulin inhibits the growth phase of microtubule dynamics without affecting the shortening phase and sequesters tubulin into nonproductive aggregates. Eribulin exerts its anticancer effects through a tubulin-based antimitotic mechanism leading to G2/M cell-cycle block, disruption of mitotic spindles, and, ultimately, apoptotic cell death after prolonged and irreversible mitotic blockage. | The antitumour activity of vinorelbine is thought to be due primarily to the inhibition of mitosis at metaphase through its interaction with tubulin. Vinorelbine may also interfere with amino acid, cyclic AMP, and glutathione metabolism; calmodulin-dependent calcium ion-transport ATPase activity; cellular respiration; and nucleic acid and lipid biosynthesis. |
Indicationa | Treatment of adult patients with unresectable, locally advanced or metastatic, HR-positive, HER2-negative (IHC 0, IHC 1+, or IHC 2+, and ISH-negative) breast cancer who have received endocrine-based therapy and at least 2 additional systemic therapies in the metastatic setting. | Treatment of advanced or metastatic breast cancer after failure of standard therapy, including a taxane, unless therapy with a taxane is clinically contraindicated. | Treatment of patients with metastatic breast cancer who have previously received at least 2 chemotherapeutic regimens for the treatment of metastatic disease. Prior therapy should have included an anthracycline and a taxane administered in either the adjuvant or metastatic setting. | Treatment of patients with metastatic breast cancer for whom standard first-line chemotherapy for metastatic disease has failed. In addition, vinorelbine tartrate is indicated for the treatment of patients with metastatic breast cancer who have relapsed within 6 months of anthracycline-based adjuvant therapy. |
Route of administration | IV | Oral | IV | IV |
Recommended dosage | 10 mg/kg IV weekly on days 1 and 8 of 21-day treatment cycles | 1,250 mg/m2 administered twice dailyb (morning and evening; equivalent to 2,500 mg/m2 total daily dose) for 14 days followed by a 7-day rest period | 1.4 mg/m2 IV on days 1 and 8 of a 21-day cycle | 25 mg/m2 weekly |
Serious adverse effects or safety issues |
|
|
|
|
AMP = adenosine monophosphate; ATPase = adenosine triphosphate-hydrolyzing enzyme; G2/M = Gap 2/mitosis stages of cell cycle; HER2 = human epidermal growth factor receptor 2; HR = hormone receptor; IHC = immunohistochemistry; ISH = in situ hybridization; Trop-2 = tumour-associated calcium signal transducer 2.
aHealth Canada–approved indication.
bAccording to the clinical experts consulted by CADTH, in practice, most clinicians start with 1,000 mg/m2 twice daily, due to toxicity.
Source: Product monograph, Trodelvy;51 sponsor’s summary of findings.49
This section was prepared by the CADTH review team based on the input provided by patient groups. The full, original patient inputs received by CADTH have been included in the Stakeholder Perspectives section of this report.
CBCN, Rethink Breast Cancer, and BCC and MPSG submitted input for this review. CBCN is a leading, patient-directed, national health charity committed to ensuring the best quality of care for all people in Canada affected by BC. It promotes information, education, and advocacy activities. Rethink Breast Cancer is a charity in Canada known for making positive change by educating, empowering, and advocating for system changes to improve the experiences and outcomes of those with BC, focusing on historically underserved groups, such as people diagnosed at a younger age, those with mBC, and people systemically marginalized due to race, income, or other factors. BCC is a national organization in Canada focused on precision oncology BC research because it believes in building on progress in therapeutic outcomes that has already been made. MPSG is a charitable organization whose vision is to bring together the main players in BC clinical research to make research accessible to many patients. BCC and MPSG submitted their input jointly.
Information from the CBCN group was sourced from 3 online surveys: the 2022 Triple Negative Breast Cancer Patient Survey, 2017 Metastatic Breast Cancer Patient Survey, and 2012 Metastatic Breast Cancer Patient and Caregiver Survey Report. The CBCN 2022 Triple Negative Breast Cancer Patient Survey enrolled 981 patients living with BC, of whom 31 had metastatic, HR-positive, HER2-negative disease. The CBCN 2017 Metastatic Breast Cancer Patient Survey assessed 180 patients living with BC, of whom 38 had metastatic, HR-positive, HER2-negative disease. The CBCN 2012 Metastatic Breast Cancer Patient and Caregiver Survey Report was conducted in collaboration with Rethink Breast Cancer and distributed to patients with metastatic disease and caregivers. In total, 71 patients and 16 caregivers in the 2012 survey participated through membership and patient organizations. Input from 2 patients with triple-negative BC who had experience with sacituzumab govitecan for a different indication were interviewed in this survey. These patients discussed the side effects and social and financial impacts of using sacituzumab govitecan. Information submitted in the joint input from BCC and MPSG was sourced from a survey that ran from July 6 to 21, 2023, distributed through email to patients living with recurrent mBC and caregivers. In total, 171 responses were submitted. Patients with mTNBC who had received sacituzumab govitecan due to their similarities with heavily pretreated patients regardless of endocrine receptor and HER2-negative status were included in the survey. Eleven patients with prior experience with sacituzumab govitecan (recurrent HR-positive, HER2-negative mBC [n = 6] and prior authorized mTNBC [n = 5]) were identified and summarized. Information from Rethink Breast Cancer was sourced from meetings held with patients with BC, including a consultation with the Metastatic Breast Cancer Advisory Board conducted in July of 2023, an online survey with 78 patients living with mBC (which ran from September 2018 and April 2019), and a review of a survey conducted in July 2021 that included 20 respondents who had received sacituzumab govitecan. One patient diagnosed with ER-positive, HER2-negative mBC and 2 patients diagnosed with mTNBC who had received sacituzumab govitecan were interviewed in the Rethink Breast Cancer input.
The 3 groups highlighted that metastatic disease poses a significant or debilitating impact on patients’ quality of life. Rethink Breast Cancer stated that BC significantly affects younger patients, especially those diagnosed in their twenties, thirties, and early forties, who face age-specific issues like fertility or family-planning challenges, diagnosis during pregnancy, child care complications, impacts on relationships, body image issues, dating and sexuality issues, feelings of isolation from peers who do not have cancer, career hiatuses, and financial insecurity. CBCN further emphasized that mBC restricts patients’ employment and careers, ability to care for children and dependents, and ability to be social and participate meaningfully in their communities. The joint input from BCC and MPSG added that chronic, long-term cancer also poses a significant financial burden on patients and caregivers in Canada, given that the majority of patients with mBC lack private third-party insurance and have to pay out of pocket, leaving them and their caregivers in financial debt.
CBCN highlighted that current treatment goals for patients with mBC include controlling the progression of the disease (i.e., extending life) and reducing cancer-related symptoms (i.e., extending or stabilizing quality of life). The organization added that patients have limited targeted treatment options, poor prognoses, and poor survival outcomes. Respondents to its 2017 survey highlighted that key factors that influenced their decisions around treatment choice included cost, accessibility, effectiveness, side effects, and ability to prolong quality of life. In the CBCN 2012 and 2017 surveys, patients with mBC also expressed the need for personal choice and autonomy in choosing treatments. Rethink Breast Cancer added that patients are aware that later-line therapies are not easy to tolerate; however, patients seek treatments that will extend their lives.
All 3 groups expressed a desire for new options that control disease and extend the lives of patients living with mBC. CBCN highlighted that current treatments for mBC are only effective in prolonging progression-free disease, and in most cases of advanced metastasis, the disease will progress, leading symptoms to worsen. They further highlighted that the level of HER2 proteins in HR-positive, HER2-negative patients is not high enough for HER2-targeted therapies to be effective. Hormone therapy is available; however, these therapies lose their effectiveness over time, and patients then have to rely on systemic treatments (chemotherapy), which are less effective and have greater side effects. The joint input from BCC and MPSG highlighted similar concerns, stating that beyond 2 or more lines of systemic therapy, there is a significant unmet need for advancement in precision chemotherapeutics and targeted therapies to improve disease control, not to mention a financial burden incurred in managing BC over long periods. There is an unmet need for treatments in later lines due to the multirefractory drug experience of patients in the metastatic setting. Rethink Breast Cancer highlighted similar limitations, stating that the options available to patients with progressed disease after the second line are limited to standard chemotherapy and that PFS decreases substantially with later lines of therapy. According to CBCN, the availability of additional treatment options that can delay disease progression, relieve cancer-related symptoms, and improve a patient’s quality of life will significantly affect patients in this setting.
Overall, patients reported manageable side effects and positive and meaningful experiences after receiving the treatment. Fifty-five percent to 66% of respondents interviewed in the joint BCC and MPSG input reported that sacituzumab govitecan had “quite a bit” of impact or “very much” impact on their quality of life while taking the therapy (depending on their endocrine status). One patient in the Rethink Breast Cancer who had ER-positive, HER2-negative mBC reported experiencing tumour shrinkage in their liver following 3 treatments with sacituzumab govitecan. Commonly reported side effects included hair loss, nausea, fatigue, diarrhea, rash, and headache. All respondents reported that they experienced benefits from receiving sacituzumab govitecan and would recommend the drug to other patients.
All CADTH review teams include at least 1 clinical specialist with expertise regarding the diagnosis and management of the condition for which the drug is indicated. Clinical experts are a critical part of the review team and are involved in all phases of the review process (e.g., providing guidance on the development of the review protocol, assisting in the critical appraisal of clinical evidence, interpreting the clinical relevance of the results, and providing guidance on the potential place in therapy). The following input was provided by 2 clinical specialists with expertise in the diagnosis and management of BC.
The clinical experts consulted by CADTH pointed out that despite the treatment options, there are multiple unmet needs: not all patients respond to available treatments; patients become refractory to current treatment options; no treatments are available to reverse the course of disease; treatments are needed that are better tolerated once patients move past endocrine therapy; and formulations are needed to improve convenience (because many later lines are administered through IV and require frequent hospital visits).
The clinical experts indicated that sacituzumab govitecan would fit into the current treatment paradigm for patients who have received prior endocrine-based therapy, including CDK 4/6 inhibitors and 2 to 4 prior chemotherapy regimens in the metastatic setting; (neo)adjuvant therapy for early-stage disease qualified as 1 of the required prior chemotherapy regimens if the development of unresectable, locally advanced, or metastatic disease occurred within 12 months of therapy (i.e., early relapse). The clinical experts emphasized that patients must have previously received at least 1 taxane to be considered for treatment with sacituzumab govitecan.
The clinical experts noted that patients who are similar to those enrolled in the TROPiCS-02 trial are most likely to respond to treatment with sacituzumab govitecan — that is, patients with or without visceral metastases. (In real-world practice, patients should have an ECOG PS of 0 to 2 and an expected survival duration of longer than 3 months; those with brain metastasis should have stable brain lesions for at least 4 weeks.) According to the clinical experts, patients suitable for treatment with sacituzumab govitecan would be identified by the primary treating physician based on tissue diagnosis, clinical examination (performance status), judgment of suitability, and confirmation of clinical and/or radiographic disease progression after the preceding lines of therapy. The clinical experts indicated that companion diagnostics are not required and that underdiagnosis is not likely, given that this is a later-line study.
The clinical experts pointed out that treatment responses in clinical practice are determined through periodic clinical assessments (at every clinical visit) as well as through serial biochemical and radiographic assessments, and are based on symptoms, laboratory markers, and radiographic scans and tumour measurements, with scans usually performed at least every 3 months initially (i.e., 1 staging scan). According to the clinical experts consulted by CADTH, treatment is continued if disease is either stable or responding, based on Response Evaluation Criteria in Solid Tumours Version 1.1 (RECIST 1.1) criteria radiographically; meaningful responses include improved survival, reduction in the frequency and/or severity of symptoms (e.g., pain and dyspnea), attainment of major motor milestones, ability to perform activities of daily living, improvement or stabilization (i.e., no deterioration) in symptoms, improved organ function (e.g., bone, liver, and lung), maintenance or improvement of performance status, and tumour radiographic response, with either stabilization of disease or response as assessed using the RECIST 1.1 criteria.
According to the clinical experts consulted by CADTH, the factors to be considered when deciding whether a patient should discontinue treatment with sacituzumab govitecan include disease progression, intolerable or dangerous toxicity (especially uncontrolled grade 3 or 4 diarrhea), and patient preference or refusal.
The clinical experts indicated that treatment with sacituzumab govitecan should be in a hospital setting or specialty clinic that has the staff and expertise (e.g., chemotherapy nurses, oncology pharmacists) to administer systemic therapy, monitor the patient, and manage treatment-related toxicities.
This section was prepared by the CADTH review team based on the input provided by clinician groups. The full original clinician group inputs received by CADTH have been included in the Stakeholder Perspectives section of this report.
Two clinician groups, the medical oncologists of the Saskatoon Cancer Centre and the OH-CCO Breast Cancer DAC, provided input for this review. The Saskatoon Cancer Centre group is composed of medical oncologists who treat breast malignancies under the Saskatchewan Cancer Agency. The OH-CCO’s cancer DAC provide timely evidence-based clinical and health system guidance on drug-related issues in support of the OH-CCO’s mandate, including the Provincial Drug Reimbursement Programs and the Systemic Treatment Program. Input from the Saskatchewan Cancer Agency was sourced from discussions held at multidisciplinary rounds and educational sessions and through email communications. Input from the OH-CCO cancer DAC was gathered through videoconferencing.
The most important treatment goals highlighted by both groups were to prolong life, improve PFS, improve OS rates, delay disease progression, maintain quality of life, minimize treatment-related toxicities, and manage disease-related symptoms effectively. The Saskatoon Cancer Centre group highlighted that ideal treatments should have the capacity to be individualized according to patients’ characteristics and preferences, to be used long-term, and to be well tolerated and convenient. Unmet needs highlighted by the Saskatoon Cancer Centre group included the availability of options for refractory patients, the availability of effective treatments for patients who progress to advanced disease, and availability of better-tolerated treatments with reduced toxicity and side effects. The OH-CCO cancer DAC noted that although patients considered ER-low (i.e., ER = 1% to 10%) would typically not be prescribed endocrine therapy, these patients should still be considered for sacituzumab govitecan.
The Saskatoon Cancer Centre group indicated that current treatment paradigms for metastatic, HR-positive BC include a combination of drug and nondrug therapies. The group added that CDK4/6 inhibitors with an AI are used in the first line, while second-line and subsequent options available to patients with known progressions include endocrine therapy (fulvestrant, tamoxifen), chemotherapy (capecitabine, paclitaxel), targeted therapy (alpelisib for PIK3CA mutation, olaparib for germline BRCA mutation), or clinical trial drugs (for eligible patients). The group noted that there is no consensus on ideal treatment sequencing for patients in the second line and beyond. Nondrug options outlined included radiation therapy, surgery, and palliative care. The group added that olaparib and T-DXd are available only through special access programs. The Saskatoon Cancer Centre group expressed the need for more effective treatments that overcome resistance mechanisms, minimize adverse effects, and provide better outcomes for patients in the metastatic setting because these patients have developed resistance to current options, especially to endocrine and chemotherapies, leading to disease progression and limited treatment options. Both groups highlighted that sacituzumab govitecan will be a valuable option for later lines (third line and beyond) for patients who have exhausted other options. The patients best suited for treatment with sacituzumab govitecan will be those who have undergone prior endocrine therapy and multiple lines of chemotherapy, as indicated; this is similar to the inclusion criteria of the trial, according to both groups. The OH-CCO cancer DAC added that ideally, eligible patients should have received an endocrine therapy; however, patients should not be required to have had a prior CDK4/6 inhibitor before initiating sacituzumab govitecan because some patients are intolerant to CDK 4/6 inhibitors. Patients with poor performance status and those who have not received at least 2 lines of prior chemotherapy are less suitable to receive treatment, according to the clinician groups.
Both groups highlighted that the end points assessed in the trial, such as OS, ORR, CBR, DoR, PFS, PROs, and safety, are clinically meaningful and will be used to assess treatment effectiveness in practice. The Saskatoon Cancer Centre group pointed out that there is no requirement for a companion diagnostic test or specific biomarker testing to predict responses to treatment for patients. Patients will typically be assessed during every cycle of treatment for toxicity, according to the OH-CCO cancer DAC. Sacituzumab govitecan will be discontinued if there is any evidence of disease progression upon radiographic imaging (i.e., tumour growth or new lesions), unacceptable toxicity, undue toxicity, or patient preference, according both groups. Sacituzumab govitecan is best administered under the guidance of a medical oncologist in an outpatient oncology clinic or in settings with clinicians who have expertise administering systemic therapy to patients with advanced disease.
The drug programs provide input on each drug being reviewed through CADTH’s Reimbursement Review processes by identifying issues that may affect their ability to implement a recommendation. The implementation questions and corresponding responses from the clinical experts consulted by CADTH are summarized in Table 4.
Table 4: Summary of Drug Plan Input and Clinical Expert Response
Drug program implementation questions | Clinical expert response |
|---|---|
Relevant comparators | |
Issues with the choice of comparator in the submitted trial Comparators in the TROPiCS-02 trial included single-drug chemotherapy of physician’s choice: capecitabine, eribulin, vinorelbine, gemcitabine. These are relevant comparators. Other comparators depend on what prior therapies were administered for early and recurrent disease and could include anthracycline- and taxane-based regimens. In addition, trastuzumab deruxtecan used in later lines may be a relevant comparator for HER2-low patients. | The clinical experts agreed with the statement. The clinical experts pointed out that there are no data available on trastuzumab deruxtecan when used as a comparator to sacituzumab govitecan; therefore, it is uncertain whether the outcomes would be similar if this was a comparator arm. |
Considerations for initiation of therapy | |
Disease diagnosis, scoring, or staging for eligibility The trial inclusion criteria required at least 2 but no more than 4 prior systemic chemotherapy regimens for metastatic disease. (Neo)adjuvant therapy for early-stage disease can be considered as 1 of the required prior chemotherapy regimens if unresectable, locally advanced or metastatic disease occurs within 12 months of therapy. Should patients who are considered ER-low or PR-low (IHC 1% to 10%), who may be considered “functionally hormone-receptor negative,” be eligible? | The experts noted that these patients were included in the study because the inclusion criteria were “HR-positive (a tumour is considered HR-positive if at least 1% of the cells examined have estrogen and/or progesterone receptors).” In real-world practice, HR-low breast cancer is likely to behave like HR-negative breast cancers. Sacituzumab govitecan is already approved for the treatment of adult patients with unresectable, locally advanced or metastatic, triple-negative breast cancer. The clinical experts indicated that if the sample for HR-positive in mBC is < 10%, then patients with ER-low positive breast cancers would be viewed as eligible by the clinical experts (as in the study). Otherwise, the clinical experts would be concerned about inadvertently excluding patients with IHC 1% to 10% positive even though biologically, they would be expected to benefit. |
Prior therapies required for eligibility Prior endocrine therapy and at least 2 lines of therapy for metastatic disease were eligibility criteria. Does endocrine therapy need to be administered in the metastatic setting as part of the 2 lines of therapy in order for a patient to be eligible for sacituzumab govitecan? | According to the clinical experts consulted by CADTH, endocrine therapy does not need have been administered in the metastatic setting as part of the lines of therapy in order for a patient to be eligible for sacituzumab govitecan. However, patients who have not received endocrine therapy in the metastatic setting need to have been exposed to endocrine therapy in the adjuvant setting. As per the patient eligibility criteria in TROPiCS-02, the patient needs to have received prior endocrine therapy and a CDK4/6 inhibitor in any setting, and at least 2 additional systemic chemotherapies in the metastatic setting. A patient who rapidly progresses on adjuvant CDK4/6 inhibitors should not be excluded from consideration for sacituzumab govitecan. The clinical experts indicated that the exception may be patients who are considered HR-low, in whom clinicians suspect that the response to endocrine therapy and a CDK4/6 inhibitor will be low. The clinical experts believed that it may be reasonable for these patients to receive only chemotherapy. |
Should the following patients be considered for sacituzumab govitecan?
| The clinical experts noted that they would consider patients with an ECOG PS of 2 for treatment with sacituzumab govitecan, but not those with an ECOG PS of 3 or 4. |
Considerations for discontinuation of therapy | |
Definition of loss of response, absence of clinical benefit, or disease progression In the trial, sacituzumab govitecan could be continued beyond the initial RECIST 1.1 progression if the investigator believed that the patient was still receiving a clinical benefit and was clinically stable and tolerating the drug. What should the discontinuation criteria be? | The experts indicated that the discontinuation criteria for sacituzumab govitecan include progression (as per RECIST 1.1 criteria) on scan, clinical deterioration, unacceptable toxicities, or treatment withdrawal by the patient. |
Considerations for prescribing of therapy | |
Dosing, schedule and/or frequency, and dose intensity Sacituzumab govitecan dosage is 10 mg/kg on days 1 and 8 every 21 days. The preparation of sacituzumab govitecan is labour-intensive for pharmacy staff. It requires multiple vial reconstitutions per dose, the need to swirl vials for up to 15 minutes to dissolve powder, and volume adjustments for final product concentration. Compared to other chemotherapy options used in the TROPiCS-02 trial, sacituzumab govitecan requires the longest compounding time for pharmacy staff. | For consideration by pERC. The clinical experts agreed with the suggested considerations. The experts pointed out that this may also affect satellite administration sites that may not be able to accommodate all patient requests. |
Drug administration Compared to other chemotherapy options used in the TROPiCS-02 trial, sacituzumab govitecan requires the longest infusion times for treatment rooms and patients. | For consideration by pERC. The clinical experts agree with the considerations. |
Generalizability | |
Patients on active treatment with a time-limited opportunity to switch to the drugs under review Is there a time-limited need to consider patients who may not have received a prior CDK4/6 inhibitor and are no longer eligible for it? | The experts pointed out that, although this population is likely small, there may be patients who previously progressed on endocrine therapy and were not able to access CKD4/6 inhibitors before they became covered, and are currently on chemotherapy. Ideally, if these patients are well enough, they can be considered for sacituzumab govitecan. According to the experts, consideration should also be given to patients who could not tolerate a CDK4/6 inhibitor or were not able to take one due to medical contraindications. These individuals should not be excluded from consideration for sacituzumab govitecan if they are otherwise fit to receive it. |
Funding algorithm (oncology only) | |
Drug may change the place in therapy of comparator drugs | For consideration by pERC. No clinical expert response required. |
Drug may change the place in therapy of drugs reimbursed in previous lines | |
Drug may change the place in therapy of drugs reimbursed in subsequent lines | |
Complex therapeutic space with multiple lines of therapy, subpopulations, or competing products | |
Care provision issues | |
Drug preparation, storage, administration, or dispensing The preparation of sacituzumab govitecan is labour-intensive for pharmacy staff. It requires multiple vial reconstitutions per dose, the need to swirl vials for up to 15 minutes to dissolve powder, and volume adjustments for final product concentration. Compared to other chemotherapy options used in the TROPiCS-02 trial, sacituzumab govitecan requires the longest compounding time for pharmacy staff. | For consideration by pERC. No clinical expert response required. |
Other care provision issues Drug wastage is likely, as the dosing is 10 mg/kg on days 1 and 8, every 21 days, and the vial size is 180 mg. | For consideration by pERC. No clinical expert response required. |
System and economic issues | |
Concerns regarding the anticipated budget impact and sustainability Budget impact seems to assume that use will be mainly in the fourth-line setting. | For consideration by pERC. No clinical expert response required. |
Additional costs to be considered (other than related to care provision, as detailed previously) Significant relative increases for chair time, patient and caregiver time at treatment centres, and pharmacy and nursing resources will be required to administer and prepare sacituzumab govitecan vs. current comparators in this patient population. | For consideration by pERC. No clinical expert response required. |
Presence of confidential negotiated prices for comparators Comparators used in the TROPiCS-02 trial are either generic and/or have confidential prices. | For consideration by pERC. No clinical expert response required. |
CDK4/6 = cyclin-dependent kinase 4 and 6; ECOG PS = Eastern Cooperative Oncology Group Performance Status; ER = estrogen receptor; HR = hormone receptor; IHC = immunohistochemistry; mBC = metastatic breast cancer; pERC = CADTH pan-Canadian Oncology Drug Review Expert Review Committee; PR = progesterone receptor; RECIST 1.1 = Response Evaluation Criteria in Solic Tumours Version 1.1.
The objective of CADTH’s Clinical Review Report is to review and critically appraise the clinical evidence submitted by the sponsor on the beneficial and harmful effects of sacituzumab govitecan 180 mg lyophilized powder for solution for injection, for IV use in the treatment of adult patients with unresectable, locally advanced or metastatic, HR-positive, HER2-negative (IHC 0, IHC 1+, or IHC 2, and ISH-negative) BC who have received endocrine-based therapy and at least 2 additional systemic therapies in the metastatic setting. The focus will be on comparing sacituzumab govitecan to relevant comparators and identifying gaps in the current evidence.
A summary of the clinical evidence included by the sponsor in the review of sacituzumab govitecan is presented in 4 sections, with CADTH’s critical appraisal of the evidence included at the end of each. The first section, the systematic review, includes pivotal studies and RCTs that were selected according to the sponsor’s systematic review protocol. CADTH’s assessment of the certainty of the evidence in this first section using the GRADE approach follows the critical appraisal of the evidence. The second section would include sponsor-submitted long-term extension studies. The third section would include indirect evidence from the sponsor. The fourth section would include additional studies that were considered by the sponsor to address important gaps in the systematic review evidence. There were no long-term extension studies (Section 2), indirect evidence (Section 3), or additional studies (Section 4) submitted by the sponsor.
The clinical evidence included in the CADTH review and appraised in this document is from 1 pivotal study (phase III RCT) identified in systematic review.
The contents of this section have been informed by materials submitted by the sponsor. The following information has been summarized and validated by the CADTH review team.
Characteristics of the included study are summarized in Table 5.
Table 5: Details of Study Included in the Systematic Review
Detail | TROPiCS-02 |
|---|---|
Designs and populations | |
Study design | Phase III, open-label, multicentre randomized controlled trial |
Locations | 91 sites in 9 countries in North America and Europe: Belgium, Canada, France, Germany, Italy, Spain, the Netherlands, UK, and US |
Patient enrolment dates | Start date:
End date:
|
Data cut-off dates |
|
Randomized (N) | Total N = 543 Sacituzumab govitecan = 272 TPC = 271 |
Key inclusion criteria |
|
Key exclusion criteria |
|
Drugs | |
Intervention | Sacituzumab govitecan, 10 mg/kg, administered as an IV infusion on days 1 and 8 of a 21-day treatment cycle |
Comparators | TPC with 1 of the following 4 choices:
|
Study duration | |
Screening phase | 4 weeks (day –28 to day –3 before the first dose of study drug) |
Treatment phase | Until progression requiring discontinuation of further treatment, unacceptable toxicity, study withdrawal, or death, whichever came first |
Follow-up phase | Until study withdrawal, death, or data cut-off, whichever came first. The overall duration of the study is expected to be 52 months. |
Outcomes | |
Primary end point | PFS by BICR, defined as the time from the date of randomization to the first observation of documented disease progression based on RECIST 1.1 or death due to any cause, whichever came first |
Secondary and exploratory end points | Secondary:
Exploratory:
Safety:
|
Publication status | |
Publications | Tolaney et al. (2023)52 [abstract/presentation for the final, exploratory, OS analysis (FA)] Rugo et al. (2022)53 [publication for the final per protocol PFS analysis at IA1] Rugo et al. (2020)54 [publication summarizing trial design] Clinicaltrials.gov Identifier: NCT03901339 |
AE = adverse event; BICR = blinded independent central review; CBR = clinical benefit rate; CDK4/6 = cyclin-dependent kinase 4 and 6; CNS = central nervous system; CR = complete response; DoR = duration of response; CTCAE = Common Terminology Criteria for Adverse Events; ECOG PS = Eastern Cooperative Oncology Group Performance Status; EORTC QLQ-C30 = European Organisation for Research and Treatment of Cancer Quality of Life Questionnaire Version 3.0; EQ-5D-5L = 5-Level EQ-5D; FA = final analysis; HR = hormone receptor; HER2 = human epidermal growth factor receptor 2; HRQoL = health-related quality of life; LIR = local investigator review; IA1 = interim analysis 1; IA2 = interim analysis 2; MedDRA = Medical Dictionary for Regulatory Activities; NCI = National Cancer Institute; ORR = objective response rate; OS = overall survival; PFS = progression-free survival; PR = partial response; PRO = patient-reported outcome; QoL = quality of life; RECIST 1.1 = Response Evaluation Criteria in Solid Tumours Version 1.1; TPC = treatment of physician’s choice; TTD = time to deterioration.
Note: Four additional reports were included: Rugo et al. (2020);54 Rugo et al. (2022);53 Rugo et al. (2023);55 Tolaney et al. (2023).52
Source: TROPiCS-02 Clinical Study Report (interim analysis 1);30 TROPiCS-02 Clinical Study Report (interim analysis 2).31
One pivotal, multicentre, multinational, open-label, randomized phase III trial (TROPiCS-02) met the inclusion criteria for the sponsor’s systemic review, in which a total of 91 sites randomized 543 patients (Table 5). TROPiCS-02 investigated the efficacy and safety of sacituzumab govitecan compared with a TPC chemotherapy in patients with HR-positive, HER2-negative mBC (Figure 2).30,31,53 Patient enrolment took place from May 30, 2019 to April 5, 2021. The primary (final) analysis for PFS and the first planned interim superiority analysis for OS (IA1) were conducted with a data cut-off date of January 3, 2022. The second planned interim analysis of OS, disease progression-related outcomes, and PROs (IA2) was conducted with a data cut-off date of July 1, 2022. Because statistical significance of OS was demonstrated at IA2, this was considered the final analysis of OS. A third, exploratory analysis of PFS and OS had a data cut-off date of December 1, 2022. The main body of this report presents data from the TROPiCS-02 trial as per the statistical analysis plan: PFS at IA1, and OS along with the other secondary outcomes at IA2. The exploratory PFS and OS results at the third analysis cut-off date are also presented.
Using an interactive, web-based response system,56 patients were randomized 1 to 1 to receive either sacituzumab govitecan (N = 272) or TPC, determined before randomization (N = 271; 48% eribulin, 23% vinorelbine, 21% gemcitabine, and 8% capecitabine). Randomization was stratified by the presence of visceral metastases (yes or no), endocrine therapy in the metastatic setting (yes or no), and the number of prior lines of chemotherapy (2 versus 3 or 4). Patients were treated until progression requiring discontinuation of further treatment, unacceptable toxicity, study withdrawal, or death.53 Treatment was allowed beyond progression if judged clinically beneficial by investigators.31 The follow-up period began the day after the end-of-treatment visit, which occurred 30 days after the last dose of the study drug. Patients were to be followed for survival and initiation of subsequent anticancer therapy. Patients who entered the follow-up period due to disease progression were treated in accordance with the local standard of care. Patients who entered the follow-up period before disease progression continued to undergo tumour assessments until documented disease progression or the initiation of subsequent anticancer therapy.
Figure 2: Study Design for the TROPiCS-02 Trial
ASCO = American Society of Clinical Oncology; BICR = blinded independent central review; CAP = College of American Pathologists; CBR = clinical benefit rate; CDK 4/6 = cyclin-dependent kinase 4 and 6; DoR = duration of response; HER2– = human epidermal growth factor receptor 2–negative; HR+ = hormonal receptor-positive; LIR = local investigator review; ORR = objective response rate; OS = overall survival; PFS = progression-free survival; PRO = patient-reported outcome; RECIST 1.1 = Response Evaluation Criteria in Solid Tumours Version 1.1; vs. = versus.
a Disease histology based on the ASCO and CAP criteria.
b Single-drug standard of care TPC was specified before randomization by the investigator.
Source: Sponsor’s submission.52
The TROPiCS-02 trial included adult patients who had histologically confirmed, locally measurable, HR-positive, HER2-negative mBC and had received 2 to 4 prior systemic chemotherapy regimens for advanced BC. “(Neo)adjuvant therapy for early-stage disease qualified as 1 of the required prior chemotherapy regimens if the development of unresectable, locally advanced, or metastatic disease occurred within 12 months of therapy (early relapse).”53 To be eligible, patients must have been previously treated with at least 1 CDK4/6 inhibitor, at least 1 anticancer hormonal treatment, and at least 1 taxane, which reflects standard practice in patient management, according to the sponsor (Table 5).30,53,56 Among patients with a history of brain metastasis, the metastasis must have been stable for at least 4 weeks and target lesions could not be from the brain. Patients with active central nervous system metastases were excluded. Patients had to have an ECOG PS of 0 or 1.
In the TROPiCS-02 trial, patients in both groups received study treatments until death, defined progressive disease requiring discontinuation of further treatment (as defined by RECIST 1.1), unacceptable toxicity, or study withdrawal. Treatment was allowed beyond progression if judged clinically beneficial by investigators.30,31,53,56
Sacituzumab govitecan 10 mg/kg was administered as a slow IV infusion on days 1 and 8 of 21-day treatment cycles. The dose was based on the patient’s body weight on day 1 of each cycle (or at each dosing day if the change in body weight was greater than 10% from the last measurement or if required by institutional policy). The initial infusion time was 3 hours. Subsequent infusions were administered over 3 hours (or over 1 to 2 hours if vital signs remained stable and no infusion reactions occurred). Dose modifications for changes in body weight of greater than or equal to 10% could be made, according to local institutional guidelines.31,56
Visit windows of plus or minus 2 days from the scheduled infusion were permitted. Scheduled day 1 dosing could be delayed for up to 1 week for treatment-related toxicities. Day 8 dosing could be delayed for up to 1 week for treatment-related toxicities; however, if the toxicity did not resolve to grade 2 or lower within 1 week of day 8, then the scheduled day 8 dosing could be cancelled, and dosing was to resume with day 1 of the following cycle. There was a minimum of 14 days and a maximum of 21 days between the day 8 infusion and the day 1 infusion of the next cycle. No other treatment interruptions were permitted. The major toxicities of sacituzumab govitecan were expected to be gastrointestinal symptoms and hematologic suppression. Sacituzumab govitecan dose reductions and interruptions were managed based on toxicity severity as assessed by Version 5.0 of the National Cancer Institute Common Terminology for Adverse Events.57 The sacituzumab govitecan dose must not have been re-escalated following a dose reduction.31,56
TPC was a single-drug treatment that was determined by the investigator before randomization from 1 of the 4 following choices:
eribulin (1.4 mg/m2 for North American sites, 1.23 mg/m2 for European sites, or per institution) administered through IV on days 1 and 8 of a 21-day cycle
capecitabine (1,000 mg/m2 to 1,250 mg/m2) administered orally twice daily for 2 weeks, followed by a 1-week rest period, given as a 21-day cycle
gemcitabine (800 mg/m2 to 1,200 mg/m2) administered through IV on days 1, 8, and 15 of each 28-day cycle, or per institution
vinorelbine (25 mg/m2) administered through IV on day 1 of a weekly cycle or per institution (note: patients with grade 2 neuropathy were eligible for the study, but were not to receive vinorelbine as TPC).
No combination or crossover of the 4 choices was permitted. The dosage of single-drug chemotherapy in the TPC treatment group was based on body surface area as per local standard of care and administered using the recommended doses and schedules in the locally approved prescribing information or according to National Comprehensive Cancer Network guidelines10 that were current at the time of treatment (with dose and/or schedule modifications in accordance with either locally approved prescribing information or institutional standard practices).31
In both treatment groups, patients also received premedications (i.e., antipyretics, H1 blockers, and H2 blockers) for the prevention of infusion-related reactions and a 2- or 3-drug combination regimen for the prevention and treatment of chemotherapy-induced gastrointestinal symptoms (e.g., nausea, vomiting, and diarrhea), based on the investigator’s discretion.31
A list of efficacy and harms end points assessed in this Clinical Review Report is provided in Table 6, followed by descriptions of the outcome measures in Table 7. Summarized end points are based on outcomes included in the sponsor’s Summary of Clinical Evidence as well as on any outcomes identified as important to this review, according to the clinical expert(s) consulted by CADTH and the stakeholder input from patient and clinician groups and public drug plans. Using the same considerations, the CADTH review team selected end points that were considered most relevant to inform its expert committee deliberations and finalized this list of end points in consultation with members of the expert committee. All summarized efficacy end points were assessed using GRADE and included PFS, OS, ORR, CBR, DoR, and PROs that reflected patient HRQoL through the measurement of TTD in the EORTC QLQ-C30 domains of global health status/QoL, fatigue, pain, and diarrhea, and time to treatment discontinuation. Select notable harms outcomes considered important for informing CADTH’s expert committee deliberations (i.e., AEs of grade 3 or higher, including diarrhea, neutropenia, febrile neutropenia, leukopenia, anemia, fatigue, infections, neuropathies, hypersensitivities, and pulmonary events) were also assessed using GRADE.
Table 6: Outcomes Summarized From the TROPiCS-02 Trial
Outcome measure | Time point | TROPiCS-02 |
|---|---|---|
PFS as determined by BICR using RECIST 1.1 | Time from date of randomization to the first observation of documented disease progression or death from any cause | Primary end pointa |
OS | Time from randomization into the study to death from any cause | Secondary end pointa |
ORR as determined by BICR using RECIST 1.1 | NA | Secondary end pointa |
ORR as determined by LIR using RECIST 1.1 | NA | Secondary end point |
CBR as determined by BICR using RECIST 1.1 | NA | Secondary end point |
DoR as determined by BICR using RECIST 1.1 | Time from the first date showing a documented response of CR or PR to the date of progression or death, whichever occurred first | Secondary end point |
TTD in the global health status/QOL, fatigue, and pain domains of EORTC QLQ-C30 | Time from randomization to the first date on which a patient had a ≥ 10-point deterioration from baseline or died due to any cause, whichever occurred earlier | Secondary end pointa |
Incidence of AEs and SAEs | NA | Harms end point |
AE = adverse event; CR = complete response; BICR = blinded independent central review; EORTC QLQ-C30 = European Organisation for Research and Treatment of Cancer Quality of Life Questionnaire Version 3.0; LIR = local independent review; NA = not applicable; ORR = objective response rate; OS = overall survival; PFS = progression-free survival; PR = partial response; QoL = quality of life; RECIST 1.1 = Response Evaluation Criteria in Solid Tumours Version 1.1; SAE = serious adverse event; TTD = time to deterioration.
aStatistical testing for these end points was adjusted for multiple comparisons (e.g., hierarchal testing).
Source: TROPiCS-02 Clinical Study Report (interim analysis 2).31
Tumour assessments were performed at screening and at regular intervals during the study. Additional scans were performed as clinically indicated. Objective responses were confirmed at least 4 weeks later (e.g., generally at the next tumour assessment time point). Patients who discontinued the study drug before disease progression entered the follow-up period and continued with radiologic response assessments. Tumour assessments included CT or MRI assessments of chest and abdomen; other areas of known or newly suspected disease were assessed at screening and every 6 weeks (± 1 week) after the start of study treatment (or sooner if there was evidence of progressive disease) through 54 weeks, and then every 12 weeks (± 1 week) until the occurrence of disease progression, as determined by local independent review using RECIST 1.1. Assessment intervals were not to be changed in case of delays in dose administration. To exclude new bone metastases, bone scans (using 99m-technetium polyphosphonate scintigraphy, whole body bone MRI, or sodium fluoride and/or fluorodeoxyglucose PET) were performed at screening, during the treatment period if clinically indicated, and within a target of 1 week, but not more than 2 weeks, after a patient achieved a CR. Lesions detected on bone scans must have been followed with cross-sectional imaging. For patients with known brain metastases, a CT or MRI scan of the brain was performed at screening, during the treatment period if clinically indicated, and within a target of 1 week after a patient achieved a CR.31 All tumour assessment scans, as well as any unscheduled scans, were sent to a central imaging vendor designated by the sponsor. Tumour assessments were performed following guidelines provided by the central imaging vendor and as described in the independent review charter. However, if disease progression was based on the patient’s symptoms, every effort was to be made to document disease progression using objective criteria.31
RECIST 1.1 defines disease progression, based on target lesions, as a 20% or greater increase in the sum of the longest diameter of target lesions and a 5 mm absolute increase, taking as reference the smallest-sum, longest denominator recorded since the baseline assessment or the appearance of 1 or more new lesions. Disease progression based on nontarget lesions is defined as the appearance of 1 or more new lesions and/or the unequivocal progression of existing nontarget lesions.56 CR is defined as the disappearance of all target or nontarget lesions, and partial response is defined as a 30% or greater decrease in the sum of the longest diameter of target lesions, taking as reference the baseline sum longest diameter. Cases with neither a sufficient shrinkage in target lesions to qualify for partial response nor a sufficient increase to qualify for progressive disease, taking as reference the smallest-sum, longest diameter since the treatment started, were categorized as stable.56
PFS was defined as the time from date of randomization to the first observation of documented disease progression based on RECIST 1.1 or death due to any cause, whichever came first at the data cut-off date for IA1 on January 3, 2022.6,30
Secondary end points included OS, ORR, CBR, DoR, and TTD in PRO measures.31,56
OS was defined as the time from randomization into the study to death from any cause.
ORR was defined as the proportion of patients who had a best overall response of either CR or a partial response that was confirmed 4 weeks or more after the initial response by BICR or local independent review using RECIST 1.1. CBR was defined as the proportion of patients who had a best overall response of CR, PR, or durable stable disease (defined as stable disease with a duration of 6 months or greater after randomization). For patients who experienced a best overall response of CR or PR, DoR was calculated based on the time between the first date showing a documented response of CR or partial response and the date of progression or death, whichever occurred first.31
TTD was analyzed for the EORTC QLQ-C30 domains of global health status/QoL, fatigue, pain, and diarrhea, and was defined as the time from randomization to the first date on which a patient had a greater than or equal to 10-point deterioration from baseline or died due to any cause, whichever occurred first.31 Of these, outcome data for the EORTC QLQ-C30 diarrhea domain were provided by the sponsor, as per CADTH’s request.33 Details of the validity, reliability, and responsiveness of the EORTC QLQ-C30 are in Table 7. The content validity of 25 of 30 items on the EORTC QLQ-C30 was endorsed by 21 health care professionals in 1 study.58 Discriminant and convergent validity, tested among a sample of 150 patients in Canada with mBC in 1 study, showed variable results.59 Patient-observer agreement was substantial to near-perfect across the 30 items in 1 study of patients with mBC.59 Evidence of responsiveness to change is not available in the literature for patients with BC.49,60 Recent studies of patients with mBC report estimated MIDs for within-group deterioration. These estimates range from –13 to –6, –11 (1 anchor-based estimate), –10 to –6, and –10 to –5 points for the global health status/QoL, pain, fatigue, and diarrhea scales, respectively.34,61-63
Analyses of TTD in the global health status/QoL, fatigue, and pain scales were conducted for patients who had evaluable assessments of HRQoL at baseline and at least 1 evaluable assessment of HRQoL at postbaseline visits (i.e., the HRQoL-evaluable population) and who had baseline global health status/QoL scores greater than or equal to 10 as well as baseline fatigue, pain, and diarrhea scores of less than or equal to 90.30,33,34
Time to treatment discontinuation (duration from the initiation of the study drug to treatment discontinuation due to any cause) was identified as relevant and important by the clinical experts consulted by CADTH and necessary to inform the pharmacoeconomic model. The results were provided by the sponsor, as per CADTH’s request.32
All safety analyses were conducted based on the safety population, which was defined as all patients in the ITT population who received at least 1 dose of the study drug. AE data were summarized by treatment group using descriptive statistics. AEs were coded using Medical Dictionary for Regulatory Activities Version 25.0, and AE severity was graded based on the National Cancer Institute Common Terminology Criteria for Adverse Events Version 5.0.31
Adverse events of special interest (AESIs) included diarrhea, neutropenia, febrile neutropenia, infections, neuropathies, hypersensitivities, and pulmonary events.31
The statistical analyses for trial end points are presented in Table 8.
Table 7: Summary of Outcome Measures and Their Measurement Properties
Outcome measure | Type | Conclusions about measurement properties | MID |
|---|---|---|---|
EORTC QLQ-C30 | A 30-item, patient-reported, cancer-specific HRQoL questionnaire using 4- and 7-point Likert scales60 There are 15 domains. Functional scales, ranging from 0 to 100 (with higher scores indicating higher functioning) include global health status/QoL, physical functioning, role functioning, emotional functioning, cognitive functioning, and social functioning. Symptom scales, ranging from 0 to 100 (with higher scores indicating a greater degree of symptoms or worse condition) include fatigue, pain, nausea and vomiting, dyspnea, insomnia, appetite loss, constipation, diarrhea, and financial difficulties.60 | Content validity: When mapping to WHO’s ICF framework, 25 of the 30 items in the EORTC QLQ-C30 were endorsed by 21 health care professionals, using the Delphi technique (≥ 70% agreement).64 Discriminant validity: Spearman’s rank correlations with external parameters, such as ECOG Performance Status, ranged from 0.02 to 0.56 among 150 patients in Canada with mBC.58 Convergent validity: Spearman’s rank correlations with scores on the Profile of Mood States and Psychosocial Adjustment to Illness Scale ranged from 0.02 to 0.76 among 150 patients in Canada with mBC.58 Interrater reliability: The median kappa coefficient for patient-observer agreement across the 30 items in the EORTC QLQ-C30 was 0.86, with a range of 0.48 to 1.00, in patients with mBC, representing substantial to near-perfect agreement for most items.59,65 Responsiveness: No literature was identified that assessed responsiveness in patients with BC. | For patients with mBC, the reported estimates of MID (for within-group deterioration) are –13 to –6 points, –11 points (anchor-based estimate), –10 to –6 points, and –10 to –5 points for the global health status/QoL, pain, and fatigue scales, respectively.34,61-63 |
BC = breast cancer; ECOG = Eastern Cooperative Oncology Group; EORTC QLQ-C30 = European Organisation for Research and Treatment of Cancer Quality of Life Questionnaire Version 3.0; HRQoL = health-related quality of life; ICF = International Classification of Functioning, Disability and Health; mBC = metastatic breast cancer; MID = minimal important difference; QoL = quality of life.
Table 8: Statistical Analysis of Efficacy End Points for the TROPiCS-02 Trial
End point | Statistical model | Adjustment factors | Handling of missing data | Prespecified sensitivity analyses |
|---|---|---|---|---|
TROPiCS-02 | ||||
Progression-free survival by BICR | Stratified Cox proportional-hazards model with treatment arm as the only covariate. The test comparing the treatment groups was performed using a 2-sided alpha level of 0.05. | Stratified by the same stratification factors employed in the randomization | Patients who progressed or died following more than 1 missed scheduled visit or scheduled assessment interval, as defined in the protocol, were censored at the last date of radiographic assessment without documented progressive disease before the missed assessment. Patients without baseline tumour assessments or without additional follow-up data were censored at the date of randomization. | 1. In SA1, patients who progressed or died after more than 1 missed scheduled tumour assessment were not censored at the last date of radiographic tumour assessment before the missed assessment. 2. SA2 considered the discontinuation of treatment or initiation of alternative anticancer treatment, whichever occurred earlier, to be a PD event. 3. SA3 used the same primary PFS definition and censoring rules, but for all treated patients who received at least 1 study drug. 4. SA4 used the same censoring rule as the primary PFS definition except that any patient who initiated other anticancer treatment before disease progression or death, or who progressed or died after more than 1 missed scheduled tumour assessment, was not censored. |
Overall survival | Stratified Cox proportional-hazards model with treatment arm as the only covariate. | Stratified by the same stratification factors employed in the randomization | Patients without documentation of death were censored on the date they were last known to be alive. | None |
ORR and CBR (by BICR and LIR) | Objective response rate and CBR were analyzed and compared between treatment groups using the Cochran Mantel-Haenszel method. Two-sided 95% CIs were calculated using the Clopper-Pearson exact method. | Stratified by the same stratification factors employed in the randomization | Patients who were not evaluable were included in the ITT population and were not considered to have responded. | None |
DoR (by BICR and LIR) | A KM analysis was performed for DoR. Median DoR was derived using KM estimates, and 95% CI was calculated based on the Brookmeyer and Crowley method with log-log transformation. The milestone DoR rate at 3 months, 6 months, 9 months, and 12 months was derived from the KM curve. | None | Subsequent PD or death after response For patients with PD or death before missing 2 scheduled successive assessments, DoR was considered to have ended at the date of PD or death, respectively. Patients with PD or death after missing 2 or more scheduled successive assessments were censored at the date of last adequate response before the missed assessments. Patients who initiated other anticancer treatments before PD or death were censored at the date of last adequate response assessment without documented progression before starting other anticancer treatment. Response without subsequent PD or death Patients who initiated other anticancer treatments were censored at the date of the last adequate response assessment without documented progression before starting other anticancer treatment. Patients without PD or death were censored at the date of the last adequate response assessment. | None |
PFS by LIR | Stratified Cox proportional-hazards model with treatment arm as the only covariate. | Stratified by the same stratification factors employed in the randomization | Patients who progressed or died following more than 1 missed scheduled visit of scheduled assessment interval, as defined in the protocol, were censored at the last date of radiographic assessment without documented progressive disease before the missed assessment. Patients without baseline tumour assessments or additional follow-up data were censored at the date of randomization. | None |
TTD in the global health status/QOL, fatigue, and pain domains of EORTC QLQ-C30 | The distribution of time to deterioration was estimated using the KM method and compared between 2 treatment groups using a stratified log-rank test. A stratified Cox proportional-hazards model provided estimates of hazard ratios with 95% CIs. | None | Patients who had not experienced a 10-point deterioration at the time of analysis were censored on the last nonmissing assessment date. Patients without baseline or postbaseline PRO assessments were censored at the randomization date. | A sensitivity analysis without considering death as an event was conducted. |
BICR = blinded independent central review; CBR = clinical benefit rate; CI = confidence interval; DoR = duration of response; EORTC QLQ-C30 = European Organisation for Research and Treatment of Cancer Quality of Life Questionnaire Version 3.0; ITT = intention to treat; KM = Kaplan-Meier; LIR = local independent review; ORR = objective response rate; PD = progressive disease; PFS = progression-free survival; PRO = patient-reported outcome; QoL = quality of life; SA1 = sensitivity analysis 1; SA2 = sensitivity analysis 2; SA3 = sensitivity analysis 3; SA4 = sensitivity analysis 4; TTD = time to deterioration.
Note: The analysis of TTD in the diarrhea domain of the EORTC QLQ-C30 was prespecified with the same statistical analysis for trial end points as the other 3 domains of the EORTC QLQ-C30 in this table. The analysis of time to treatment discontinuation was not prespecified by the sponsor. However, the data were requested by CADTH for the purpose of the certainty of evidence appraisal.
Source: TROPiCS-02 statistical analysis plan.66
The sample size was estimated based on the primary end point of PFS; it also considered OS as the main secondary end point. An overall sample size of approximately 520 patients was planned for randomization in a 1 to 1 ratio to either sacituzumab govitecan or TPC.30,31,56,66
For PFS, assuming a hazard ratio of 0.70 (median PFS of 5.3 months for sacituzumab govitecan and 3.7 months for TPC), a total of 350 PFS events were needed to detect a statistically significant difference at a 2-sided alpha of 0.05 with 92% power. With an estimated average accrual rate of 22 patients per month, a total of 520 patients would provide approximately 350 PFS events approximately 27 months after the first patient was randomized, after accounting for events being censored because of patients missing tumour assessments or starting subsequent anticancer therapies.30,56
The recruitment rate was assumed to be nonuniform, such that half of the patients were recruited 55% of the way through the recruitment period of approximately 24 months, reflecting the change in sample size and actual recruitment rate affected by the COVID-19 pandemic.30,31
For OS, assuming a hazard ratio of 0.73 (median OS of 16.5 months for sacituzumab govitecan and 12 months for TPC), a total of 438 OS events were needed to detect a statistically significant difference at a 2-sided alpha of 0.05 with 86.7% power, based on a recruitment period of 24 months and a survival follow-up period of 52 months (from the time of first patient randomized).31
For the TROPiCS-02 trial, there was no planned interim analysis of PFS. There were 2 prespecified superiority interim efficacy analyses of the secondary end point (OS), performed when approximately 272 (62% information fraction) and 350 (80% information fraction) death events had occurred, respectively.66 Based on the number of events that had accrued at the time of the primary analysis of PFS, the first interim analysis of OS was also performed at this time. A final, exploratory analysis of OS and PFS was also performed.
A hierarchical testing approach was used for the analyses in this study, as depicted in Figure 3. The overall type I error rate for the TROPiCS-02 trial was strictly controlled at a 2-sided alpha of 0.05. The primary end point analysis of PFS, as assessed by BICR, served as the gatekeeper for the secondary end point analyses and was tested at a 2-sided alpha of 0.05. If the primary end point analysis of PFS was positive, the main secondary end points of OS were formally tested sequentially at a 2-sided alpha of 0.05. ORR (as assessed by BICR) and HRQoL outcomes were formally tested sequentially at a 2-sided alpha of 0.05 if the previous hypotheses in the hierarchy were statistically significant.66 For the analysis of HRQoL end points, TTD of global health status/QoL, fatigue, and pain scales (as measured by EORTC QLQ-C30) were tested using the graphical approach of Maurer and Bretz to control multiplicity.67 According to this approach, the hypotheses could be tested more than once, and when a particular null hypothesis was rejected, the alpha allocated to that hypothesis could be reallocated to other hypothesis tests.67 A Bonferroni approach was used to control the type I error rate at 0.05 (2-sided) alpha for the 3 TTD hypothesis tests.66
The Lan-DeMets alpha spending function that approximates a Pocock approach68 was used to account for multiplicity introduced by including OS interim analyses for superiority. The first OS interim analysis was tested at a 2-sided significance level of 0.0363 if 62% of death events (272 of 438) were available at the time of the analysis. If the first OS interim analysis was not positive, the second OS interim analysis was tested at a 2-sided significance level of 0.0207 if 80% of death events (350 of 438) were available at the time of the analysis. If neither of the interim analyses was positive, the OS final analysis was to be tested at a 2-sided significance level of 0.0196. Alpha levels for the OS interim and final analyses were based on actual observed events and were adjusted accordingly.66
Clinical event cut-offs and alpha values for each analysis are summarized in Table 9.
Figure 3: Hierarchical Testing Procedures for TROPiCS-02
BICR = blinded independent central review; EORTC QLQ-C30 = European Organisation for Research and Treatment of Cancer Quality of Life Questionnaire Version 3.0; IA1 = interim analysis 1; IA2 = interim analysis 2; ITT = intention to treat; ORR = objective response rate; OS = overall survival; PFS = progression-free survival; QoL = quality of life.
Note: The arrows on the diagram show how the type I error allocated to a null hypothesis that is successfully rejected will be redistributed for the testing of the other hypotheses; the arrows do not necessarily indicate the testing order.
Source: TROPiCS-02 Clinical Study Report (interim analysis 2).31
Table 9: Planned Analysis of Progression-Free Survival and Overall Survival in the TROPiCS-02 Trial
Description | Clinical event cut-off | Number of events observed | 2-sided significance level per planned number of events | 2-sided significance level per observed number of events | Status (completed or projected), data cut-off date |
|---|---|---|---|---|---|
Primary PFS analysis (final) | Approximately 350 primary end point PFS eventsa | 329 events | 0.05 | 0.05 | Completed, January 3, 2022 |
OS first interim analysis | 272 deaths | 293 deaths | 0.0363b | 0.0383b | Completed, January 3, 2022 |
OS second interim analysisc | 350 deaths | 390 deaths | 0.0207b | 0.0223b | Completed, July 1, 2022 |
OS analysis (final)c | 438 deaths | 438 deaths | 0.0196b | 0.0179b | Completed, December 1, 2022 |
OS = overall survival; PFS = progression-free survival.
aAn actual number of primary PFS events within plus or minus 10% of the target 350 events was acceptable for the primary PFS analysis (final). The full alpha was used at the final (and only) analysis for the primary end point of PFS.
bThe boundary P values at each analysis time point are adjusted by the Lan-DeMets alpha spending function that approximates a Pocock approach.
cBecause the statistical significance of OS was demonstrated, OS at interim analysis 2 was considered the final test for OS. The final analysis was considered descriptive only.
Sources: TROPiCS-02 Clinical Study Report (interim analysis 2);31 Tolaney et al. 2023.52
To evaluate whether the treatment effect was consistent across various subgroup populations, the estimate of the between-group treatment effect with 95% CI for the primary and secondary end points was estimated and plotted graphically for the following prespecified subgroups:
stratification factor of number of prior chemotherapy regimens for treatment of metastatic disease (2 lines versus 3 or 4 lines)
stratification factor of visceral metastasis (yes or no)
stratification factor of endocrine therapy in the metastatic setting for greater than or equal to 6 months (yes or no)
age group (< 65 years or ≥ 65 years)
race (white or others)
screening ECOG PS (0 or 1)
geographic region (North America, Europe, or elsewhere)
prior CDK4/6 treatment duration (≤ 12 months or > 12 months)
investigators’ choice of chemotherapy (eribulin, capecitabine, gemcitabine, or vinorelbine, each of which to compare with sacituzumab govitecan)
early relapse, defined as relapse to metastatic disease within 1 year of the end of (neo)adjuvant chemotherapy (yes or no)
baseline documented target or nontarget liver lesions per RECIST 1.1 per local independent review (yes or no)
chemotherapy in the (neo)adjuvant setting (yes or no)
The subgroup analyses were not controlled for multiplicity.
Key analysis populations are presented in Table 10.
Table 10: Analysis Populations in the TROPiCS-02 Trial
Population | Definition | Application |
|---|---|---|
ITT (FAS) population | Defined as all patients who were randomized, regardless of whether they received study treatment or not. The efficacy analysis was performed on the ITT population. Patients were analyzed according to the randomized treatment. | All PFS, OS, and tumour response analyses were performed on the ITT population. |
Safety population | Defined as all patients in the ITT population who received at least 1 dose of the study drug. This was the analysis population for all safety analyses that were based on the actual treatment received. | Safety data were summarized based on events in the safety population. |
HRQoL-evaluable population | Defined as all patients in the ITT population who had an evaluable assessment of HRQoL at baseline and at least 1 evaluable assessment at postbaseline visits. Evaluable assessments at a given visit were defined as those for which data for at least 1 of the 15 domains or scales were nonmissing at that scheduled visit. | All HRQoL analyses (e.g., TTD in global health status/QOL, fatigue, pain, and diarrhea domains of EORTC QLQ-C30) were based on assessment of the HRQoL-evaluable population. |
EORTC QLQ-C30 = European Organisation for Research and Treatment of Cancer Quality of Life Questionnaire Version 3.0; FAS = full analysis set; HRQoL = health-related quality of life; ITT = intention to treat; OS = overall survival; PFS = progression-free survival; QoL = quality of life; TTD = TTD = time to deterioration.
Source: TROPiCS-02 statistical analysis plan.66
Patient disposition as of the second interim analysis data cut-off date (July 1, 2022) is summarized in Table 11. Of the 776 screened patients, 543 (70%) were randomized to receive the study drug (sacituzumab govitecan = 272 patients; TPC = 271 patients). The most common reasons for screening failure were not meeting the inclusion criteria (151 patients, 64.8%), unacceptable laboratory value (18 patients, 7.7%), and meeting at least 1 exclusion criterion (16 patients, 6.9%).30 A total of 26 randomized patients (4.8%) did not receive the study drug, the majority of whom were in the TPC group (8.1%, 22 patients) (versus the sacituzumab govitecan group [1.5%, 4 patients]).31
As of the July 1, 2022, data cut-off date, a total of 11 patients (2.0%) were continuing on the study drug (sacituzumab govitecan = 9 patients, 3.3%; TPC = 2 patients, 0.7%), and 506 patients (93.2%) had discontinued the study drug (sacituzumab govitecan = 259 patients, 95.2%; TPC = 247 patients, 91.1%). The most common reasons for discontinuation of the study drug by treatment group were as follows:31
sacituzumab govitecan: progressive disease (217 patients, 79.8%), AEs (18 patients, 6.6%), and withdrawal of consent (10 patients, 3.7%)
TPC: progressive disease (199 patients, 73.4%), withdrawal of consent (22 patients, 8.1%), and AEs (11 patients, 4.1%)
As of the July 1, 2022, data cut-off date, a total of 130 patients (23.9%) were continuing in the study (sacituzumab govitecan = 73 patients, 26.8%; TPC = 57 patients, 21.0%), and 413 patients (76.1%) had discontinued from the study (sacituzumab govitecan = 199 patients, 73.2%; TPC = 214 patients, 79.0%). The most common reason for discontinuation of the study, other than death, was withdrawal of consent (sacituzumab govitecan = 11 patients, 4.0%; TPC = 40 patients, 14.8%).31
Table 11: Summary of Patient Disposition in the TROPiCS-02 Trial (Screened Population; Data Cut-Off Date: July 1, 2022)
Patient disposition | Sacituzumab govitecan | TPC |
|---|---|---|
Screened, N | 776 | |
Primary reason for screening failure, n (%) | ||
Did not meet inclusion criteria | 151 (64.8) | |
Unacceptable laboratory value | 18 (7.7) | |
Met exclusion criteria | 16 (6.9) | |
Withdrew consent | 10 (4.3) | |
Alternative therapy | 7 (3.0) | |
Disease progression | 7 (3.0) | |
Death | 3 (1.3) | |
Administrative reason by sponsor | 2 (0.9) | |
Noncompliance | 2 (0.9) | |
Unacceptable medical history | 2 (0.9) | |
Withdrawn by investigator | 2 (0.9) | |
AE or SAE | 1 (0.4) | |
Unacceptable procedure value | 1 (0.4) | |
Other | 11 (4.7) | |
Randomized, N | 272 | 271 |
Randomized but not treated, n (%) | 4 (1.5) | 22 (8.1) |
Received at least 1 dose of study treatment (safety population), n (%) | 268 (98.5) | 249 (91.9) |
Treatment status (in the safety population), n (%) | 268 (98.5) | 249 (91.9) |
Continuing on treatment | 9 (3.3) | 2 (0.7) |
Discontinued from study treatment | 259 (95.2) | 247 (91.1) |
Primary reason for discontinuing treatment, n (%) | ||
Progressive disease | 217 (79.8) | 199 (73.4) |
Clinical progression | 18 (6.6) | 13 (4.8) |
Radiological progression | 199 (73.2) | 186 (68.6) |
Protocol deviation (noncompliance) | 1 (0.4) | 3 (1.1) |
Death | 3 (1.1) | 2 (0.7) |
Treatment delay > 3 weeks | 5 (1.8) | 1 (0.4) |
Withdrawal of consent | 10 (3.7) | 22 (8.1) |
Treatment only | 8 (2.9) | 12 (4.4) |
Survival follow-up | 2 (0.7) | 10 (3.7) |
Adverse events | 18 (6.6) | 11 (4.1) |
COVID-19 | 0 | 3 (1.1) |
Other | 5 (1.8) | 6 (2.2) |
Number of patients continuing on study, n (%) | 73 (26.8) | 57 (21.0) |
Number of patients who discontinued from study, n (%) | 199 (73.2) | 214 (79.0) |
Primary reason for discontinuing from study, n (%) | ||
Death | 179 (65.8) | 158 (58.3) |
Withdrawal of consent | 11 (4.0) | 40 (14.8) |
Lost to follow-up | 4 (1.5) | 7 (2.6) |
Sponsor decision | 0 | 1 (0.4) |
COVID-19 | 0 | 2 (0.7) |
Other | 5 (1.8) | 6 (2.2) |
ITT, N (%) | 272 (100) | 271 (100) |
Safety, N (%) | 268 (98.5) | 249 (91.9) |
AE = adverse event; ITT = intention to treat; SAE = serious adverse event; TPC = treatment of physician’s choice.
Note: For data related to “primary reason for screening failure,” the denominator for the percentage calculation is based on the number of patients who were screened but not randomized. For data related to “treatment status,” the denominator for the percentage calculation is based on the number of patients in the safety population for each treatment group. For the rest of the data in this table, the denominator for percentages was the number of patients in the ITT population for each treatment group.
Sources: TROPiCS-02 Clinical Study Report (interim analysis 1),30 TROPiCS-02 Clinical Study Report (interim analysis 2).31|
Patient disposition in the survival follow-up period (i.e., following the end-of-treatment visit) as of the data cut-off date (July 1, 2022) is summarized in Table 12. Overall, of the ||| patients ||||||| who entered the survival follow-up period (sacituzumab govitecan = ||| ||||||||| |||||| |||| ||| ||||||||| |||||||), 119 (21.9%) were ongoing patients who continued in the survival follow-up period (sacituzumab govitecan = 64 patients, 23.5%; TPC = 55 patients, 20.3%) after a median follow-up duration of 12.48 months (range, 0.03 to 35.48 months) at the second interim analysis cut-off on July 1, 2022.31
Table 12: Patient Disposition in the Survival Follow-Up Period of the TROPiCS-02 Trial (ITT; Data Cut-Off Date: July 1, 2022)
Patient disposition | Sacituzumab govitecan (N = 272) | TPC (N = 271) |
|---|---|---|
Patient status, n (%) | ||
Total deaths | 191 (70.2) | 199 (73.4) |
Deaths during survival follow-up period | ||| |||||| | ||| |||||| |
Alive, continuing in treatment period | 9 (3.3) | 2 (0.7) |
Alive, continuing in the survival follow-up period | 64 (23.5) | 55 (20.3) |
Unknown | | ||||| | || ||||| |
Follow-up duration, monthsa | ||
N | 272 | 271 |
Mean (SD) | ||||| ||||||| | ||||| ||||||| |
Median (range) | 13.80 (0.03 to 35.48) | 10.68 (0.03 to 33.15) |
Time from last follow-up to clinical cut-off date (days)b | ||
0c | ||| |||||| | ||| |||||| |
≥ 1 to ≤ 30 | || |||||| | || |||||| |
≥ 31 to ≤ 60 | | ||||| | | ||||| |
≥ 61 to ≤ 90 | | ||||| | | ||||| |
≥ 91 to ≤ 120 | ||| | | ||||| |
≥ 121 | | ||||| | || ||||| |
Patients entering the survival follow-up period, n (%) | ||| |||||| | ||| |||||| |
Discontinued survival follow-up period | ||| |||||| | ||| |||||| |
Ongoing with survival follow-up period | 64 (23.5) | 55 (20.3) |
EOT = end of treatment; ITT = intention to treat; OS = overall survival; SD = standard deviation; TPC = treatment of physician’s choice.
Note: The denominator for percentages was the number of patients in the ITT population for each treatment group. Survival follow-up refers to the period after the EOT visit until the clinical cut-off date for the OS second interim analysis, unless patients died, were lost to follow-up, withdrew consent, or discontinued the study.
aFollow-up length is the time from randomization to death date or last date known to be alive.
bTime from last date known to be alive to data cut-off date of July 1, 2022.
cPatients who died or whose last date known to be alive was on or after the data cut-off date were classified as current follow-up (0).
Source: TROPiCS-02 Clinical Study Report (interim analysis 2).31
The baseline characteristics outlined in Table 13 are limited to those that are most relevant to this review or that were believed to affect the outcomes or interpretation of the study results.
In general, the patient demographics and disease characteristics were similar between groups. At baseline, patients in the TROPiCS-02 study had progressive disease and extensive prior systemic treatment in the metastatic setting (median prior lines of chemotherapy = 3; 96% with 2 or more prior chemotherapies). Importantly, all patients had received a prior CDK4/6 inhibitor, reflecting the standard of care and allowing for the assessment of efficacy after CDK4/6 inhibitor treatment.30,31,53 Overall, a high proportion of patients (95%) had visceral metastases at baseline; these are associated with particularly poor outcomes.30
Table 13: Summary of Baseline Characteristics in the TROPiCS-02 Trial (ITT)
Characteristic | Sacituzumab govitecan (N = 272) | TPC (N = 271) |
|---|---|---|
Age, years | ||
Mean (SD) | |||| ||||||| | |||| ||||||| |
Median (range) | 57 (29, 86) | 55 (27, 78) |
< 65 years, n (%) | 199 (73.2) | 204 (75.3) |
≥ 65 years, n (%) | 73 (26.8) | 67 (24.7) |
Sex, n (%) | ||
Male | 2 (0.7) | 3 (1.1) |
Female | 270 (99.3) | 268 (98.9) |
Race or ethnic group, n (%) | ||
Asian | 11 (4) | 5 (1.8) |
Black | 8 (2.9) | 13 (4.8) |
White | 184 (67.6) | 178 (65.7) |
Othera or not reportedb | 69 (25.4) | 75 (27.7) |
Country, n (%) | ||
Belgium | 16 (5.9) | 9 (3.3) |
Canada | 0 | 1 (0.4) |
France | 64 (23.5) | 73 (26.9) |
Germany | 20 (7.4) | 26 (9.6) |
Italy | 9 (3.3) | 6 (2.2) |
Netherlands | 6 (2.2) | 2 (0.7) |
Spain | 35 (12.9) | 34 (12.5) |
UK | 7 (2.6) | 7 (2.6) |
US | 115 (42.3) | 113 (41.7) |
Baseline disease characteristics | ||
ECOG PS, n (%) | ||
0 = normal activity | 116 (42.6) | 126 (46.5) |
1 = symptoms, but ambulatory | 156 (57.4) | 145 (53.5) |
Visceral metastases at baseline, n (%) | 259 (95.2) | 258 (95.2) |
Liver metastases,c n (%) | 229 (84.2) | 237 (87.5) |
De novo metastatic breast cancer, n (%) | 78 (29) | 60 (22) |
Time from initial metastatic diagnosis to randomization, months, median (range) | 48.5 (1.2 to 243.8) | 46.6 (3.0 to 248.8) |
Prior systemic anticancer therapy | ||
Prior chemotherapy in (neo)adjuvant setting, n (%) | 173 (63.6) | 184 (67.9) |
Prior endocrine therapy use in the metastatic setting ≥ 6 months, n (%) | 235 (86.4) | 234 (86.3) |
Prior CDK4/6 inhibitor use, n (%) | ||
≤ 12 months | 161 (59.2) | 166 (61.3) |
> 12 months | 106 (39.0) | 102 (37.6) |
Unknown | 5 (1.8) | 3 (1.1) |
Number of prior lines of chemotherapy in the metastatic setting, median (range)d | 3 (0, 8) | 3 (1, 5) |
Prior chemotherapy regimens in the metastatic setting, n (%) | ||
0 | 1 (0.4) | 0 |
1 | 8 (2.9) | 2 (0.7) |
2 | 104 (38.2) | 118 (43.5) |
≥ 3 | 159 (58.5) | 151 (55.7) |
CDK4/6 = cyclin-dependent kinase 4 and 6; ECOG PS = Eastern Cooperative Oncology Group Performance Status; ITT = intention to treat; RECIST 1.1 = Response Evaluation Criteria in Solid Tumours Version 1.1; SD = standard deviation; TPC = treatment of physician’s choice.
aIncludes American Indian or Alaska Native, Native Hawaiian, or other Pacific Islander.
bNot reported indicates that local regulators did not allow the collection of race or ethnicity information.
cPresence of baseline target and/or nontarget liver metastases per RECIST 1.1 by local investigator review.
dThe reported numbers of prior therapies were miscounted at screening for some patients; 9 patients received prior chemotherapy regimens in the metastatic setting outside the per-protocol range for the inclusion criteria and were included in the ITT population.
Sources: TROPiCS-02 Clinical Study Report (interim analysis 1);30 Rugo et al. (2022);53 sponsor’s submissions.33,69
The extent of patients’ exposures to the study drug (data cut-off date: July 1, 2022) is summarized in Table 14. Median treatment duration was longer in the sacituzumab govitecan group (4.11 months) versus the TPC group overall (2.33 months), as well as versus the individual single-drug chemotherapies in the TPC group, with the exception of capecitabine (||||||||| |||| ||||||| ||||||||||||| |||| ||||||| |||||||||||| |||| ||||||| |||||||||||| |||| ||||||). Median relative dose intensity was higher in the sacituzumab govitecan group (98.89%) compared to 2 TPC therapies (|||||| ||| ||||||||||||| |||||| ||| |||||||||||) but was similar to the other 2 (|||||| ||| ||||||||| ||| ||| ||| |||||||||||) (Table 14).31
Most patients (68.3%) in the sacituzumab govitecan group had a relative dose intensity ranging from 90% to less than 110%.31 A total of 5 patients, all in the sacituzumab govitecan group, experienced infusion interruptions; each of experienced 1 interruption.31 The proportion of patients with dose reductions was similar between the sacituzumab govitecan group (34.7%) and the TPC group (40.2% [ranging from ||||| || ||||| across the 4 single-drug chemotherapies]).31 For each study drug, most patients with dose reductions experienced only 1 dose reduction. The median times to first dose reduction were 1.41 months in the sacituzumab govitecan group and 0.95 months in the TPC group overall. For the individual single-drug chemotherapies in the TPC group, the median times to first dose reduction were |||| |||||| ||| ||||||||| |||| |||||| ||| ||||||||||||| |||| |||||| ||| |||||||||||| ||| |||| |||||| ||| |||||||||||, respectively.31
Table 14: Treatment Exposure in the TROPiCS-02 Trial (Safety Population; Data Cut-off Date: July 1, 2022)
Treatment exposure | Sacituzumab govitecan (N = 268) | Eribulin (N = 120) | Capecitabine (N = 22) | Gemcitabine (N = 53) | Vinorelbine (N = 54) | TPC (N = 249) |
|---|---|---|---|---|---|---|
Treatment duration, monthsa | ||||||
Mean (SD) | 5.8 (5.7) | ||| ||||| | ||| ||||| | ||| ||||| | ||| ||||| | 3.6 (3.7) |
Median (range) | 4.11 (0.03 to 30.62) | ||||||||||| |||||| | ||||||||||| |||||| | ||||||||||| |||||| | |||||||||| ||||| | 2.33 (0.03 to 22.31) |
Number of treatment cycles received, n | ||||||
Mean (SD) | 8.6 (8.0) | ||| ||||| | ||| ||||| | ||| ||||| | ||| ||||| | 5.3 (4.9) |
Median (range) | 6.0 (1.0 to 44.0) | |||||||| || ||||| | |||||||| || ||||| | |||||||| || ||||| | |||||||| || ||||| | 4.0 (1.0 to 33.0) |
Relative dose intensity (%)b | ||||||
N | 265 | ||| | || | || | || | NA |
Mean (SD) | 91.9 (12.0) | |||| |||||| | |||| |||||| | |||| |||||| | |||| |||||| | NA |
Median (range) | 98.9 (50.0 to 106.1) | ||||||||||| |||||| | ||||||||||| |||||| | ||||||||||| |||||| | ||||||||||| |||||| | NA |
SD = standard deviation; TPC = treatment of physician’s choice.
aTreatment duration (in months) was calculated as the date of last treatment administration minus the date of the first treatment administration plus 1, divided by 30.4375.
bRelative dose intensity (reported as a percentage) was calculated as the cumulative dosage received (in mg/kg) divided by the total assigned dosage (in mg/kg) multiplied by 100. The total assigned dosage (in mg/kg) for each patient was defined as the product of the assigned dose and the number of doses the patient was scheduled to receive during the treatment period (number of infusions actually received by the patient plus the number of infusions the patient missed between the first and last infusion). No dose delay information was collected for the group receiving capecitabine because the drug is administered orally.
Source: TROPiCS-02 Clinical Study Report (interim analysis 2).31
The most frequently reported concomitant medications for the ITT population are summarized in Table 15 (data cut-off date: July 1, 2022).32 The percentages of patients who received at least 1 concomitant medication were similar between the sacituzumab govitecan ||||||| and TPC ||||||| groups.31,32 Concomitant medications (based on Anatomic Therapeutic Chemical classification level 2) that were taken by a higher percentage (≥ 20%) of patients in the sacituzumab govitecan group compared with the TPC group in the ITT population included analgesics (sacituzumab govitecan = ||||%; TPC = ||||%); antiemetics and antinauseants (sacituzumab govitecan = ||||%; TPC = ||||%); drugs for acid-related disorders (sacituzumab govitecan = ||||%; TPC = ||||%); otologicals (sacituzumab govitecan = ||||%; TPC = ||||%); antipruritics that include antihistamines, anesthetics, and so on (sacituzumab govitecan = ||||%; TPC = ||||%); antidiarrheals, intestinal anti-inflammatory drugs, and/or anti-infective drugs (sacituzumab govitecan = ||||%; TPC = ||||%); nasal preparations (sacituzumab govitecan = ||||%; TPC = ||||%); antihistamines for systemic use (sacituzumab govitecan = ||||%; TPC = ||||%); and immunostimulants (sacituzumab govitecan = ||||%; TPC = ||||%).32
Per protocol, patients in the sacituzumab govitecan group also received premedications for the prevention of infusion-related reactions (i.e., antipyretics, H1 blockers, and H2 blockers) and a 2- or 3-drug combination regimen for the prevention and treatment of chemotherapy-induced nausea, vomiting, and diarrhea.31
The percentages of patients who used G-CSF at any time during the study (i.e., any G-CSF use from the first study drug dose date to 30 days after the last study drug dose date; includes G-CSF use before the first dose) were 54.1% (i.e., 145 of 268 patients in the safety patients) in the sacituzumab govitecan group and 34.1% (85 of 249 patients in the safety patients) in the TPC group. The percentages of patients who received G-CSF as prophylaxis for neutropenia were 35.4% (95 patients) in the sacituzumab govitecan group and 21.7% (54 patients) in the TPC group. The percentages of patients who received G-CSF for the management of neutropenia were ||||| ||| ||||||||| in the sacituzumab govitecan group and ||||| ||| ||||||||| in the TPC group.31
The percentages of patients who initiated G-CSF at any time during the study (i.e., the first date of G-CSF was from the first study drug dose date to 30 days after the last study drug dose date) were 53.7% (144 patients) in the sacituzumab govitecan group and 33.7% (84 patients) in the TPC group. The majority of these patients initiated G-CSF during cycle 1 (sacituzumab govitecan = 59.0%, 85 of 144 patients; TPC = 54.8%, 46 of 84 patients).31
Table 15: Summary of Concomitant Medications by ATC Classification in the TROPiCS-02 Trial (ITT; Data Cut-Off Date: July 1, 2022)
Preferred drug name based on ATC level 2 drug class | Sacituzumab govitecan (N = 272) | TPC (N = 271) |
|---|---|---|
≥ 1 concomitant medication, n (%)a | ||| |||||| | ||| |||||| |
Analgesics | ||| |||||| | ||| |||||| |
Paracetamol | ||| |||||| | || |||||| |
Gabapentin | || |||||| | || ||||| |
Oxycodone | || |||||| | || ||||| |
Antiemetics and antinauseants | ||| |||||| | ||| |||||| |
Ondansetron | ||| |||||| | || |||||| |
Prochlorperazine | || |||||| | || |||||| |
Metoclopramide | || |||||| | || |||||| |
Diphenhydramine | || |||||| | | ||||| |
Palonosetron | || |||||| | | ||||| |
Diphenhydramine hydrochloride | || |||||| | | ||||| |
Ophthalmologicals | ||| |||||| | ||| |||||| |
Dexamethasone | ||| |||||| | || |||||| |
Potassium chloride | || |||||| | || ||||| |
Sodium chloride | || |||||| | || ||||| |
Drugs for acid-related disorders | ||| |||||| | ||| |||||| |
Famotidine | || |||||| | || ||||| |
Omeprazole | || |||||| | || |||||| |
Pantoprazole | || |||||| | || ||||| |
Calcium carbonate | || |||||| | || ||||| |
Ranitidine | || |||||| | | ||||| |
Ranitidine hydrochloride | || |||||| | ||| |
Psycholeptics | ||| |||||| | ||| |||||| |
Lorazepam | || |||||| | || |||||| |
Antidiarrheals, intestinal anti-inflammatory drugs, and anti-infective drugs | ||| |||||| | || |||||| |
Loperamide hydrochloride | || |||||| | || ||||| |
Loperamide | || |||||| | || ||||| |
Antipruritics (including antihistamines, anesthetics, and so on) | ||| |||||| | || |||||| |
Dexchlorpheniramine maleate | || |||||| | ||| |
Antiacne preparations | ||| |||||| | ||| |||||| |
Ibuprofen | || |||||| | || |||||| |
Immunostimulants | ||| |||||| | || |||||| |
Filgrastim | || |||||| | || |||||| |
Filgrastim-sndz | || |||||| | || ||||| |
Pegfilgrastim | || ||||| | || ||||| |
Vitamins | ||| |||||| | || |||||| |
Cholecalciferol | || |||||| | || |||||| |
Drugs for treatment of bone diseases | || |||||| | || |||||| |
Denosumab | || |||||| | || |||||| |
ATC = Anatomic Therapeutic Chemical; ITT = intention to treat; TPC = treatment of physician’s choice.
Note: The WHO Drug Dictionary (Version BMAR21) was used for coding. The denominator for percentages is the number of patients in the ITT population for each treatment group. Concomitant medications are defined as those taken at any time while on study treatment, including medications that were started before the first dose of study drug but were ongoing at time of first dose of study drug or initiated after the first dose of study drug and before 30 days after last dose of study drug. Patients were counted only once for each drug class and preferred drug name. Medications may appear under multiple ATC drug classes.
Source: Sponsor’s submission.31
No combination or crossover of the 4 choices in the TPC group was permitted.31
Patients who entered the follow-up period due to disease progression could be treated in accordance with the local standard of care. These patients were contacted every 12 weeks (± 1 week) for survival status and subsequent anticancer treatment received. Patients who entered the follow-up period before disease progression continued to undergo tumour assessments every 12 weeks (± 1 week) until documented disease progression or initiation of subsequent anticancer therapy. At that time, these patients were then to be contacted for survival status and subsequent anticancer treatment received, unless they withdrew consent for the study.31 A summary of anticancer therapies received is provided in Table 16.
Table 16: Summary of Subsequent Anticancer Treatment by Preferred Term in the TROPiCS-02 Trial (≥ 5% in Any Treatment Arm; Safety Population; Data Cut-Off Date: January 1, 2022)
Preferred drug term | Sacituzumab govitecan (N = 268) | TPC (N = 249) |
|---|---|---|
≥ 1 subsequent anticancer therapy, n (%) | ||| |||||| | ||| |||||| |
Eribulin | || |||||| | || ||||| |
Gemcitabine | || |||||| | || |||||| |
Carboplatin | || |||||| | || |||||| |
Cyclophosphamide | || |||||| | || |||||| |
Vinorelbine | || ||||| | || ||||| |
Fulvestrant | || ||||| | || ||||| |
Capecitabine | || ||||| | || ||||| |
Pegylated liposomal doxorubicin hydrochloride | || ||||| | || ||||| |
Vinorelbine tartrate | || ||||| | || ||||| |
Doxorubicin | || ||||| | || ||||| |
Everolimus | || ||||| | || ||||| |
Paclitaxel | || ||||| | || ||||| |
Fluorouracil | || ||||| | || ||||| |
Liposomal doxorubicin | || ||||| | || ||||| |
Exemestane | | ||||| | || ||||| |
Sacituzumab govitecan | | ||||| | || ||||| |
TPC = treatment of physician’s choice.
Note: The denominator for percentages is the number of patients in the safety population for each treatment group. A patient may have taken more than 1 therapy. Therefore, the sum of therapy counts and the percentages may not equal the total counts. Multiple therapies are counted only once per patient for each preferred drug term. The WHO Drug Dictionary (Version BMAR21) was used for coding.
Source: TROPiCS-02 Clinical Study Report (interim analysis 1).30
Efficacy results from 3 data cuts are presented here. Based on the prespecified hierarchical testing approach, the final statistical testing of PFS was completed at IA1 (data cut-off date: January 3, 2022). For all other key efficacy end points, final statistical tests were conducted at IA2 (data cut-off date: July 1, 2022). Results for PFS and OS at the final data cut (final analysis, exploratory analysis; data cut-off date: December 1, 2022) are also presented.
PFS outcomes are summarized in Table 17.
As of the first planned interim analysis (data cut-off date of January 3, 2022), the median duration of follow-up was 10.22 months (range, 0.03 to 27.93) (sacituzumab govitecan = 11.25 months [range, 0.03 to 27.93]; TPC = 9.79 months [range, 0.03 to 25.30]). The median PFSs, as assessed by BICR, were 5.5 months (95% CI, 4.2 to 7.0) for patients treated with sacituzumab govitecan and 4.0 months (95% CI, 3.1 to 4.4) for patients treated with TPC (hazard ratio = 0.66; 95% CI, 0.53 to 0.83; P = 0.0003) (Table 17).30,53 The KM estimates of PFS rates in the sacituzumab govitecan and TPC groups were 66.0% (95% CI, 59.6 to 71.6) versus 57.8% (95% CI, 50.8 to 64.1) at 3 months; 46.1% (95% CI, 39.4 to 52.6) versus 30.3% (95% CI, 23.6 to 37.3) at 6 months; 32.5% (95% CI, 25.9 to 39.2) versus 17.3% (95% CI, 11.5 to 24.2) at 9 months; 21.3% (95% CI, 15.2 to 28.1) versus 7.1% (95% CI, 2.8 to 13.9) at 12 months; and 13.3% (95% CI, 7.8 to 20.4) versus 7.1% (95% CI, 2.8 to 13.9) at 18 months, respectively (Figure 4, Table 17).
Table 17: Summary of Progression-free Survival per BICR Results in the TROPiCS-02 Trial (ITT)
Efficacy outcome | Sacituzumab govitecan (N = 272) | TPC (N = 271) |
|---|---|---|
Interim analysis 1 (data cut-off date: January 3, 2022) | ||
PFS events, n (%) | 170 (62.5) | 159 (58.7) |
Disease progression | 141 (51.8) | 140 (51.7) |
Death | 29 (10.7) | 19 (7.0) |
Censored, n (%) | 102 (37.5) | 112 (41.3) |
Death after starting new anticancer therapy | 37 (13.6) | 33 (12.2) |
Death after 2 or more consecutive missing visits | 3 (1.1) | 4 (1.5) |
No PD and no death | 54 (19.9) | 38 (14.0) |
No baseline image or postbaseline evaluablea | 8 (2.9) | 37 (13.7) |
Reasons for no baseline image or postbaseline evaluable, n (%)b | 8 | 37 |
Randomized but never treated | 4 (50.0) | 21 (56.8) |
Treated but terminated study treatment before the first postbaseline efficacy assessment due to: | 4 (50.0) | 16 (43.2) |
Informed consent withdrawn | | |||||| | || |||||| |
Adverse event | ||| | | ||||| |
COVID-19 | 0 | 2 (5.4) |
Progressive disease | | |||||| | ||| |
Protocol deviation | ||| | | ||||| |
PFS, months, median (95% CI)c | 5.5 (4.2 to 7.0) | 4.0 (3.1 to 4.4) |
Stratified hazard ratio (95% CI)d | 0.66 (0.53 to 0.83) | |
Stratified log-rank P valued | 0.0003 | |
KM estimate of PFS rate per BICR, % (95% CI)e | ||
At 3 months | 66.0 (59.6 to 71.6) | 57.8 (50.8 to 64.1) |
Difference in survival probability | 8.2 (NR) | |
At 6 months | 46.1 (39.4 to 52.6) | 30.3 (23.6 to 37.3) |
Difference in survival probability | 15.8 (NR) | |
At 9 months | 32.5 (25.9 to 39.2) | 17.3 (11.5 to 24.2) |
Difference in survival probability | 15.2 (NR) | |
At 12 months | 21.3 (15.2 to 28.1) | 7.1 (2.8 to 13.9) |
Difference in survival probability | 14.2 (NR) | |
At 18 months | 13.3 (7.8 to 20.4) | 7.1 (2.8 to 13.9) |
Difference in survival probability | 6.2 (NR) | |
Final analysis (exploratory analysis, data cut-off date: December 1, 2022) | ||
PFS events, n | NR | NR |
PFS, months, median (95% CI)c | 5.5 (4.2 to 6.9) | 4.0 (3.0 to 4.4) |
Stratified hazard ratio (95% CI)d | 0.65 (0.53 to 0.81) | |
Stratified log-rank P valued | 0.0001 | |
KM estimate of PFS rate per BICR, % (95% CI)e | ||
At 6 months | 45.6 (38.9 to 52.0) | 29.4 (22.9 to 36.2) |
Difference in survival probability | 16.2 (NR) | |
At 12 months | 21.7 (15.8 to 28.3) | 8.4 (4.2 to 14.5) |
Difference in survival probability | 13.3 (NR) | |
At 18 months | 14.4 (9.1 to 20.8) | 4.7 (1.3 to 11.6) |
Difference in survival probability | 9.7 (NR) | |
BICR = blinded independent central review; CI = confidence interval; ITT = intention to treat; IXRS = interactive voice and/or web response system; KM = Kaplan-Meier; NR = not reported; PD = progressive disease; PFS = progression-free survival; RECIST 1.1 = Response Evaluation Criteria in Solid Tumours Version 1.1; TPC = treatment of physician’s choice.
Note: PFS was defined as the number of months (where 1 month = 30.4375 days) from the date of randomization to the date of the first radiological disease progression per RECIST 1.1 or death due to any cause, whichever occurred first.
aCensoring due to no baseline or no postbaseline evaluable assessment did not include a death event before the second scheduled visit postbaseline.
bCensoring due to no baseline or no postbaseline evaluable assessment does not include a death event before the second scheduled visit postbaseline. The percentage denominator is the number of patients with PFS censored due to no baseline image or postbaseline evaluable for each treatment group.
cThe median PFS was from the KM estimate. The CI for the median was computed using the Brookmeyer-Crowley method.
dStratified log-rank test and stratified Cox regression adjusted for stratification factors (based on IXRS): prior chemotherapy regimens for treatment of metastatic disease (2 lines vs. 3 or 4 lines), visceral metastasis (yes or no), and endocrine therapy in the metastatic setting for at least 6 months (yes or no). The P value was not adjusted for multiple comparisons.
eThe PFS rate was the proportion of patients alive without PD.
Sources: TROPiCS-02 Clinical Study Report (interim analysis 1);30 Tolaney et al. (2023);52 sponsor’s submission.32
Figure 4: KM Curves of PFS per BICR (ITT; Data Cut-Off Date: January 3, 2022)
CI = confidence interval; SG = sacituzumab govitecan; TPC = treatment of physician’s choice.
Source: TROPiCS-02 Clinical Study Report (interim analysis 1).30
The results from the prespecified sensitivity analyses of PFS per BICR were consistent with the primary analysis results, as shown in Table 27 (Appendix 1).
No further statistical testing was conducted on PFS per BICR following the first interim analysis (data cut-off date: January 3, 2022), consistent with the prespecified statistical analysis plan. At the final analysis (exploratory; data cut-off of December 1, 2022; median duration of follow-up = 12.75 months [range, 0.03 to 38.05]), the median PFSs per BICR in the sacituzumab govitecan and TPC groups were 5.5 months (95% CI, 4.2 to 6.9) versus 4.0 months (95% CI, 3.0 to 4.4) (hazard ratio = 0.65; 95% CI, 0.53 to 0.81; P = 0.0001) (Figure 4; Table 17).52 The KM estimates of PFS rates for sacituzumab govitecan versus TPC were 45.6% (95% CI, 38.9 to 52.0) and 29.4% (95% CI, 22.9 to 36.2) at 6 months, 21.7% (95% CI, 15.8 to 28.3) and 8.4% (95% CI, 4.2 to 14.5) at 12 months, and 14.4% (95% CI, 9.1 to 20.8) and 4.7% (95% CI, 1.3 to 11.6) at 18 months (Figure 5, Table 17).52 All results were consistent with those from the primary analysis.
Figure 5: KM Curves of PFS per BICR (ITT; Data Cut-Off Date: December 1, 2022)
CI = confidence interval; SG = sacituzumab govitecan; TPC = treatment of physician’s choice.
Source: Sponsor’s submission.52
The median PFS benefit of sacituzumab govitecan over TPC was consistent across predefined subgroups, including patients with greater than or equal to 3 prior chemotherapy regimens in the metastatic setting, visceral metastases, and age greater than or equal to 65 years (Appendix 1, Figure 8).30,53
At the second planned interim analysis (data cut-off date: July 1, 2022), the median duration of follow-up was 12.48 months (range, 0.03 to 35.48) (sacituzumab govitecan = 13.80 months (range, 0.03 to 35.48); TPC = 10.68 months (range, 0.03 to 33.15).70 Median OS was 14.4 months (95% CI, 13.0 to 15.7) for patients treated with sacituzumab govitecan compared with 11.2 months (95% CI, 10.1 to 12.7) for patients treated with TPC (hazard ratio = 0.789; 97.77% CI, ||||| || |||||; P = 0.020) (Figure 6, Table 18). The KM estimates of the 12-month OS rates were 61% (95% CI, 55 to 66) and 47% (95% CI, 41 to 53) for patients treated with sacituzumab govitecan and TPC, respectively. The KM curves for OS at the second planned interim analysis are shown in Figure 7.31
Table 18: Summary of Overall Survival Results in the TROPiCS-02 Trial (ITT)
Efficacy outcome | Sacituzumab govitecan (N = 272) | TPC (N = 271) |
|---|---|---|
Interim analysis 2 (data cut-off date: July 1, 2022) | ||
OS events, n (%) | 191 (70.2) | 199 (73.4) |
Patients without OS events (censored), n (%) | 81 (29.8) | 72 (26.6) |
OS, months, median (95% CI)a | 14.4 (13.0 to 15.7) | 11.2 (10.1 to 12.7) |
Stratified hazard ratio (97.77% CI) | 0.789 ||||||| |||||| | |
Stratified log-rank P valueb | 0.020 | |
KM estimate of OS rate, % (95% CI)c | ||
At 12 months | 60.8 (54.6 to 66.4) | 47.3 (41.1 to 53.2) |
Difference in survival probability | 13.5 (NR) | |
At 18 months | 38.9 (32.8 to 44.9) | 32.4 (26.7 to 38.2) |
Difference in survival probability | 6.5 (NR) | |
At 24 months | 24.6 (18.8 to 30.7) | 21.4 (16.0 to 27.3) |
Difference in survival probability | 3.2 (NR) | |
Final analysis (exploratory analysis; data cut-off date: December 1, 2022) | ||
OS events, n | 214 | 224 |
OS, months, median (95% CI)a | 14.5 (13.0 to 16.0) | 11.2 (10.2 to 12.6) |
Stratified hazard ratio (98.21% CI) | 0.788 (0.627 to 0.990) | |
P valued | 0.0133 | |
KM estimate of OS rate, % (95% CI)c | ||
At 12 months | 60.9 (54.8 to 66.4) | 47.1 (41.0 to 53.0) |
Difference in survival probability | 13.8 (NR) | |
At 18 months | 39.2 (33.4 to 45.0) | 31.7 (26.2 to 37.4) |
Difference in survival probability | 7.5 (NR) | |
At 24 months | 25.7 (20.5 to 31.2) | 21.1 (16.3 to 26.3) |
Difference in survival probability | 4.6 (NR) | |
CI = confidence interval; IA2 = interim analysis 2; ITT = intention to treat; IXRS = interactive voice and/or web response system; KM = Kaplan-Meier; NR = not reported; OS = overall survival; TPC = treatment of physician’s choice.
Note: OS was defined as the number of months (where 1 month = 30.4375 days) from the date of randomization to the date of death due to any cause. Patients without documentation of death were censored on the date on which they were last known to be alive. The number of OS events was 390 at the time of the OS IA2, when the 2-sided nominal alpha was 0.0223 based on the Lan-DeMets alpha spending function that approximates a Pocock approach.
aThe median OS was from the KM estimate. The CI for the median was computed using the Brookmeyer-Crowley method.
bStratified log-rank test and stratified Cox regression adjusted for stratification factors (based on IXRS): prior chemotherapy regimens for treatment of metastatic disease (2 lines vs. 3 or 4 lines), visceral metastasis (yes or no), and endocrine therapy in the metastatic setting for at least 6 months (yes or no).
cThe OS rate was the proportion of patients alive.
dThis test was not controlled for multiplicity because sacituzumab govitecan demonstrated a statistically significant OS benefit at IA2 (data cut-off date: July 1, 2022). Based on the hierarchy, the test controlled for multiplicity at the 0.0179 alpha level was to be conducted only if the OS results at IA2 were not statistically significant.
Sources: TROPiCS-02 Clinical Study Report (interim analysis 2),31 Tolaney et al. (2023);52 sponsor’s submission.32
Figure 6: KM Curves of OS (ITT; Data Cut-Off Date: July 1, 2022)
CI = confidence interval; SG = sacituzumab govitecan; TPC = treatment of physician’s choice.
Source: TROPiCS-02 Clinical Study Report (interim analysis 2).31
No further formal statistical testing was conducted on OS following the second interim analysis (data cut-off date: July 1, 2022), which was consistent with the prespecified statistical analysis plan. A final, exploratory, OS analysis (data cut-off date: December 1, 2022) demonstrated continued survival benefit consistent with the second interim analysis (Figure 7, Table 18).31,52 At data cut-off of the final analysis, 438 OS events had occurred (median follow-up = 12.75 months [range, 0.03 to 38.05]), with 47 (8.7%) new deaths in the sacituzumab govitecan group versus the TPC group (22 deaths [8.1%] versus 25 deaths [9.2%]) since the second planned interim analysis. The median OS durations per BICR in the sacituzumab govitecan and the TPC groups were 14.5 months (95% CI, 13.0 to 16.0) versus 11.2 months (95% CI, 10.2 to 12.6) (hazard ratio = 0.788; 98.21% CI, 0.627 to 0.990; P = 0.0133).32 The OS rates for sacituzumab govitecan versus TPC were 60.9% (95% CI, 54.8 to 66.4) and 47.1% (95% CI, 41.0 to 53.0) at 12 months; 39.2% (95% CI, 33.4 to 45.0) and 31.7% (95% CI, 26.2 to 37.4) at 18 months; and 25.6% (95% CI, 20.4 to 31.1) and 21.1% (95% CI, 16.3 to 26.3) at 24 months, respectively.
Figure 7: KM Curves of OS (ITT; Data Cut-Off Date: December 1, 2022)
CI = confidence interval; SG = sacituzumab govitecan; TPC = treatment of physician’s choice.
Source: Sponsor’s submission.52
Because a statistically significant improvement in OS was demonstrated in the sacituzumab govitecan group versus the TPC group at the second interim analysis (data cut-off date: July 1, 2022), ORR per BICR was formally tested according to the hierarchical testing strategy (Table 19).70 At the data cut-off, the ORRs were 21% in the sacituzumab govitecan group and 14% in the TPC group (odds ratio = 1.63; 95% CI, 1.03 to 2.56; P = 0.03). The CBRs were 34% and 22% in the sacituzumab govitecan group and TPC group, respectively (odds ratio = 1.80; 95% CI, 1.23 to 2.63; nominal P = 0.003). In the sacituzumab govitecan group, 1% of patients achieved a CR; 20% achieved a PR; and 13% achieved stable disease (i.e., lasting ≥ 6 months). No patients in the TPC group achieved a CR, while 14% achieved a partial response and 8% achieved stable disease (i.e., lasting ≥ 6 months) as of July 1, 2022.31,70 Similar results were observed during the local independent review.31
Table 19: Summary of ORR and CBR per BICR in the TROPiCS-02 Trial (ITT; Data Cut-Off Date: July 1, 2022)
Efficacy outcome | Sacituzumab govitecan (N = 272) | TPC (N = 271) |
|---|---|---|
Patients with measurable disease at baseline | 269 | 267 |
Objective response rate (CR or PR), n (%) | 57 (21.0) | 38 (14.0) |
95% CI (exact) | (16.3 to 26.3) | (10.1 to 18.7) |
RD (95% CI) | 7.0 (NR) | |
Odds ratio | 1.625 | |
95% CI | (1.034 to 2.555) | |
P valuea | 0.0348 | |
Clinical benefit rate (CR, PR, or stable disease ≥ 6 months), n (%) | 92 (33.8) | 60 (22.1) |
95% CI (exact) | (28.2 to 39.8) | (17.3 to 27.6) |
RD (95% CI) | 11.7 (NR) | |
Odds ratio | 1.796 | |
95% CI | (1.227 to 2.628) | |
P valuea | 0.0025 | |
Best overall response, n (%) | ||
CR | 2 (0.7) | 0 |
PR | 55 (20.2) | 38 (14.0) |
Stable disease | 142 (52.2) | 106 (39.1) |
Stable disease ≥ 6 months | 35 (12.9) | 22 (8.1) |
PD | 58 (21.3) | 76 (28.0) |
Not evaluable | 15 (5.5) | 51 (18.8) |
Reasons for being not evaluable, n (%)b | 15 | 51 |
Randomized but never treated | 4 (26.7) | 22 (43.1) |
Treated but early terminated from study treatment before the first postbaseline efficacy assessment due to: | 8 (53.3) | 26 (51.0) |
Informed consent withdrawn | | |||||| | || |||||| |
Adverse event | | |||||| | | ||||| |
COVID-19 | 0 | 3 (5.9) |
Death | | ||||| | | ||||| |
Progressive disease | | ||||| | | ||||| |
Protocol deviation | ||| | | ||||| |
Treated, efficacy assessed, but not evaluablec | | |||||| | | ||||| |
BICR = blinded independent central review; CI = confidence interval; CBR = clinical benefit rate; CR = complete response; ITT = intention to treat; NR = not reported; ORR = objective response rate; PD = progressive disease; PR = partial response; RD = relative difference; RECIST 1.1 = Response Evaluation Criteria in Solid Tumours Version 1.1; TPC = treatment of physician’s choice.
Note: The denominator for percentages was the number of patients in the ITT population. The exact binomial CI for proportion was based on the beta distribution. The P value was based on the Cochran-Mantel-Haenszel test stratified by the stratification factors used in randomization. Objective response was defined as the best confirmed overall response of either CR or PR. The best overall response was derived based on the tumour response per BICR at each tumour assessment according to RECIST 1.1. A response of CR and PR was confirmed no fewer than 4 weeks later. Stable disease required a minimum duration of 6 weeks to be classified as such. The clinical benefit rate was defined as the proportion of patients who had a best confirmed response as CR, PR, or durable, stable disease lasting greater than or equal to 6 months. The ORR per BICR was formally tested sequentially per hierarchical testing procedure with a 2-sided alpha equal to 0.05.
aThe P value was not adjusted for multiple comparisons.
bThe denominator for percentages was the number of patients with a nonevaluable response in each treatment group.
cNonevaluable cases include those with only 1 postscreening assessment as stable disease in which the best overall response is considered not estimable because the stable disease did not meet the minimum duration requirement (≥ 35 days from randomization). There is also a case with only 1 assessment of not estimable, which is due to a partially missing postscreening assessment of a nontarget lesion and a completely missing postscreening assessment of a target lesion.
Sources: TROPiCS-02 Clinical Study Report (interim analysis 2);31 sponsor’s submission.32
The median DoRs per BICR were 8.1 months (95% CI, 6.7 to 9.1) in the sacituzumab govitecan group and 5.6 months (95% CI, 3.8 to 7.9) in the TPC group (hazard ratio and 95% CI of hazard ratio not reported),33 based on the data from 57 responders (CR or PR) in the sacituzumab govitecan group and 38 responders in the TPC group (Table 20).31,70 Similar results were observed for DoR during the local independent review.31
Table 20: Summary of DoR (Confirmed CR or PR) per BICR in the TROPiCS-02 Trial (ITT; Data Cut-Off: July 1, 2022)
Efficacy outcome | Sacituzumab govitecan (N = 57) | TPC (N = 38) |
|---|---|---|
Number of responders (CR or PR) | 57 | 38 |
Patients with events, n (%) | 33 (57.9) | 22 (57.9) |
Patients without events (censored), n (%) | 24 (42.1) | 16 (42.1) |
DoR, months, median (95% CI)a | 8.1 (6.7 to 9.1) | 5.6 (3.8 to 7.9) |
KM estimates of DOR rate, % (95% CI)b | ||
At 3 months | 92.7 (81.8 to 97.2) | 70.6 (50.9 to 83.5) |
RD, % (95% CI) | 22.1 (NR) | |
At 6 months | 70.9 (56.2 to 81.4) | 46.3 (26.9 to 63.7) |
RD, % (95% CI) | 24.6 (NR) | |
At 9 months | 36.2 (21.6 to 51.1) | 19.0 (6.2 to 36.9) |
RD, % (95% CI) | 17.2 (NR) | |
At 12 months | 26.8 (13.7 to 41.8) | 12.6 (2.6 to 30.9) |
RD, % (95% CI) | 14.2 (NR) | |
BICR = blinded independent central review; CI = confidence interval; CR = complete response; DoR = duration of response; ITT = intention to treat; KM = Kaplan-Meier; NR = not reported; PD = progressive disease; PR = partial response; RD = relative difference; RECIST 1.1 = Response Evaluation Criteria in Solid Tumours Version 1.1; TPC = treatment of physician’s choice.
Note: Only patients who had a confirmed CR or PR were included in the analysis. DoR was defined as the number of months (where 1 month = 30.4375 days) from the date of initial response to the date of the event defined as the first documented progression per RECIST 1.1 or death due to any cause, whichever occurred earlier.
aThe median DoR was from the KM estimate. The CI for the median was computed using the Brookmeyer-Crowley method.
bThe DoR rate was the proportion of patients alive without PD after the initial response.
Source: TROPiCS-02 Clinical Study Report (interim analysis 2).31
Because a statistically significant improvement in OS was demonstrated in the sacituzumab govitecan group versus the TPC group at the second interim analysis (data cut-off date: July 1, 2022), TTD in the EORTC QLQ-C30 global health status/QoL, fatigue, and pain domains was formally tested according to the hierarchical testing strategy.31 The diarrhea domain was 1 of the exploratory outcomes that was identified as relevant and important by the clinical experts. TTD was defined as the time from randomization to the first date on which a patient had a greater than or equal to 10-point deterioration from baseline or died due to any cause, whichever occurred first.31,70
For the EORTC QLQ-C30 global health status/QoL domain assessment, data were available for 234 patients (86%) in the sacituzumab govitecan group (272 patients at baseline) and 207 patients (76%) in the TPC group (271 patients at baseline) among the HRQoL-evaluable population of patients with baseline scores in this domain greater than or equal to 10.56 The median TTDs in the global health status/QoL domain were 4.3 months (95% CI, 3.1 to 5.7) in the sacituzumab govitecan group and 3.0 months (95% CI, 2.2 to 3.9) in the TPC group (hazard ratio = 0.75; 95% CI, 0.61 to 0.92; P = 0.006) (Table 21).31
Data were available for 234 patients (86%) in the sacituzumab govitecan group and 205 patients (76%) in the TPC group for the EORTC QLQ-C30 fatigue domain assessment, among the HRQoL-evaluable population of patients who had baseline scores less than or equal to 90 in this domain.56 The median TTDs in the fatigue symptom domain were 2.2 months (95% CI, 1.6 to 2.8) and 1.4 months (95% CI, 1.1 to 1.9) in the sacituzumab govitecan and TPC groups, respectively (hazard ratio = 0.73; 95% CI, 0.60 to 0.89; P = 0.002) (Table 22).31
Data were available for 229 patients (84%) in the sacituzumab govitecan group and 202 patients (75%) in the TPC group for the EORTC QLQ-C30 pain domain assessment, among the HRQoL-evaluable population of patients who had baseline scores less than or equal to 90 in this domain.56 The median TTDs in the pain domain were 3.8 months (95% CI, 2.8 to 5.0) and 3.5 months (95% CI, 2.8 to 5.0) in the sacituzumab govitecan and TPC groups, respectively (hazard ratio = 0.918; 95% CI, 0.748 to 1.126; P = 0.415) (Table 23).31
Data were available for 232 patients (85%) in the sacituzumab govitecan group and ||| ||||| patients in the TPC group for the EORTC QLQ-C30 diarrhea domain assessment, among the HRQoL-evaluable population of patients (patients with very poor baseline scores were excluded).33 The median TTDs in the diarrhea domain ||| ||| |||||| |||| ||| ||| || |||| and ||| |||||| |||| ||| ||| || |||| in the sacituzumab govitecan and TPC groups, respectively ||||||| |||||| |||||| ||| ||| ||||| || |||||| | | ||||||| (Table 24).33
Table 21: TTD in EORTC QLQ-C30 Global Health Status/QoL Domain in the TROPiCS-02 Trial (HRQoL-Evaluable Population; Patients With Baseline Global Health Status/QoL Score ≥ 10; Data Cut-Off: July 1, 2022)
EORTC QLQ-C30 global health status/QoL domain assessment | Sacituzumab govitecan (N = 234) | TPC (N = 207) |
|---|---|---|
Baseline score, mean (SD) Number of patients with baseline scores, n | 63.6 (21.2) n = 236 | 63.7 (20.0) n = 209 |
TTD, N | 234 | 207 |
Patients with events, n (%) | 210 (89.7) | 185 (89.4) |
Patients without events (censored), n (%) | 24 (10.3) | 22 (10.6) |
TTD, months, median (95% CI)a | 4.3 (3.1 to 5.7) | 3.0 (2.2 to 3.9) |
Log-rank P value (stratified)b | 0.0059 | |
Hazard ratio (relative to TPC)b | 0.751 | |
95% CI for hazard ratio | (0.612 to 0.922) | |
KM estimates of event-free rate, % (95% CI)c | ||
At 3 months | 57.0 (50.4 to 63.1) | 49.9 (42.8 to 56.5) |
RD, % (95% CI) | 7.1 (NR) | |
At 6 months | 42.6 (36.1 to 48.9) | 31.0 (24.6 to 37.6) |
RD, % (95% CI) | 11.6 (NR) | |
At 9 months | 33.6 (27.4 to 39.8) | 23.3 (17.5 to 29.7) |
RD, % (95% CI) | 10.3 (NR) | |
At 12 months | 25.2 (19.6 to 31.1) | 14.7 (9.9 to 20.4) |
RD, % (95% CI) | 10.5 (NR) | |
CI = confidence interval; EORTC QLQ-C30 = European Organisation for Research and Treatment of Cancer Quality of Life Questionnaire Version 3.0; HRQoL = health-related quality of life; ITT = intention to treat; IXRS = interactive voice and/or web response system; KM = Kaplan-Meier; NR = not reported; QoL = quality of life; RD = relative difference; SD = standard deviation; TPC = treatment of physician’s choice; TTD = time to deterioration.
Note: TTD was defined as the time from randomization to the first date on which a patient had a greater than or equal to 10-point deterioration from baseline or died due to any cause, whichever occurred earlier. The HRQoL-evaluable population was defined as all patients in the ITT population who had an evaluable assessment at baseline and at least 1 evaluable assessment at postbaseline visits. N is the number of patients in the HRQoL-evaluable population with a baseline global health status/QoL score greater than or equal to 10.
aThe median TTD was from the KM estimate. The CI for the median was computed using the Brookmeyer-Crowley method.
bStratified log-rank test and stratified Cox regression adjusted for stratification factors (based on IXRS): prior chemotherapy regimens for treatment of metastatic disease (2 lines vs. 3 or 4 lines), visceral metastasis (yes or no), and endocrine therapy in the metastatic setting for at least 6 months (yes or no).
cAn event was defined as a greater than or equal to 10-point deterioration from baseline or death due to any cause, whichever occurred earlier.
Source: TROPiCS-02 Clinical Study Report (interim analysis 2).31
Table 22: TTD in EORTC QLQ-C30 Fatigue Domain in the TROPiCS-02 Trial (HRQoL-Evaluable Population; Patients With Baseline Fatigue Score ≤ 90; Data Cut-Off: July 1, 2022)
EORTC QLQ-C30 fatigue domain assessment | Sacituzumab govitecan (N = 234) | TPC (N = 205) |
|---|---|---|
Baseline score, mean (SD) Number of patients with baseline scores, n | 35.0 (23.6) n = 236 | 35.6 (23.9) n = 210 |
TTD, N | 234 | 205 |
Patients with events, n (%) | 218 (93.2) | 191 (93.2) |
Patients without events (censored), n (%) | 16 (6.8) | 14 (6.8) |
TTD, months, median (95% CI)a | 2.2 (1.6 to 2.8) | 1.4 (1.1 to 1.9) |
Log-rank P value (stratified)b | 0.0021 | |
Hazard ratio (relative to TPC)b | 0.732 | |
95% CI for hazard ratio | (0.598 to 0.894) | |
KM estimates of event-free rate, % (95% CI)c | ||
At 3 months | 41.5 (35.1 to 47.8) | 35.0 (28.4 to 41.5) |
RD, % (95% CI) | 6.5 (NR) | |
At 6 months | 28.0 (22.3 to 33.9) | 23.3 (17.6 to 29.4) |
RD, % (95% CI) | 4.7 (NR) | |
At 9 months | 23.9 (18.6 to 29.6) | 17.7 (12.7 to 23.5) |
RD, % (95% CI) | 6.2 (NR) | |
At 12 months | 18.2 (13.4 to 23.5) | 9.9 (6.1 to 14.9) |
RD, % (95% CI) | 8.3 (NR) | |
CI = confidence interval; EORTC QLQ-C30 = European Organisation for Research and Treatment of Cancer Quality of Life Questionnaire Version 3.0; HRQoL = health-related quality of life; ITT = intent to treat; IXRS = interactive voice and/or web response system; KM = Kaplan-Meier; NR = not reported; RD = relative difference; SD = standard deviation; TPC = treatment of physician’s choice; TTD = time to deterioration.
Note: TTD was defined as the time from randomization to the first date on which a patient had a greater than or equal to 10-point deterioration from baseline or died due to any cause, whichever occurred earlier. The HRQoL-evaluable population was defined as all patients in the ITT population who had an evaluable assessment at baseline and at least 1 evaluable assessment at postbaseline visits. N is number of patients in the HRQoL-evaluable population with baseline fatigue score of less than or equal to 90.
aThe median TTD was from the KM estimate. The CI for the median was computed using the Brookmeyer-Crowley method.
bStratified log-rank test and stratified Cox regression adjusted for stratification factors (based on IXRS): prior chemotherapy regimens for treatment of metastatic disease (2 lines vs. 3 or 4 lines), visceral metastasis (yes or no), and endocrine therapy in the metastatic setting for at least 6 months (yes or no).
cAn event was defined as a greater than or equal to 10-point deterioration from baseline or death due to any cause, whichever occurred earlier.
Source: TROPiCS-02 Clinical Study Report (interim analysis 2).31
Table 23: TTD in EORTC QLQ-C30 Pain Domain in the TROPiCS-02 Trial (HRQoL-Evaluable Population; Patients With Baseline Pain Score ≤ 90; Data Cut-Off: July 1, 2022)
EORTC QLQ-C30 pain domain assessment | Sacituzumab govitecan (N = 229) | TPC (N = 202) |
|---|---|---|
Baseline score, mean (SD) Number of patients with baseline scores, n | 28.4 (27.8) n = 236 | 31.4 (27.2) n = 210 |
TTD, N | 229 | 202 |
Patients with events, n (%) | 207 (90.4) | 180 (89.1) |
Patients without events (censored), n (%) | 22 (9.6) | 22 (10.9) |
TTD, months, median (95% CI)a | 3.8 (2.8 to 5.0) | 3.5 (2.8 to 5.0) |
Log-rank P value (stratified)b | 0.4151 | |
Hazard ratio (relative to TPC)b | 0.918 | |
95% CI for hazard ratio | (0.748 to 1.126) | |
KM estimates of event-free rate, % (95% CI)c | ||
At 3 months | 55.3 (48.7 to 61.5) | 55.5 (48.2 to 62.1) |
RD, % (95% CI) | –0.2 (NR) | |
At 6 months | 38.9 (32.5 to 45.3) | 37.4 (30.5 to 44.3) |
RD, % (95% CI) | 1.5 (NR) | |
At 9 months | 30.7 (24.7 to 36.9) | 29.3 (22.9 to 36.0) |
RD, % (95% CI) | 1.4 (NR) | |
At 12 months | 23.2 (17.7 to 29.1) | 18.9 (13.5 to 25.0) |
RD, % (95% CI) | 4.3 (NR) | |
CI = confidence interval; EORTC QLQ-C30 = European Organisation for Research and Treatment of Cancer Quality of Life Questionnaire Version 3.0; HRQoL = health-related quality of life; ITT = intention to treat; IXRS = interactive voice and/or web response system; KM = Kaplan-Meier; NR = not reported; RD = relative difference; SD = standard deviation; TPC = treatment of physician’s choice; TTD = time to deterioration.
Note: TTD was defined as the time from randomization to the first date on which a patient had a greater than or equal to 10-point deterioration from baseline or died due to any cause, whichever occurred earlier. The HRQoL-evaluable population was defined as all patients in the ITT population who had an evaluable assessment at baseline and at least 1 evaluable assessment at postbaseline visits. N is the number of patients in the HRQoL-evaluable population with baseline pain score less than or equal to 90.
aThe median TTD was from the KM estimate. The CI for the median was computed using the Brookmeyer-Crowley method.
bStratified log-rank test and stratified Cox regression adjusted for stratification factors (based on IXRS): prior chemotherapy regimens for treatment of metastatic disease (2 lines vs. 3 or 4 lines), visceral metastasis (yes or no), and endocrine therapy in the metastatic setting for at least 6 months (yes or no).
cAn event was defined as a greater than or equal to 10-point deterioration from baseline or death due to any cause, whichever occurred earlier.
Source: TROPiCS-02 Clinical Study Report (interim analysis 2).31
Table 24: TTD in EORTC QLQ-C30 Diarrhea Domain in the TROPiCS-02 Trial (HRQoL-Evaluable Population; Patients With Baseline Diarrhea Score ≤ 90; Data Cut-Off: July 1, 2022)
EORTC QLQ-C30 diarrhea domain assessment | Sacituzumab govitecan (N = 232) | TPC (N = 208) |
|---|---|---|
Baseline score, mean (SD) Number of patients with baseline scores, n | ||| ||||||||| | ||| | ||| ||||||||| | ||| |
TTD, N | ||| | ||| |
Patients with events, n (%) | ||| |||||| | ||| |||||| |
Patients without events (censored), n (%) | || ||||| | || |||||| |
TTD, months, median (95% CI)a | ||| ||||| |||| | ||| ||||| |||| |
Log-rank P value (stratified)b | |||||| | |
Hazard ratio (relative to TPC)b | ||||| | |
95% CI for hazard ratio | ||||||| |||||| | |
KM estimates of event-free fate, % (95% CI)c | ||
At 3 months | |||| |||||| ||||| | |||| |||||| ||||| |
RD, % (95% CI) | ||||| |||| | |
At 6 months | |||| |||||| ||||| | |||| |||||| ||||| |
RD, % (95% CI) | ||||| |||| | |
At 12 months | |||| |||||| ||||| | |||| |||||| ||||| |
RD, % (95% CI) | |||| |||| | |
CI = confidence interval; EORTC QLQ-C30 = European Organisation for Research and Treatment of Cancer Quality of Life Questionnaire Version 3.0; HRQoL = health-related quality of life; ITT = intention to treat; KM = Kaplan-Meier; NR = not reported; RD = relative difference; SD = standard deviation; SG = sacituzumab govitecan; TPC = treatment of physician’s choice; TTD = time to deterioration.
Note: TTD was defined as the time from randomization to the first date on which a patient had a greater than or equal to 10-point deterioration from baseline or died due to any cause, whichever occurred earlier. The HRQoL-evaluable population was defined as all patients in the ITT population who had an evaluable assessment at baseline and at least 1 evaluable assessment at postbaseline visits. N is the number of patients in the HRQoL-evaluable population with baseline pain score of less than or equal to 90.
aThe median TTD was from the KM estimate. The CI for the median was computed using the Brookmeyer-Crowley method.
bThe hazard ratio and P value were estimated using a stratified Cox proportional-hazards regression analysis with treatment arm (SG vs. TPC) as a covariate and the number of prior chemotherapy regimens for treatment of metastatic disease (2 lines vs. 3 or 4 lines), visceral metastasis (yes or no), and endocrine therapy in the metastatic setting for greater than or equal to 6 months (yes or no) as stratification factors in the model. The Efron method was used to handle ties.
cAn event was defined as a greater than or equal to 10-point deterioration from baseline or death due to any cause, whichever occurred earlier.
Source: Sponsor’s submission.33,34
The analysis of time to treatment discontinuation was performed at the cut-off date of December 1, 2022 (final analysis, overall median [range] duration of follow-up: ||||| |||||| ||||| || |||||); sacituzumab govitecan: ||||| |||||| ||||| || ||||||| |||| ||||| ||||| || ||||||||32,33 The median time to treatment discontinuation was ||| |||||| for patients treated with sacituzumab govitecan compared with ||| |||||| for patients treated with TPC (|||||| |||||| ||||| ||| ||| |||| || ||||| | | ||||||) (Table 25). The 18-month event-free rate was |||| |||| ||| ||| || |||| ||| |||| |||| ||| ||| || |||| for patients treated with sacituzumab govitecan and TPC, respectively. The KM curves for time to treatment discontinuation at the final analysis data cut-off are shown in Figure 10 (Appendix 1).32
Table 25: Time to Treatment Discontinuation in the TROPiCS-02 Trial (Safety Population; Data Cut-Off Date: December 1, 2022)
Time to treatment discontinuation | Sacituzumab govitecan (N = 268)a | TPC (N = 249)a |
|---|---|---|
Patients with events, n (%) | ||| |||||| | ||| |||||| |
Patients without events (censored), n (%) | | ||||| | | ||||| |
Time to treatment discontinuation, months, median (95% CI)b | ||| ||||| |||| | ||| ||||| |||| |
Stratified Cox regression analysis (stratified)c | ||
Hazard ratio (relative to TPC) | |||| | |
95% CI for hazard ratio | |||||| ||||| | |
P valued | | |||||| | |
KM estimates of event-free rate, % (95% CI)e | ||
At 3 months | |||| |||||| ||||| | |||| |||||| ||||| |
RD, % (95% CI) | |||| |||| | |
At 6 months | |||| |||||| ||||| | |||| |||||| ||||| |
RD, % (95% CI) | |||| |||| | |
At 9 months | |||| |||||| ||||| | ||| ||||| ||||| |
RD, % (95% CI) | |||| |||| | |
At 12 months | |||| ||||| ||||| | ||| ||||| |||| |
RD, % (95% CI) | |||| |||| | |
At 18 months | ||| ||||| |||| | ||| ||||| |||| |
RD, % (95% CI) | ||| |||| | |
CI = confidence interval; IXRS = interactive voice and/or web response system; KM = Kaplan-Meier; NR = not reported; RD = relative difference; TPC = treatment of physician’s choice.
Note: KM curves for time to treatment discontinuation were used for conducting parametric fittings.
aThe data submitted for analysis included 543 observations; 26 observations were excluded because patients had not received treatment.
bThe median time to treatment discontinuation was from the KM estimate. The CI for the median was computed using log-log transform.
cStratified Cox regression adjusted for stratification factors (based on IXRS): prior chemotherapy regimens for treatment of metastatic disease (2 lines vs. 3 or 4 lines), visceral metastasis (yes or no), and endocrine therapy in the metastatic setting for at least 6 months (yes or no).
dThe P value was not adjusted for multiplicity.
eThe time to treatment discontinuation event-free rate was the proportion of patients on treatment.
Source: Sponsor’s submission.32
All safety analyses were performed for the safety population (defined in Table 10)56 and included data up to the cut-off date of July 1, 2022. Unless otherwise noted, all AEs and laboratory abnormalities presented were treatment-emergent and are referred to as AEs and laboratory abnormalities throughout this report. Treatment-emergent AEs were defined as any AEs that started on or after the first dose date and up to 30 days after the last dose date. The harms observed in the TROPiCS-02 trial are summarized in Table 26.31
AEs were reported in 100% and 96.0% of patients in the sacituzumab govitecan and TPC groups, respectively. The most commonly reported AEs by treatment group were neutropenia (70.5%), diarrhea (61.9%), and nausea (58.6%) in the sacituzumab govitecan group and neutropenia (54.6%), nausea (34.9%), and fatigue (32.9%) in the TPC group.31
The incidence of SAEs was 27.6% in the sacituzumab govitecan group compared with 19.3% in the TPC group. The most commonly reported SAEs in the sacituzumab govitecan group were diarrhea (4.9%), febrile neutropenia (4.1%), and neutropenia (3.0%), and the most commonly reported SAEs in the TPC group were febrile neutropenia (4.0%), pneumonia (2.0%), nausea (2.0%), and dyspnea (1.6%).31
The incidence of AEs leading to study drug discontinuation was similar in the 2 groups (sacituzumab govitecan = 6.3%; TPC = 4.4%). No trends in AEs leading to study drug discontinuation were identified in either group. AEs leading to study drug discontinuation that were reported for more than 1 patient were neutropenia, asthenia, and general physical health deterioration in the sacituzumab govitecan group, and thrombocytopenia and polyneuropathy in the TPC group.31
Notable AEs leading to dose reduction or study drug interruption are summarized in the following section.
Six patients (2.2%) in the sacituzumab govitecan group and 0 patients in the TPC group had AEs leading to death. One patient experienced an AE leading to death that was assessed by the investigator to have been treatment-related (septic shock due to neutropenic colitis with large intestine perforation). The AEs leading to death in the other 5 patients were assessed by the investigator as not related or unlikely to be related to sacituzumab govitecan. Upon detailed review of the AEs leading to death, no patterns were identified by the investigator regarding specific mechanism or etiology.31
AESIs are summarized in this section.31
The incidence of diarrhea was 61.9% in the sacituzumab govitecan group compared with 22.9% the TPC group. Most events of diarrhea were grade 1 or 2 in severity, nonserious, and did not lead to dose reductions (sacituzumab govitecan = 7.8%; TPC = 0%) or study drug interruptions (sacituzumab govitecan = 3.0%; TPC = 1.2%). One patient (0.4%) in the sacituzumab govitecan group and 0 patients in the TPC group discontinued treatment due to diarrhea.31
The incidence of neutropenia was 72.8% in the sacituzumab govitecan group compared with 55.4% the TPC group. Most events of neutropenia were grade 3 or 4 in severity, nonserious, and led to study drug interruption (sacituzumab govitecan = 50.4%; TPC = 25.3%). Two patients (0.7%) in the sacituzumab govitecan group and 0 patients in the TPC group discontinued the study drug due to neutropenia.31
The incidence of febrile neutropenia appeared similar in the 2 groups (sacituzumab govitecan = 6.0%; TPC = 4.4%). All events of febrile neutropenia were grade 3 or 4 in severity, and most were SAEs. Most events of febrile neutropenia did not lead to dose reduction (sacituzumab govitecan = 3.0%; TPC = 1.2%) or study drug interruption. No patient in either the sacituzumab govitecan or TPC group discontinued the study drug due to febrile neutropenia.31
The incidence of infections was 37.7% in the sacituzumab govitecan group compared with 26.9% in the TPC group. Most infections were grade 1 or 2 in severity, nonserious, and did not lead to dose reduction (sacituzumab govitecan = 0.7%; TPC = 0.4%) or study drug interruption (sacituzumab govitecan = 9.7%; TPC = 4.4%). Three patients (1.1%) in the sacituzumab govitecan group and 1 patient (0.4%) in the TPC group discontinued the study drug due to infections.31
The incidence of neuropathies was 16.4% in the sacituzumab govitecan group compared with 24.9% in the TPC group. Most events of neuropathy were grade 1 or 2 in severity, nonserious, and did not lead to dose reduction (sacituzumab govitecan = 0.4%; TPC = 4.4%) or study drug interruption (sacituzumab govitecan = 0.4%; TPC = 1.6%). One patient (0.4%) in each group discontinued the study drug due to neuropathy.31
The incidence of hypersensitivity was 26.5% in the sacituzumab govitecan group compared with 19.3% the TPC group (19.3%). Most events of hypersensitivity were grade 1 or 2 in severity, nonserious, and did not lead to dose reduction (sacituzumab govitecan = 0; TPC = 1.2%) or study drug interruption (sacituzumab govitecan = 0.7%; TPC = 0.4%). No patient in either group discontinued the study drug due to hypersensitivities.31
Pulmonary events were reported for 0 patients in the sacituzumab govitecan group and 2 patients (0.8%) in the TPC group, both of whom had AEs of pneumonitis.31
The most frequently reported AEs of grade 3 or higher included neutropenia (in 51.5% of patients treated with sacituzumab govitecan and 39.0% of those treated with TPC), leukopenia (8.6% and 6.0%, respectively), infections (9.7% and 4.8%, respectively), and diarrhea (10.1% and 1.2%, respectively), among others.31
Table 26: Summary of Harms Results in the TROPiCS-02 Trial (Safety Population; Data Cut-Off Date: July 1, 2022)
Treatment-emergent adverse events by preferred term | Sacituzumab govitecan (N = 268) | TPC (N = 249) |
|---|---|---|
Most common adverse events (≥ 10% of either treatment group), n (%) | ||
Patients with ≥ 1 AE | 268 (100.0) | 239 (96.0) |
Neutropenia | 189 (70.5) | 136 (54.6) |
Nausea | 157 (58.6) | 87 (34.9) |
Diarrhea | 166 (61.9) | 57 (22.9) |
Fatigue | 105 (39.2) | 82 (32.9) |
Alopecia | 128 (47.8) | 46 (18.5) |
Anemia | 98 (36.6) | 69 (27.7) |
Constipation | 93 (34.7) | 61 (24.5) |
Asthenia | 62 (23.1) | 50 (20.1) |
Decreased appetite | 57 (21.3) | 52 (20.9) |
Vomiting | 64 (23.9) | 39 (15.7) |
Dyspnea | 49 (18.3) | 39 (15.7) |
Abdominal pain | 53 (19.8) | 34 (13.7) |
Pyrexia | 39 (14.6) | 45 (18.1) |
Headache | 44 (16.4) | 36 (14.5) |
Aspartate aminotransferase increase | 33 (12.3) | 44 (17.7) |
Arthralgia | 40 (14.9) | 30 (12.0) |
Alanine aminotransferase increase | 30 (11.2) | 37 (14.9) |
Back pain | 35 (13.1) | 32 (12.9) |
Leukopenia | 38 (14.2) | 25 (10.0) |
Lymphopenia | 32 (11.9) | 29 (11.6) |
Thrombocytopenia | 17 (6.3) | 41 (16.5) |
Blood alkaline phosphatase increase | 25 (9.3) | 27 (10.8) |
Cough | 33 (12.3) | 18 (7.2) |
Hypokalemia | 29 (10.8) | 9 (3.6) |
Pruritus | 32 (11.9) | 6 (2.4) |
Serious adverse events (≥ 1% of either treatment group), n (%) | ||
Patients with ≥ 1 SAE | 74 (27.6) | 48 (19.3) |
Febrile neutropenia | 11 (4.1) | 10 (4.0) |
Diarrhea | 13 (4.9) | 1 (0.4) |
Neutropenia | 8 (3.0) | 2 (0.8) |
Pneumonia | 4 (1.5) | 5 (2.0) |
Nausea | 2 (0.7) | 5 (2.0) |
Vomiting | 5 (1.9) | 2 (0.8) |
Abdominal pain | 6 (2.2) | 0 |
Dyspnea | 2 (0.7) | 4 (1.6) |
Colitis | 4 (1.5) | 1 (0.4) |
Neutropenic colitis | 5 (1.9) | 0 (0.0) |
Pyrexia | 3 (1.1) | 2 (0.8) |
Urinary tract infection | 3 (1.1) | 2 (0.8) |
Acute kidney injury | 3 (1.1) | 1 (0.4) |
Sepsis | 3 (1.1) | 1 (0.4) |
Back pain | 0 | 3 (1.2) |
Patients who stopped treatment due to adverse events, n (%) | ||
Patients who stopped | 17 (6.3) | 11 (4.4) |
Anemia | 1 (0.4) | 1 (0.4) |
Asthenia | 2 (0.7) | 0 |
General physical health deterioration | 2 (0.7) | 0 |
Hyperbilirubinemia | 1 (0.4) | 1 (0.4) |
Neutropenia | 2 (0.7) | 0 |
Pneumonia | 1 (0.4) | 1 (0.4) |
Polyneuropathy | 0 | 2 (0.8) |
Thrombocytopenia | 0 | 2 (0.8) |
Abdominal pain | 1 (0.4) | 0 |
Alanine aminotransferase increase | 1 (0.4) | 0 |
Aspartate aminotransferase increase | 1 (0.4) | 0 |
COVID-19 pneumonia | 1 (0.4) | 0 |
Colitis | 1 (0.4) | 0 |
Decreased appetite | 0 | 1 (0.4) |
Diarrhea | 1 (0.4) | 0 |
Diverticulitis | 1 (0.4) | 0 |
Fatigue | 0 | 1 (0.4) |
Leukopenia | 1 (0.4) | 0 |
Muscular weakness | 1 (0.4) | 0 |
Nervous system disorder | 1 (0.4) | 0 |
Neutropenic colitis | 1 (0.4) | 0 |
Peripheral sensory neuropathy | 0 | 1 (0.4) |
Pleural effusion | 1 (0.4) | 0 |
Pneumonitis | 0 | 1 (0.4) |
Rash | 0 | 1 (0.4) |
Respiratory failure | 1 (0.4) | 0 |
Deaths, n (%) | ||
Patients with any AE leading to death | 6 (2.2) | 0 |
Cardiac disorders | 1 (0.4) | 0 |
Arrhythmia | 1 (0.4) | 0 |
Infections and infestations | 3 (1.1) | 0 |
COVID-19 pneumoniaa | 1 (0.4) | 0 |
Pneumoniab | 1 (0.4) | 0 |
Septic shockb | 1 (0.4) | 0 |
Nervous system disorders | 1 (0.4) | 0 |
Respiratory, thoracic, and mediastinal disorders | 1 (0.4) | 0 |
Pulmonary embolism | 1 (0.4) | 0 |
AEs of special interest, n (%) | ||
Diarrhea | 166 (61.9) | 57 (22.9) |
RD, % (95% CI) | 39.0 (NR) | |
Neutropenia | 195 (72.8) | 138 (55.4) |
RD, % (95% CI) | 17.4 (NR) | |
Febrile neutropenia | 16 (6.0) | 11 (4.4) |
RD, % (95% CI) | 1.6 (NR) | |
Infections | 101 (37.7) | 67 (26.9) |
RD, % (95% CI) | 10.8 (NR) | |
Neuropathies | 44 (16.4) | 62 (24.9) |
RD, % (95% CI) | –8.5 (NR) | |
Hypersensitivities | 71 (26.5) | 48 (19.3) |
RD, % (95% CI) | 7.2 (NR) | |
Pulmonary events | 0 | 2 (0.8) |
RD, % (95% CI) | –0.8 (NR) | |
Grade 3 or higher adverse events, n (%) | ||
Neutropenia | 138 (51.5) | 97 (39.0) |
RD, % (95% CI) | 12.5 (NR) | |
Leukopenia | 23 (8.6) | 15 (6.0) |
RD, % (95% CI) | 2.6 (NR) | |
Infections | 26 (9.7) | 12 (4.8) |
RD, % (95% CI) | 4.9 (NR) | |
Diarrhea | 27 (10.1) | 3 (1.2) |
RD, % (95% CI) | 8.9 (NR) | |
Anemia | 20 (7.5) | 9 (3.6) |
RD, % (95% CI) | 3.9 (NR) | |
Febrile neutropenia | 16 (6.0) | 11 (4.4) |
RD, % (95% CI) | 1.6 (NR) | |
Fatigue | 16 (6.0) | 9 (3.6) |
RD, % (95% CI) | 2.4 (NR) | |
Neuropathies | 7 (2.6) | 9 (3.6) |
RD, % (95% CI) | –1.0 (NR) | |
Hypersensitivities | 4 (1.5) | 2 (0.8) |
RD, % (95% CI) | 0.7 (NR) | |
Pulmonary events | 0 | 1 (0.4) |
RD, % (95% CI) | –0.4 (NR) | |
AE = adverse event; CI = confidence interval; MedDRA = Medical Dictionary for Regulatory Activities; NR = not reported; PT = preferred term; RD = relative difference; SAE = serious adverse event; TPC = treatment of physician’s choice.
Note: The following terms were mapped: neutrophil count decreased was mapped to neutropenia; white blood cell count decreased and was mapped to neutropenia leukopenia; lymphocyte count decreased and was mapped to neutropenia lymphopenia; hemoglobin decreased and was mapped to neutropenia anemia; red blood cell count decreased and was mapped to anemia; platelet count decreased and was mapped to thrombocytopenia. The denominator for percentages was the number of patients in the safety population for each treatment group. Treatment-emergent AEs were defined as any AEs that started on or after the first dose date and up to 30 days after the last dose date. Multiple AEs were counted only once per patient for each PT. MedDRA Version 25.0 was used for coding. PTs are presented in descending order of total frequency.
aPatients with these AEs leading to death in the infections and infestations system organ class were not neutropenic at event onset.
bOne patient experienced a treatment-related AE leading to death from septic shock due to neutropenic colitis with large intestine perforation.
Source: TROPiCS-02 Clinical Study Report (interim analysis 2).31,33
Randomization in the TROPiCS-02 trial was performed using an appropriate methodology with adequate allocation concealment (i.e., an interactive, web-based response system), and randomization stratification was based on relevant prognostic factors (i.e., the presence of visceral metastases [yes or no], endocrine therapy in the metastatic setting [yes or no], and the number of prior lines of chemotherapy [2 lines versus 3 or 4]). Overall, baseline characteristics, including patient-reported HRQoL measures, were generally similar, and no imbalances in baseline characteristics of prognostic importance between the 2 groups were identified, according to the clinical experts. Notably, there was an imbalance in the proportion of patients who were randomized but not treated (4 patients [1.5%] in the sacituzumab govitecan group and 22 patients [8.1%] in the TPC group). The baseline demographic and disease characteristics of these patients were not available; as such, it was not possible to determine whether these patients differed from treated patients with respect to their prognostic factors. The presence and extent of any bias that may have been introduced could not be determined.
The proportion of patients who received at least 1 concomitant medication was high in both groups (||||| in the sacituzumab govitecan group versus ||||| in the TPC group). The clinical experts commented that most of the concomitant medications were likely for the management of AEs, and that the imbalances in some of them likely reflected the different incidences of AEs related to the treatments and were less likely to influence the effect estimates in the TROPiCS-02 trial.
The proportion of patients with no baseline images or who were not postbaseline evaluable was higher in the TPC group (37 patients; 13.7% of the total patients allocated in the TPC group) than in the sacituzumab govitecan group (8 patients; 2.9%), mainly due to the imbalance in patients who were randomized but never treated (4 patients [50.0%] among those with no baseline images or who were not postbaseline evaluable in the sacituzumab govitecan group and 21 patients [56.8%] in the TPC group) (Table 17). Furthermore, for the 2 outcomes for tumour response to treatment (ORR and CBR), the proportion of patients who were not evaluable was higher in the TPC group (51 patients; 18.8% of the total patients allocated) than in the sacituzumab govitecan group (15 patients; 5.5%), mainly due to the imbalance in patients who were randomized but never treated (4 nonevaluable patients [26.7%] in the sacituzumab govitecan and 22 nonevaluable patients [43.1%] in the TPC groups) and due to an imbalance across the groups in the proportion of patients who withdrew consent (| |||||| of the nonevaluable patients in the sacituzumab govitecan and || ||||||| in the TPC groups). The reasons for patients being randomized but never treated were not reported. As such, it is not possible to determine whether the results would be at risk of bias, because it is not known whether there were imbalances in the prognostic characteristics of these patients relative to those who were randomized and treated (or who did or did not withdraw consent).
The TROPiCS-02 trial had an open-label study design. The design could potentially increase the risk of bias due to deviations from the intended interventions and in the measurement of the outcomes, particularly for outcomes with a subjective nature, including the PROs (TTD in the self-reported domains in EORTC QLQ-C30) and some AEs (e.g., nausea, rash, diarrhea, neuropathy, and fatigue). Response outcomes (i.e., PFS, ORR, CBR, and DoR) were assessed through BICR; therefore, the risk of bias was mitigated for the measurement of these. OS and some AEs (e.g., neutropenia, febrile neutropenia, leukopenia, and anemia) were objective measures with standardized criteria and/or relied on objective clinical or laboratory examination. As such, the risk of bias in the measurement of these outcomes is low.
For PROs (i.e., the 4 domains of the EORTC QLQ-C30), data were analyzed for approximately 80% of patients in the total study population who had baseline scores with room for at least a 10-point deterioration (i.e., global health status/QoL score ≥ 10 and baseline pain, fatigue, and diarrhea scores ≤ 90) among the HRQoL population (i.e., patients who had an evaluable assessment of HRQoL at baseline and at least 1 evaluable assessment of HRQoL at postbaseline visits). As a result, there were missing outcome data for the PRO measures (18.1%, 19.2%, 20.6%, and ||||| for the global health status/QoL, fatigue, pain, and diarrhea domains, respectively). The impact of the missing data is unclear.
No significant protocol deviations were noted in either group of the TROPiCS-02 trial. The prespecified sensitivity analyses were completed and supported the effect estimate for the primary end point.
Overall, the statistical methods used in the TROPiCS-02 trial are appropriate. The trial was powered on its primary outcome; however, the subgroup analyses were likely underpowered to identify subgroup differences. The statistical tests were appropriate, using a hierarchical testing approach to control for type I error. The stratified Cox proportional-hazards model was used for the survival outcomes. In a visual inspection of the KM plots, the lines approximately followed a parallel trajectory for most outcomes. Specifically, no crossing of the 2 lines was observed for PFS at the data cut-off date of January 3, 2022 (Figure 4); for OS, the 2 lines crossed at 3 months and 28 months after treatment at the data cut-off date of July 1, 2022 (Figure 6). The missing outcome data for the HRQoL measures were not imputed; however, the patients who were not analyzed would have been censored on the last nonmissing assessment date or at the randomization date, as per the study protocol (Table 8). Generally, multiplicity control appeared adequate. For a few secondary end points (OS at the exploratory final analysis and CBR at IA2) and for the sensitivity analyses of PFS at IA1, the statistical testing was not controlled for multiplicity; therefore, there is an increased risk of false-positive results. However, these results were supportive of the primary analyses of these outcomes. In the time-to-event analysis of PFS, OS, DoR (among 95 responders), and time to treatment discontinuation (with 36 of 543 observations excluded from the analyses due to patients not receiving treatment), all the patients were included in the evaluation regardless of event occurrence. In general, censoring was balanced between the groups for the OS, PFS, DoR, and TTD outcomes.
Patients in the TROPiCS-02 trial were enrolled in 9 countries in North America and Europe. The majority were from the US (42.0%), France (25.2%), and Spain (12.7%). One patient who was allocated to the TPC group was from Canada. A total of 66.7% of the patients were white, while 3.9% identified as Black or African American. Race or ethnicity information was not reported for 25.6% of the patients because some local regulators did not allow the collection of such information. Patients were aged 27 years to 86 years (mean, |||| ||||| |||| ||||||||). The majority of the patients were female (99.1%). The proportion of patients who had de novo mBC at baseline was 25.4%. About 70% of the patients who were screened entered the trial. The main reason for screening failure was not meeting the inclusion criteria. The clinical experts commented that the overall patient profile likely reflected the patients seen in clinical practice in Canada.
The clinical experts noted that some patients who did not meet the eligibility criteria of the TROPiCS-02 trial might still be eligible for treatment with sacituzumab govitecan in clinical practice (i.e., the trial had more stringent patient eligibility criteria). The clinical experts indicated that patients with an ECOG PS of 2 (but no greater) would likely be treated with sacituzumab govitecan in practice, and that if taxanes had not been used due to a medical contraindication, patients should still be eligible for treatment. The clinical experts also agreed that patients with brain metastases would be treated with sacituzumab govitecan following treatment for those metastases. Any differences between the patients in the TROPiCS-02 trial and those who would be treated in clinical practice in Canada were not considered serious enough to result in important differences in the observed effect, according to the clinical experts consulted by CADTH.
The clinical experts commented that the concomitant medications used in the TROPiCS-02 trial were reflective of those encountered in clinical practice in Canada and that the comparators (any of the 4 chemotherapy drugs of eribulin, capecitabine, gemcitabine, and vinorelbine) and administration of the study treatments (dosages and settings) were in line with clinical practice in Canada. Outcomes regarded as relevant and important to patients, clinicians, and drug plans were measured and reported in the trial, according to the inputs from the patient and clinician groups and clinical experts.
For the pivotal studies and RCTs identified in the sponsor’s systematic review, GRADE was used to assess the certainty of the evidence for the outcomes considered most relevant to inform CADTH’s expert committee deliberations. A final certainty rating was determined as outlined by the GRADE working group:35,36
High certainty indicates that the group is very confident that the true effect lies close to that of the estimate of the effect.
Moderate certainty indicates that the group is moderately confident in the effect estimate. The true effect is likely to be close to the estimate of the effect, but there is a possibility that it is substantially different. The word “likely” is used to describe evidence of moderate certainty (e.g., “X intervention likely results in Y outcome”).
Low certainty indicates that the group’s confidence in the effect estimate is limited. The true effect may be substantially different from the estimate of the effect. The word “may” is used for evidence of low certainty (e.g., “X intervention may result in Y outcome”).
Very low certainty indicates that the group has very little confidence in the effect estimate. The true effect is likely to be substantially different from the estimate of effect. Evidence of very low certainty is described as “very uncertain.”
Following the GRADE approach, evidence from the RCTs began as high-certainty evidence and could be rated down for concerns related to study limitations (i.e., internal validity or risk of bias), inconsistency across studies, indirectness, imprecision of effects, and publication bias.
When possible, certainty was rated in the context of the presence of an important (nontrivial) treatment effect; if this was not possible, certainty was rated in the context of the presence of any treatment effect (i.e., the clinical importance is unclear). In all cases, the target of the certainty of evidence assessment was based on the point estimate and where it was located relative to the threshold for a clinically important effect (when a threshold was available) or to the null. Due to the lack of a formal MID estimate and the unavailability of absolute effect estimates with CIs, the target of the certainty of evidence assessment was the presence or absence of any (non-null) effect for PFS, OS, ORR, CBR, DoR, 4 domains of the EORTC QLQ-C30 (global health status/QoL, fatigue, pain, and diarrhea), time to treatment discontinuation, and AEs of grade 3 or higher, including diarrhea, neutropenia, febrile neutropenia, leukopenia, anemia, fatigue, infections, neuropathies, hypersensitivities, and pulmonary events.
Table 2 presents the GRADE summary of findings for sacituzumab govitecan versus TPC in adult patients with unresectable, locally advanced or metastatic, HR-positive, HER2-negative BC who received endocrine-based therapy and at least 2 additional systemic therapies in the metastatic setting.
No long-term extension studies were identified for this review.
No indirect evidence was identified for this review.
No studies addressing gaps in the pivotal and RCT evidence were identified for this review.
This systematic review included evidence of the benefits and harms from 1 pivotal trial. No open-label extension study, indirect treatment comparison, or studies addressing gaps were identified.
The pivotal study (TROPiCS-02) was a phase III, multicentre, multinational, open-label, randomized trial that compared sacituzumab govitecan with TPC in adult patients with unresectable, locally advanced or metastatic, HR-positive, HER2-negative (IHC 0, IHC 1+, or IHC 2+, and ISH-negative) BC who received endocrine-based therapy and at least 2 additional systemic therapies in the metastatic setting. Five hundred 43 eligible patients from North America and Europe (mean age = |||| years |||| ||||||| 0.9% males and 99.1% females) were randomized in a 1 to 1 ratio to either sacituzumab govitecan (10 mg/kg, administered as an IV infusion once weekly on days 1 and 8 of a 21-day treatment cycle) or TPC (1 of eribulin, capecitabine, gemcitabine, or vinorelbine, based on investigators’ choice). Patients were treated until progression requiring further treatment, unacceptable toxicity, study withdrawal, or death. Measures of survival (PFS and OS), tumour response to treatment (ORR, CBR, and DoR), PROs (TTD in the EORTC QLQ-C30 domains of global health status/QoL, fatigue, pain, and diarrhea), and time to treatment discontinuation were compared. Harms were also measured and reported.
HR-positive, HER2-negative mBC is associated with a poor prognosis, particularly after endocrine resistance has developed. The treatment goal is primarily to extend patients’ lives. Patients want an enhanced or acceptable level of HRQoL, symptom relief, and manageable adverse effects of therapy. In the TROPiCS-02 study, it was demonstrated that compared to TPC in the ITT setting, sacituzumab govitecan results in an improvement in PFS (the primary end point) (median = 5.5 months versus 4.0 months) and OS (median = 14.4 months versus 11.2 months), and likely results in an increase in ORR (21.0% versus 14.0%) and CBR (33.8% versus 22.1%). According to the clinical experts, OS is an outcome of greater importance than PFS for patients, and the increase in OS with sacituzumab govitecan versus TPC is clinically significant. The clinical experts noted that, although a benefit was shown for sacituzumab govitecan in PFS, the PFS was relatively short in both groups, and the clinical meaningfulness of the between-group difference of approximately 1.5 months in median value was uncertain. One possible reason for the short PFS could be that most patients in the TROPiCS-02 trial had had the disease for a relatively long period (median months from initial metastatic diagnosis = 48.5 months in the sacituzumab govitecan group versus 46.6 months in the TPC group, respectively), had visceral metastases (95% in both groups), and had already received extensive chemotherapy in the metastatic setting (a median of 3 regimens in both groups) at baseline.53 Patients with HR-positive, HER2-negative mBC eventually develop resistance to endocrine-based therapy, and there are limited options for later-line treatments.30,31,53 According to the clinical experts consulted for this review, the profile of the patients in the TROPiCS-02 trial, all of whom had received a prior CDK4/6 inhibitor, endocrine therapy, and at least 2 lines of chemotherapy (including a taxane) for mBC, was reflective of standard of care, and it was valuable to address the efficacy of a regimen that could be used after CDK4/6 inhibitor treatment. The clinical experts also indicated that greater effects may be expected if treatment with sacituzumab govitecan was initiated earlier.
Evidence from the trial showed that relative to TPC, sacituzumab govitecan may result in an increase in TTD in the EORTC QLQ-C30 global health status/QoL and fatigue domains and a decrease in the diarrhea domain. There was uncertainty in these results due to the risk of bias arising from missing outcome data (approximately 20% of patients were not included in the analyses), the open-label nature of the trial, and the subjective nature of the outcome. The evidence for the pain domain was very uncertain due to risk of bias and imprecision. (The CI for the between-group difference included no difference.) The clinical experts commented that the effect on HRQoL in the TROPiCS-02 trial was uncertain.
Time to treatment discontinuation was identified as a relevant and important outcome by the clinical experts; it is also useful to inform the pharmacoeconomic model. It has been found that treatment discontinuation is a negative predictor of survival in patients with advanced BC or mBC, and that deterioration in patients’ global health status, physical and role functioning, and fatigue may be associated with chemotherapy discontinuation.71,72 The TROPiCS-02 trial showed that the median time to treatment discontinuation for patients treated with sacituzumab govitecan was longer than for those treated with TPC (4.1 months versus 2.3 months), and that at various follow-up time points, higher rates of patients maintained their assigned treatment in the sacituzumab govitecan group compared to the TPC group.
In the TROPiCS-02 trial, the safety profile of sacituzumab govitecan was comparable to that of TPC. The proportions of patients who experienced at least 1 AE of any severity were comparable between the 2 treatment arms for some of the most-reported AEs (e.g., asthenia, decreased appetite, headache, and so on). Similarly low occurrences of SAEs (under 5%) were observed in both treatment arms. Six patients in the sacituzumab govitecan group versus 0 patients in the TPC group had any AE leading to death. After examining the specific AEs of these 6 patients, the trial investigators assessed 1 AE as treatment-related (septic shock due to neutropenic colitis with large intestine perforation).31 The clinical experts commented that the rest of those specific AEs were likely not directly induced by the treatment with sacituzumab govitecan. Higher proportions of patients had neutropenia and diarrhea in the sacituzumab govitecan group compared with the TPC group, with specific by-arm (sacituzumab govitecan versus TPC) data as follows: neutropenia of any severity (70.5% versus 54.6%), neutropenia of grade 3 or higher (51.5% versus 39.0%), diarrhea of any severity (61.9% versus 22.9%), and diarrhea of grade 3 or higher (10.1% versus 1.2%). According to the sponsor’s submission, these AEs were generally manageable with supportive medication and dose modifications.30 The product monograph of sacituzumab govitecan lists severe or life-threatening neutropenia and/or severe diarrhea among the serious warnings and precautions of the drug and recommends management strategies for them, including adjusting the dose, withholding treatment, and having patients monitor for and evaluate infectious causes before reinitiating treatment.51 For the AEs of grade 3 or higher that were identified as important by the clinical experts and/or to inform the pharmacoeconomic model for this review, sacituzumab govitecan may result in an increase in diarrhea, neutropenia, febrile neutropenia, leukopenia, anemia, fatigue, and infections of grade 3 or higher, compared with TPC. The clinical importance of the increase in these outcomes is uncertain. Sacituzumab govitecan may result in little to no difference in neuropathies, hypersensitivities, and pulmonary events. Except for neutropenia of grade 3 or higher (51.5% versus 39.0% in the sacituzumab govitecan and the TPC groups, respectively), the rates of the rest of these outcomes were 0 to 10.1% in both treatment groups.
One phase III, multicentre, multinational, open-label, randomized trial (TROPiCS-02) compared sacituzumab govitecan with TPC in adult patients with unresectable, locally advanced or metastatic, HR-positive, HER2-negative BC who had received endocrine-based therapy and at least 2 additional systemic therapies in the metastatic setting. Sacituzumab govitecan results in a clinically important increase in OS. Compared with TPC, sacituzumab govitecan results in an increase in PFS and time to treatment discontinuation, likely results in an increase in ORR and CBR, and may result in an increase in DoR and TTD in the EORTC QLQ-C30 domains of global health status/QoL and fatigue. The clinical importance of these outcomes is uncertain. Sacituzumab govitecan may result in a clinically important decrease in TTD in the EORTC QLQ-C30 diarrhea domain. The evidence is very uncertain about the effect of sacituzumab govitecan on TTD in the EORTC QLQ-C30 pain domain compared with TPC. The evidence shows that sacituzumab govitecan likely results in an increase in neutropenia of grade 3 or higher, and may result in an increase in grade 3 or higher diarrhea, febrile neutropenia, leukopenia, anemia, fatigue, and infections when compared with TPC. The clinical importance of the increase in these outcomes is uncertain. Sacituzumab govitecan may result in little to no difference in neuropathies, hypersensitivities, and pulmonary events compared with TPC.
1.Canada-specific stats 2022. Toronto (ON): Canadian Cancer Society; 2022: https://cdn.cancer.ca/-/media/files/research/cancer-statistics/2022-statistics/2022_cancer-specific-stats.pdf?rev=-1&hash=8F7A64F283474C814CE576BDC91C1544&_gl=1*fl9nch*_ga*MTA2MDQ5NjY4Ni4xNjc1MTkwNDIw*_ga_23YMKBE2C3*MTY3NTE5MDQyMC4xLjEuMTY3NTE5MDQ2Mi4xOC4wLjA. Accessed 2023 Aug 8.
2.National Cancer Institute. Cancer stat facts: female breast cancer subtypes. 2022; https://seer.cancer.gov/statfacts/html/breast-subtypes.html, 2022 May 25.
3.Breast cancer facts and figures 2019-2020. Kennesaw (US): American Cancer Society; 2019: https://www.cancer.org/content/dam/cancer-org/research/cancer-facts-and-statistics/breast-cancer-facts-and-figures/breast-cancer-facts-and-figures-2019-2020.pdf. Accessed 2023 Aug 8.
4.Simon J, Chaix M, Billa O, et al. Survival in patients with HR+/HER2− metastatic breast cancer treated with initial endocrine therapy versus initial chemotherapy. A French population-based study. Br J Cancer. 2020;123(7):1071-1077. PubMed
5.Canadian Cancer Society. What is breast cancer. 2023; https://cancer.ca/en/cancer-information/cancer-types/breast/what-is-breast-cancer, 2023 Aug 15.
6.Allison KH, Hammond MEH, Dowsett M, et al. Estrogen and progesterone receptor testing in breast cancer: ASCO/CAP guideline update. J Clin Oncol. 2020;38(12):1346-1366. PubMed
7.Tarantino P, Hamilton E, Tolaney SM, et al. HER2-low breast cancer: pathological and clinical landscape. J Clin Oncol. 2020;38(17):1951-1962. PubMed
8.Wolff AC, Hammond MEH, Allison KH, et al. Human epidermal growth factor receptor 2 testing in breast cancer: American Society of Clinical Oncology/College of American Pathologists clinical practice guideline focused update. Arch Pathol Lab Med. 2018;142(11):1364-1382. PubMed
9.Zhang H, Moisini I, Turner BM, et al. Significance of HER2 in microinvasive breast carcinoma. Am J Clin Pathol. 2021;156(1):155-165. PubMed
10.NCCN Clinical Practice Guidelines: breast cancer screening and diagnosis. Version 1.2020. Plymouth Meeting (PA): National Comprehensive Cancer Network; 2020: https://www.nccn.org/professionals/physician_gls/pdf/breast-screening.pdf. Accessed 2023 Aug 8.
11.American Cancer Society. Breast cancer signs and symptoms. 2022; https://www.cancer.org/cancer/breast-cancer/about/breast-cancer-signs-and-symptoms.html. Accessed 2022 Jul 11.
12.Brenner DR, Poirier A, Woods RR, et al. Projected estimates of cancer in Canada in 2022. CMAJ. 2022;194(17):E601-E607. PubMed
13.Canadian Cancer Statistics Advisory in collaboration with the Canadian Cancer Society, Statistics Canada and the Public Health Agency of Canada. Canadian cancer statistics: a 2022 special report on cancer prevalence. Toronto (ON): Canadian Cancer Society: https://cdn.cancer.ca/-/media/files/research/cancer-statistics/2022-statistics/2022-special-report/2022_prevalence_report_final_en.pdf?rev=7755f9f350e845d58e268a59e3be608e&hash=3F3F30CADD8CAF0049636B5A41EDBB13&_gl=1*21rw8e*_ga*MTI5OTE3MTQ0Ni4xNjQzMzA0MDMz*_ga_23YMKBE2C3*MTY2NzkxMDY0My4zMTcuMS4xNjY3OTEwNjQ2LjU3LjAuMA. Accessed 2023 Aug 8.
14.Statistics Canada. Population estimates on July 1st, by age and sex. 2022; https://www150.statcan.gc.ca/t1/tbl1/en/tv.action?pid=1710000501, 2023 Jul 19.
15.Pan H, Gray R, Braybrooke J, et al. 20-year risks of breast-cancer recurrence after stopping endocrine therapy at 5 years. N Engl J Med. 2017;377(19):1836-1846. PubMed
16.Li Y, Wang S, Yang W, Liu H. Prognostic significance of molecular subtype, metastatic site and primary tumor surgery for survival in primary metastatic breast cancer: a SEER-based study. Medicine. 2021;100(27). PubMed
17.Salvo EM, Ramirez AO, Cueto J, et al. Risk of recurrence among patients with HR-positive, HER2-negative, early breast cancer receiving adjuvant endocrine therapy: a systematic review and meta-analysis. Breast. 2021;57:5-17. PubMed
18.Waks AG, Gharaibeh M, Sjekloca N, et al. 253P Unmet need in heavily pre-treated patients with HR+/HER2- metastatic breast cancer (mBC) in the US: a ConcertAI analysis. Ann Oncol. 2022;33:S653.
19.pan-Canadian Oncology Drug Review final clinical guidance report: eribulin (Halaven) for metastatic breast cancer. Ottawa (ON): CADTH; 2012: https://www.cadth.ca/sites/default/files/pcodr/pcodr-halavenmb-fn-cgr.pdf. Accessed 2021 Apr 15.
20.pan-Canadian Oncology Drug Review final clinical guidance report: pertuzumab (Perjeta) for metastatic breast cancer. Ottawa (ON): CADTH; 2013: https://www.cadth.ca/sites/default/files/pcodr/pcodr-perjetacp-mbc-fn-cgr.pdf. Accessed 2021 Apr 15.
21.CADTH Reimbursement Review report: alpelisib (Piqray - Novartis Pharmaceuticals Inc). Can J Health Technol. 2022;2(3). https://www.cadth.ca/sites/default/files/DRR/2022/PC0247-Piqray.pdf. Accessed 2023 Mar 7.
22.CADTH Reimbursement Review: provisional funding algorithm: hormone receptor positive, human epidermal growth factor receptor 2 negative breast cancer. Ottawa (ON): CADTH; 2023: https://www.cadth.ca/sites/default/files/DRR/2022/PH0018%20HR%2B%20HER2-%20Breast%20Cancer%20Implementation%20Advice%20Report%20Algorithm%20v5%20for%20Stakeholder%20Feedback.pdf. Accessed 2023 Feb 1.
23.Gennari A, André F, Barrios CH, et al. ESMO Clinical Practice Guideline for the diagnosis, staging and treatment of patients with metastatic breast cancer. Ann Oncol. 2021;32(12):1475-1495. PubMed
24.Kaufman PA, Awada A, Twelves C, et al. Phase III open-label randomized study of eribulin mesylate versus capecitabine in patients with locally advanced or metastatic breast cancer previously treated with an anthracycline and a taxane. J Clin Oncol. 2015;33(6):594-601. PubMed
25.Cortes J, O'Shaughnessy J, Loesch D, et al. Eribulin monotherapy versus treatment of physician's choice in patients with metastatic breast cancer (EMBRACE): a phase 3 open-label randomised study. Lancet. 2011;377(9769):914-923. PubMed
26.Rugo HS, Dieras V, Cortes J, et al. Real-world survival outcomes of heavily pretreated patients with refractory HR+, HER2-metastatic breast cancer receiving single-agent chemotherapy-a comparison with MONARCH 1. Breast Cancer Res Treat. 2020;184(1):161-172. PubMed
27.Yuan P, Hu X, Sun T, et al. Eribulin mesilate versus vinorelbine in women with locally recurrent or metastatic breast cancer: a randomised clinical trial. Eur J Cancer. 2019;112:57-65. PubMed
28.Twelves C, Awada A, Cortes J, et al. Subgroup analyses from a phase 3, open-label, randomized study of eribulin mesylate versus capecitabine in pretreated patients with advanced or metastatic breast cancer. Breast Cancer (Auckl). 2016;10:77-84. PubMed
29.CADTH Drug Reimbursement Expert Review Committee final recommendation: sacituzumab govitecan (Trodelvy - Gilead Sciences Canada, Inc.). Can J Health Technol. 2022;2(2). https://www.cadth.ca/sites/default/files/DRR/2022/PC0254%20Trodelvy%20-%20CADTH%20Final%20Rec-meta.pdf. Accessed 2023 Aug 8.
30.Clinical Study Report: IMMU-132-09 (TROPiCS-02). Phase 3 study of sacituzumab govitecan (IMMU-132) versus Treatment of Physician’s Choice (TPC) in subjects with Hormonal Receptor-Positive (HR+) Human Epidermal Growth Factor Receptor 2 (HER2) Negative Metastatic Breast Cancer (MBC) who have failed at least two prior chemotherapy regimens [internal sponsor's report]. Foster City (US): Gilead Sciences, Inc; 2022 Jun 28.
31.Clinical Study Report: IMMU-132-09 (TROPiCS-02). Phase 3 study of sacituzumab govitecan (IMMU-132) versus Treatment of Physician’s Choice (TPC) in subjects with Hormonal Receptor-Positive (HR+) Human Epidermal Growth Factor Receptor 2 (HER2) Negative Metastatic Breast Cancer (MBC) who have failed at least two prior chemotherapy regimens [internal sponsor's report]. Foster City (US): Gilead Sciences, Inc; 2022 Nov 8.
32.Gilead Sciences, Inc. response to August 28, 2023 CADTH request for additional information regarding Trodelvy (sacituzumab govitecan) CADTH review [internal sponsor's report]. Foster City (US): Gilead Sciences, Inc; 2023 September 7.
33.Gilead Sciences, Inc. response to September 18, 2023 CADTH request for additional information regarding Trodelvy (sacituzumab govitecan) CADTH review [internal sponsor's report]. Foster City (US): Gilead Sciences, Inc; 2023 September 21.
34.Gilead Sciences, Inc. response to September 26, 2023 CADTH request for additional information regarding Trodelvy (sacituzumab govitecan) CADTH review [internal sponsor's report]. Foster City (US): Gilead Sciences, Inc; 2023 September 29.
35.Balshem H, Helfand M, Schünemann HJ, et al. GRADE guidelines: 3. Rating the quality of evidence. J Clin Epidemiol. 2011;64(4):401-406. PubMed
36.Santesso N, Glenton C, Dahm P, et al. GRADE guidelines 26: informative statements to communicate the findings of systematic reviews of interventions. J Clin Epidemiol. 2020;119:126-135. PubMed
37.NCCN Clinical Practice Guidelines: breast. Version 4.2023 Plymouth Meeting (PA): National Comprehensive Cancer Network; 2023: https://www.nccn.org/professionals/physician_gls/pdf/breast.pdf. Accessed 2023 Aug 8.
38.Bhushan A, Gonsalves A, Menon JU. Current state of breast cancer diagnosis, treatment, and theranostics. Pharmaceutics. 2021;13(5). PubMed
39.Breast cancer management guidelines. Vancouver (BC): BC Cancer; 2017: http://www.bccancer.bc.ca/books/breast. Accessed 2023 Feb 1.
40.Breast cancer clinical guidelines. 6.9.0 metastatic breast cancer. Vancouver (BC): BC Cancer; 2017: http://www.bccancer.bc.ca/books/breast/management/metastatic-breast-cancer. Accessed 2021 Feb 8.
41.Seung SJ, Traore AN, Pourmirza B, Fathers KE, Coombes M, Jerzak KJ. A population-based analysis of breast cancer incidence and survival by subtype in Ontario women. Curr Oncol. 2020;27(2):191-198. PubMed
42.Modi S, Jacot W, Yamashita T, et al. Trastuzumab deruxtecan in previously treated HER2-low advanced breast cancer. N Engl J Med. 2022;387(1):9-20. PubMed
43.Gradishar WJ, Moran MS, Abraham J, et al. Breast cancer, version 3.2022, NCCN Clinical Practice Guidelines in Oncology. J Natl Compr Canc Netw. 2022;20(6):691-722. PubMed
44.ESMO metastatic breast cancer living guideline: ER-positive HER2-negative breast cancer v1.1 Lugano (CH): European Society for Medical Oncology; 2023: https://www.esmo.org/living-guidelines/esmo-metastatic-breast-cancer-living-guideline/er-positive-her2-negative-breast-cancer. Accessed 2023 Aug 8.
45.CADTH Drug Reimbursement Expert Review Committee final recommendation: alpelisib (Piqray - Novartis Pharmaceuticals Canada Inc.). Can J Health Technol. 2022;2(2). https://www.cadth.ca/sites/default/files/DRR/2022/PC0247%20Piqray%20-%20Final%20CADTH%20Rec-meta.pdf. Accessed 2023 Aug 8.
46.Enhertu (trastuzumab deruxtecan): powder for concentrate for solution for infusion, 100 mg, intravenous infusion [product monograph]. Mississauga (ON): AstraZeneca Canada Inc.; 2023 Jan 6: https://pdf.hres.ca/dpd_pm/00069043.PDF. Accessed 2023 Feb 1.
47.Schettini F, Chic N, Brasó-Maristany F, et al. Clinical, pathological, and PAM50 gene expression features of HER2-low breast cancer. NPJ Breast Cancer. 2021;7(1):1-13. PubMed
48.CADTH Reimbursement Review report: trastuzumab deruxtecan (Enhertu - AstraZeneca Canada Inc.). Can J Health Technol. 2023;3(7). https://www.cadth.ca/sites/default/files/DRR/2023/PC0305%20Enhertu%20-%20Final%20CADTH%20Recommendation%20(with%20redactions)%20June%2029%2C%202023%20-%20KH_KAS%20-%20KH-meta.pdf. Accessed 2023 Aug 8.
49.Trodelvy (sacituzumab govitecan) for the treatment of adult patients with unresectable locally advanced or metastatic hormone receptor (HR)-positive, human epidermal growth factor receptor 2 (HER2)-negative (IHC 0, IHC 1+ or IHC 2+/ISH-) breast cancer who have received endocrine based therapy and at least two additional systemic therapies in the metastatic setting [internal sponsor's report]. In: Drug Reimbursement Review sponsor submission: Trodelvy (sacituzumab govitecan), 180 mg lyophilized powder for solution for injection, for intravenous use. Mississauga (ON): Gilead Sciences Canada, Inc; 2023 Jul 18.
50.Grinda T, Antoine A, Jacot W, et al. Evolution of overall survival and receipt of new therapies by subtype among 20 446 metastatic breast cancer patients in the 2008-2017 ESME cohort. ESMO open. 2021;6(3):100114. PubMed
51.Trodelvy (sacituzumab govitecan), 180 mg, vial of lyophilized powder for solution for injection, for intravenous use [product monograph]. Mississauga (ON): Gilead Sciences Canada, Inc; 2023 Jul 19.
52.Final overall survival analysis from the phase 3 TROPiCS-02 study of sacituzumab govitecan in patients with hormone receptor-positive/HER2- negative metastatic breast cancer [internal sponsor's report]. In: Drug Reimbursement Review sponsor submission: Trodelvy (sacituzumab govitecan), 180 mg, vial of lyophilized powder for solution for injection, for intravenous use. Mississauga (ON): Gilead Sciences Canada, Inc; 2023 Jul 18.
53.Rugo HS, Bardia A, Marmé F, et al. Sacituzumab govitecan in hormone receptor–positive/human epidermal growth factor receptor 2–negative metastatic breast cancer. J Clin Oncol. 2022;40(29):3365-3376. PubMed
54.Rugo HS, Bardia A, Tolaney SM, et al. TROPiCS-02: a phase III study investigating sacituzumab govitecan in the treatment of HR+/HER2- metastatic breast cancer. Future Oncol. 2020;16(12):705-715. PubMed
55.Rugo HS, Bardia A, Marmé F, et al. Overall survival with sacituzumab govitecan in hormone receptor-positive and human epidermal growth factor receptor 2-negative metastatic breast cancer (TROPiCS-02): a randomised, open-label, multicentre, phase 3 trial. Lancet. 2023 Oct 21;402(10411):1423-1433. doi: 10.1016/S0140-6736(23)01245-X. PubMed
56.Clinical Study Protocol: IMMU-132-09. Phase 3 Study of sacituzumab govitecan (IMMU-132) Versus Treatment of Physician’s Choice (TPC) in subjects with Hormonal Receptor-Positive (HR+) Human Epidermal Growth Factor Receptor 2 (HER2) Negative Metastatic Breast Cancer (MBC) who have failed at least two prior chemotherapy regimens [internal sponsor's report]. Foster City (US): Gilead Sciences, Inc; 2021 Aug 23.
57.Common Terminology Criteria for Adverse Events (CTCAE) Version 5.0. Washington (US): U.S. Department of Health and Human Services; 2017 Nov 27: https://ctep.cancer.gov/protocoldevelopment/electronic_applications/docs/ctcae_v5_quick_reference_5x7.pdf. Accessed 2023 Aug 22.
58.McLachlan SA, Devins GM, Goodwin PJ. Validation of the European Organization for Research and Treatment of Cancer Quality of Life Questionnaire (QLQ-C30) as a measure of psychosocial function in breast cancer patients. Eur J Cancer. 1998;34(4):510-517. PubMed
59.Groenvold M, Klee MC, Sprangers MA, Aaronson NK. Validation of the EORTC QLQ-C30 quality of life questionnaire through combined qualitative and quantitative assessment of patient-observer agreement. J Clin Epidemiol. 1997;50(4):441-450. PubMed
60.Aaronson NK, Ahmedzai S, Bergman B, et al. The European Organization for Research and Treatment of Cancer QLQ-C30: a quality-of-life instrument for use in international clinical trials in oncology. J Natl Cancer Inst. 1993;85(5):365-376. PubMed
61.Kawahara T, Taira N, Shiroiwa T, et al. Minimal important differences of EORTC QLQ-C30 for metastatic breast cancer patients: results from a randomized clinical trial. Qual Life Res. 2022;31(6):1829-1836. PubMed
62.Musoro JZ, Coens C, Fiteni F, et al. Minimally important differences for interpreting EORTC QLQ-C30 scores in patients with advanced breast cancer. JNCI Cancer Spectrum. 2019;3(3). PubMed
63.Musoro JZ, Coens C, Sprangers MAG, et al. Minimally important differences for interpreting EORTC QLQ-C30 change scores over time: a synthesis across 21 clinical trials involving nine different cancer types. Eur J Cancer. 2023;188:171-182. PubMed
64.Letellier ME, Dawes D, Mayo N. Content verification of the EORTC QLQ-C30/EORTC QLQ-BR23 with the International Classification of Functioning, Disability and Health. Qual Life Res. 2015;24(3):757-768. PubMed
65.Landis JR, Koch GG. The measurement of observer agreement for categorical data. Biometrics. 1977;33(1):159-174. PubMed
66.Statistical Analysis Plan: IMMU-132-09. Phase 3 study of sacituzumab govitecan (IMMU-132) versus Treatment of Physician’s Choice (TPC) in Subjects with Hormonal Receptor-Positive (HR+) Human Epidermal Growth Factor Receptor 2 Negative (HER2-) Metastatic Breast Cancer (MBC) who have failed at least two prior chemotherapy regimens [internal sponsor's report]. Foster City (US): Gilead Sciences, Inc; 2022 Feb 7.
67.Maurer W, Bretz F. Multiple testing in group sequential trials using graphical approaches. Stat Biopharm Res. 2013;5(4):311-320.
68.Gordon Lan KK, Demets DL. Discrete sequential boundaries for clinical trials. Biometrika. 1983;70(3):659-663.
69.Rugo HS, Schmid P, Tolaney SM, et al. 1553O: Health-related quality of life (HRQoL) in the phase III TROPiCS-02 trial of sacituzumab govitecan (SG) vs chemotherapy in HR+/HER2-metastatic breast cancer (MBC). Ann Oncol. 2022;33:S1258.
70.Rugo HS, Bardia A, Marmé F, et al. Overall survival (OS) results from the phase III TROPiCS-02 study of sacituzumab govitecan (SG) vs treatment of physician's choice (TPC) in patients (pts) with HR+/HER2- metastatic breast cancer (mBC). Ann Oncol. 2022;33(suppl_7):S808-S869 (LBA876).
71.Denduluri N, Lyman GH, Wang Y, et al. Chemotherapy dose intensity and overall survival among patients with advanced breast or ovarian cancer. Clin Breast Cancer. 2018;18(5):380-386. PubMed
72.Kawahara T, Iwamoto T, Takashima I, et al. Association of change in health-related quality of life and treatment discontinuation in metastatic breast cancer: a post hoc, exploratory analysis of two randomized clinical trials. Support Care Cancer. 2022;30(10):8367-8375. PubMed
Note this appendix has not been copy-edited.
Table 27: Sensitivity Analyses of Progression-Free Survival per BICR in TROPiCS-02 (ITT; Data Cut-Off Date: January 3, 2022)
BICR analysis | Sacituzumab govitecan (n = 272) | TPC (n = 271) |
|---|---|---|
Sensitivity Analysis 1a | ||
Median PFS, months (95% CI) | 5.5 (4.2, 7.1) | 4.1 (3.1, 4.4) |
Hazard Ratio (95% CI) | 0.66 (0.53, 0.83) | |
P valueb | 0.0002 | |
Sensitivity Analysis 2c | ||
Median PFS, months (95% CI) | 4.0 (3.1, 4.2) | 2.8 (1.9, 3.4) |
Hazard Ratio (95% CI) | 0.66 (0.55, 0.80) | |
P valueb | < 0.0001 | |
Sensitivity Analysis 3d | ||
Median PFS, months (95% CI) | 5.5 (4.2, 7.0) | 4.0 (3.1, 4.4) |
Hazard Ratio (95% CI) | 0.66 (0.53, 0.83) | |
P valueb | 0.0003 | |
Sensitivity Analysis 4e | ||
Median PFS, months (95% CI) | 5.7 (4.6, 7.3) | 4.3 (3.7, 5.3) |
Hazard Ratio (95% CI) | 0.74 (0.61, 0.90) | |
P valueb | 0.0027 | |
BICR = blinded independent central review; CI = confidence interval; ITT = intent to treat; PFS = progression-free survival; RECIST 1.1 = Response Evaluation Criteria in Solid Tumours Version 1.1.
Note: PFS was defined as the number of months (30.4375 days) from the date of randomization to the date of the first radiological disease progression per RECIST 1.1 or death due to any cause, whichever occurred first.
aSensitivity Analysis 1 used the same PFS definition and censoring rules as the primary analysis, except that any patient who progressed or died after more than 1 missed scheduled tumour assessment was not censored at the last date of radiographic tumour assessment before the missed assessment.
bThe P value was not adjusted for multiplicity.
cSensitivity Analysis 2 used the same PFS definition and censoring rules as the primary analysis, except that discontinuation of treatment or initiation of alternative anticancer treatment, whichever occurred later, was considered a PD event.
dSensitivity Analysis 3 used the same PFS definition and censoring rules as the primary analysis but was performed for all treated patients who received at least 1 dose of study drug (i.e., the safety population).
eSensitivity Analysis 4 used the same PFS definition and censoring rules as the primary analysis, except that any patient who initiated other anticancer treatment before disease progression or death, or who progressed or died after more than 1 missed scheduled tumour assessment, was not censored.
Source: TROPiCS-02 Clinical Study Report (interim analysis 1).30
Figure 8: Forest Plot of PFS by BICR for Selected Subgroups (ITT; Data Cut-Off Date: January 3, 2022)
BICR = blinded independent central review; CI = confidence interval; CDK4/6 = cyclin-dependent kinase 4 and 6; Chemo = chemotherapy (TPC); ECOG PS = Eastern Cooperative Oncology Group performance status; ET = endocrine therapy; HR = hazard ratio; ITT = intent to treat; mBC = metastatic breast cancer; NE = not evaluable; SG = sacituzumab govitecan.
Source: Sponsor’s submission.49
Figure 9: Forest Plot of OS by BICR for Selected Subgroups (ITT; Data Cut-Off Date: July 1, 2022)
BICR = blinded independent central review; CI = confidence interval; CDK4/6i = cyclin-dependent kinase 4 and 6 inhibitor; ECOG PS = Eastern Cooperative Oncology Group performance status; ET = endocrine therapy; HR = hazard ratio; ITT = intent to treat; mBC = metastatic breast cancer; NE = not evaluable; SG = sacituzumab govitecan; TPC = treatment of physician’s choice.
Note: The HR was from an unstratified Cox regression analysis (including overall and subgroup). For each subgroup, the bar is the 95% CI for the HR. An arrow indicates that the 95% CI was beyond the HR range in the forest plot. Prior chemotherapy regimens for treatment of metastatic disease, visceral metastasis, and endocrine therapy in the metastatic setting for ≥ 6 months were from IXRS. Early relapse was defined as relapse to metastatic disease within 1 year of the end of neo/adjuvant chemotherapy. Patients without chemotherapy in the neo/adjuvant setting were not considered as having had early relapse. For the investigator choice of chemotherapy (TPC) subgroup, the HR was obtained from comparison between SG and each TPC drug. P values were not adjusted for multiple comparisons.
Source: Sponsor’s submission.49
Figure 10: KM Curves of Time to Treatment Discontinuation (ITT; Data Cut-Off Date: December 1, 2022)
SG = sacituzumab govitecan; TPC = treatment of physician’s choice.
Note: The KM curves for time to treatment discontinuation was used for conducting parametric fittings. The data submitted for analysis included 543 observations; 26 observations were excluded from the analyses due to not receiving treatment.
Source: Sponsor’s submission.32
2L
second line
3L
third line
4L
fourth line
BIA
budget impact analysis
BSA
body surface area
ECOG PS
Eastern Cooperative Oncology Group Performance Status
G-CSF
granulocyte colony-stimulating factor
HER2
human epidermal growth factor receptor 2
HR
hormone receptor
ICER
incremental cost-effectiveness ratio
IHC
immunohistochemistry
KM
Kaplan-Meier
LY
life-year
mBC
metastatic breast cancer
OS
overall survival
PFS
progression-free survival
QALY
quality-adjusted life-year
RDI
relative dose intensity
SG
sacituzumab govitecan
TPC
treatment of physician’s choice
The executive summary comprises 2 tables (Table 1 and Table 2) and a conclusion.
Item | Description |
|---|---|
Drug product | Sacituzumab govitecan (Trodelvy), 180 mg lyophilized powder for solution for IV use |
Submitted price | Sacituzumab govitecan, 180 mg vial for injection: $1,478.00 per vial |
Indication | For the treatment of adult patients with unresectable, locally advanced or metastatic, HR-positive, HER2-negative (IHC 0, IHC 1+, or IHC 2+ and ISH-negative) breast cancer who have received endocrine-based therapy and at least 2 additional systemic therapies in the metastatic setting |
Health Canada approval status | NOC |
Health Canada review pathway | Priority review, Project Orbis |
NOC date | July 19, 2023 |
Reimbursement request | As per indication |
Sponsor | Gilead Sciences Canada, Inc. |
Submission history | Previously reviewed: Yes Locally advanced or metastatic triple-negative breast cancer Indicated for the treatment of adult patients with unresectable, locally advanced or triple-negative breast cancer who have received 2 or more prior therapies, at least 1 of them for metastatic disease Recommendation date: January 27, 2022 Recommendation: Reimburse with clinical criteria and/or conditions |
NOC = Notice of Compliance; HER2 = human epidermal growth factor receptor 2; HR = hormone receptor; IHC = immunohistochemistry; ISH = in situ hybridization.
Table 2: Summary of Economic Evaluation
Component | Description |
|---|---|
Type of economic evaluation | Cost-utility analysis Partitioned survival model |
Target population | Adults with unresectable, locally advanced or metastatic, HR-positive, HER2-negative (IHC 0, IHC 1+, or IHC 2+ and ISH-negative) breast cancer who have received endocrine-based therapy and at least 2 additional systemic therapies in the metastatic setting |
Treatment | SG |
Comparator | TPC, consisting of a weighted basket of single-drug chemotherapy regimens: eribulin, capecitabine, gemcitabine, vinorelbine |
Perspective | Canadian publicly funded health care payer |
Outcomes | QALYs, LYs |
Time horizon | 10 years |
Key data source | TROPiCS-02, a pivotal, phase III, multicentre, randomized, open-label trial |
Submitted results | ICER = $341,152 per QALY gained when compared to TPC (incremental costs = $101,369; incremental QALYs = 0.30) |
Key limitations |
|
CADTH reanalysis results |
|
G-CSF = granulocyte colony-stimulating factor; HER2 = human epidermal growth factor receptor 2; HR = hormone receptor; ICER = incremental cost-effectiveness ratio; KM = Kaplan-Meier; LY = life-year; OS = overall survival; PFS = progression-free survival; QALY = quality-adjusted life-year; RDI = relative dose intensity; SG = sacituzumab govitecan; TPC = treatment of physician’s choice.
One phase III, multicentre, multinational, open-label, randomized trial (TROPiCS-02) compared sacituzumab govitecan (SG) with treatment of physician’s choice (TPC) in adult patients with unresectable, locally advanced or metastatic, hormone receptor (HR)-positive, human epidermal growth factor receptor 2 (HER2)-negative breast cancer who had received endocrine-based therapy and at least 2 additional systemic therapies in the metastatic setting. Based on this trial, the CADTH clinical review concluded that SG results in an increase in progression-free survival (PFS) and a clinically important increase in overall survival (OS). Using the Grading of Recommendations Assessment, Development, and Evaluation framework, CADTH considered the certainty of the evidence for both of these outcomes to be high. PFS and OS were used to inform the pharmacoeconomic analysis.
CADTH attempted to address the key limitations of the sponsor’s economic submission. These changes involved using a Gamma distribution to extrapolate long-term OS; assuming a higher administration cost associated with delivering SG; assuming that an additional vial would not be used if the received dose fell within 5% of the recommended dose; including the costs associated with granulocyte colony-stimulating factor (G-CSF); and using parametric fits for all survival curves. In the CADTH base case, SG was more effective (incremental life-years [LYs] = 0.24; incremental quality-adjusted life-years [QALYs] = 0.19) and associated with greater total costs (incremental costs = $97,764) than TPC. This resulted in an incremental cost-effectiveness ratio (ICER) of $506,807 per QALY gained. Incremental QALYs were driven largely by the mortality benefit associated with SG (i.e., 0.24 additional LYs for patients receiving SG relative to TPC). Of the $97,764 in incremental costs, approximately $8,000 were due to increased administrative burden, disease management, and adverse event management, with the remainder due to increased drug costs associated with SG.
These results differed slightly from the sponsor-submitted results, which estimated an additional 0.30 QALYs (0.37 LYs) and an additional $101,369 in costs. The reduction in QALYs in the CADTH base case was due to a more plausible estimation of long-term OS in consultation with clinical experts consulted for this review.
Based on the CADTH base-case analysis, an 88% price reduction is required for SG to be considered cost-effective at a threshold of $50,000 per QALY gained. If G-CSF costs are included in the analysis, then the price reduction required increases to 95%.
This section is a summary of the feedback received from the patient groups, registered clinicians, and drug plans that participated in the CADTH review process.
Input from the Canadian Breast Cancer Network, Rethink Breast Cancer (Rethink), and jointly from Breast Cancer Canada and the McPeak-Sirois Group were submitted for this review. Information was collected from online surveys and meetings. Patient groups commented on metastatic disease posing significant and debilitating impacts on quality of life. It was noted that there is an unmet need for treatments in later lines due to the multirefractory drug experience in the metastatic setting. The patient groups expressed a desire for new options that control disease and extend survival. Patients highlighted key factors that influence decisions around treatment choice, singling out effectiveness, cost, accessibility, side effect management, and the ability to prolong quality of life.
Clinician input was received from the Ontario Health (Cancer Care Ontario) Breast Cancer Drug Advisory Committee and the Saskatoon Cancer Centre. The groups noted that there is no consensus on the ideal sequencing of treatments in the second line (2L) and beyond. Nondrug treatments may include radiation therapy, surgery for local control, and palliative care to manage symptoms. It was noted that SG would be an additional line of therapy to consider for the third line (3L) and beyond in patients with HR-positive, HER2-negative, metastatic breast cancer (mBC). Additionally, the clinician groups commented that some patients who would not typically be prescribed endocrine therapy should still be considered for SG. Clinician groups noted that there is a need for more effective therapies that can overcome resistance mechanisms, minimize adverse effects, and provide better outcomes (i.e., PFS and OS). It was noted that treatment response is typically evaluated every 3 months through radiographic imaging and an assessment of clinical symptoms and overall patient well-being. Treatment is typically discontinued upon disease progression or undue toxicity.
CADTH participating drug plans noted that the comparators included in the TROPiCS-02 trial were appropriate, but that other comparators may be relevant, depending on what prior therapies were administered for early and recurrent disease and on the level of receptor expression (e.g., HER2-low). Drug plans noted that SG has the longest compounding and infusion times among the chemotherapy options used in the TROPiCS-02 trial. The plans also commented on SG possibly changing the place in therapy of comparator drugs, including drugs reimbursed in previous and subsequent lines of therapy. Moreover, drug plans commented on drug wastage being likely for SG. Drug plans raised concerns about the assumption in the sponsor-submitted budget impact analysis (BIA) that SG will be primarily used in the fourth-line (4L) setting. The plans also commented on the significant relative increases in chair time, patient and caregiver time at treatment centres, and pharmacy and nursing resources that will be required to prepare and administer SG versus current comparators in this patient population. Additionally, it was noted that relevant comparators are either generic and/or have confidential prices.
Several of these concerns were addressed in the sponsor’s model:
Health-related qualify of life was included in the model for patients with locally advanced or metastatic, HR-positive, HER2-negative breast cancer.
Adverse event costs and disutilities were included in the economic model.
The sponsor captured drug wastage that may be associated with each dose amount, given that dosing is dependent on patient weight.
In addition, CADTH addressed the following concern:
Nurse time was accounted for in treatment administration costs.
The current review is for SG (Trodelvy) for the treatment of adult patients with unresectable, locally advanced or metastatic, HR- positive, HER2-negative (immunohistochemistry [IHC] 0, IHC 1+, or IHC 2+ and in situ hybridization–negative) breast cancer who have received endocrine-based therapy and at least 2 additional systemic therapies in the metastatic setting.
The sponsor submitted a cost-utility analysis assessing SG compared with TPC (i.e., a weighted basket of single-drug chemotherapy regimens consisting of eribulin, capecitabine, gemcitabine, and vinorelbine) for adult patients with unresectable, locally advanced or metastatic, HR-positive, HER2-negative breast cancer who have received endocrine-based therapy and at least 2 additional systemic therapies in the metastatic setting. The modelled population was aligned with the pivotal clinical trial TROPiCS-02 and the Health Canada–indicated population.
SG is available as a 180 mg vial for injection. The recommended total daily dose of SG is 10 mg/kg administered as an IV infusion once weekly on days 1 and 8 of a 21-day treatment cycle and continued until progression of the underlying disease or unacceptable toxicity.1,2 At the sponsor-submitted price of $1,478 per vial, the cost per 21-day cycle was estimated to be $11,790, based on the sponsor’s assumption of a 91.9% relative dose intensity (RDI) and a dose delay adjustment factor of ||||%.1 This assumes that the dose the patient receives is only 91.9% of the recommended dose and that, on average, patients miss nearly 1 in every 10 doses. The sponsor modelled 4 comparator single-drug chemotherapy treatments as part of the TPC basket, including eribulin, capecitabine, gemcitabine, and vinorelbine, based on treatments received in the TROPiCS-02 trial.1,3 Dosing for TPC was based on the TROPiCS-02 trial, aligned with the respective product monographs.4-7 Drug costs for eribulin, vinorelbine, gemcitabine, and capecitabine per respective treatment cycles were weighted according to the distribution of their relative use among patients, assumed to be 48%, 23.2%, 20.7%, and 8.1%, respectively, based on the composition in the TROPiCS-02 trial.1,3 The weighted cost of TPC based on this distribution was $1,811 per 21-day cycle.1 Treatments included in the TPC basket incorporated relative dose intensities ranging from ||||% to ||% and dose delay adjustment factors ranging from ||||% to ||||%. Drug administration costs for SG and TPC were $150 and $117, respectively, per 21-day cycle. Drug wastage was assumed in the sponsor’s base case for all treatments.1
The economic analysis was undertaken using a 10-year time horizon from the perspective of the publicly funded health care payer. Costs and clinical outcomes (i.e., QALYs and LYs) were discounted at a rate of 1.5% per annum.1
A partitioned survival model was submitted to capture the long-term costs and effects associated with the use of SG versus relevant comparators in the proposed Health Canada indication.1 The model consisted of 3 primary health states (i.e., PFS, progressed disease, and death); the proportions of patients who were progression-free, experienced progressive disease, or were dead at any time over the model time horizon were derived from survival curves that were not mutually exclusive. OS and PFS curves were derived from the TROPiCS-02 trial for SG and TPC and were used to determine the proportion of patients in each health state (Appendix 3, Figure 1).1 Specifically, the proportion of progression-free patients was derived from the proportion of patients alive and progression-free (based on the PFS curve), while the proportion of patients with progressed disease was derived by subtracting the proportion who are progression-free from the proportion of those alive (based on the OS curve). PFS was defined as the time in months from the date of randomization to the date of the first documentation of disease progression or death (whichever occurred first). Time to treatment discontinuation was calculated using data from the TROPiCS-02 trial to identify the proportion of patients who were alive and remained on treatment at any given point in time. time to treatment discontinuation accounted for treatment discontinuation due to any cause.1
Baseline patient characteristics in the model were reflective of the TROPiCS-02 trial intention-to-treat population (i.e., average age = |||| years; average weight = |||| kg; body surface area [BSA] = |||). Age is used in the model to assign age-stratified general mortality, which serves as the minimum all-cause mortality boundary, while weight and BSA are used to calculate treatment costs for those treatments with regimens based on weight or BSA.
Key clinical efficacy inputs (i.e., OS and PFS) and treatment durations (i.e., time to treatment discontinuation) for SG and TPC were based on the results of the TROPiCS-02 trial (i.e., with a data cut-off date of December 2022). Kaplan-Meier (KM) estimates of PFS, OS, and time to treatment discontinuation from the trial period were used to fit parametric survival curves to extrapolate the treatment effect beyond the observed trial data (maximum follow-up = || months and || months for SG and TPC, respectively, at the data cut-off date [i.e., the date of the final analysis]) over the entire model time horizon (i.e., 10 years). Several parametric survival functions were fitted to the PFS, OS, and time to treatment discontinuation data to determine the best-fitting distribution based on diagnostic plots, goodness-of-fit statistics, visual inspection, and clinical expectations regarding long-term progression risk and survival. The sponsor’s chosen parametric survival distribution for PFS for both SG and TPC was the KM plus log-normal distribution. The sponsor’s chosen parametric survival distribution for OS for SG and TPC was the KM plus log-logistic distribution. Individual time to treatment discontinuation curves for SG and TPC were obtained from the TROPiCS-02 trial to identify the proportion of patients who were alive and remained on initial treatment. The sponsor’s chosen parametric survival distribution for time to treatment discontinuation was the KM plus exponential distribution for SG and TPC. For OS, PFS, and time to treatment discontinuation, KM data from the TROPiCS-02 trial were used to inform survival probabilities for 14.4 months into the model time horizon. Beyond this point, survival probabilities were based on parametric survival curves.
Health state utility values applied in the economic model were based on the TROPiCS-02 intention-to-treat trial population of patients who were administered the 5-Level EQ-5D questionnaire. Utility decrements for treatment-related adverse events included in the model were based on published literature specific to mBC.8 If no data were available for an adverse event, utility decrements were assumed to be equivalent to the greatest decrement identified in the literature across the other adverse events.
The sponsor’s reference case included costs related to drug acquisition and administration, subsequent treatments, health care resource use, and adverse events. Drug acquisition costs were sourced from either the Ontario Drug Benefit Formulary9 or a CADTH reimbursement review report,10-12 with the exception of SG, for which costs were based on the sponsor-submitted price.1 Drug doses were weight-dependent or calculated based on BSA; thus, drug wastage was accounted for in the model. Subsequent treatment costs were also modelled, with duration informed by data from the TROPiCS-02 trial. Drug administration costs were sourced from the Ontario Schedule of Benefits of Physician Services.13 Disease management and monitoring costs were calculated based on data from various sources.13-16 Costs related to frequency of use for disease management and monitoring were sourced from Lambert-Obry et al. and clinical expert feedback, respectively.17 Adverse event costs were applied as 1-time costs in the economic model and derived from the Canadian Institute for Health Information Patient Cost Estimator.14 Moreover, a 1-time terminal care cost was included, encompassing expenses related to end-of-life care, as determined by a population-based study conducted with patients in Canada.18
All analyses were run probabilistically (1,000 iterations for the base-case and scenario analyses). The deterministic and probabilistic results were similar. The probabilistic findings are presented here.
In the sponsor’s base case, SG was more costly (incremental cost = $101,369) and more effective (incremental QALYs = 0.30) than TPC, resulting in an ICER of $341,152 per QALY gained over a 10-year time horizon (refer to results in Table 3). In the sponsor’s base case, 1.8% of SG patients and 1.2% of TPC patients were alive at the 10-year time horizon. Approximately 34% of incremental QALYs were gained in the extrapolated portion of the model (i.e., after the first 3 years, as observed in the TROPiCS-02 trial). Based on a willingness-to-pay threshold of $50,000, there is a 0% probability that SG would be the most cost-effective strategy.
Table 3: Summary of the Sponsor’s Economic Evaluation Results
Drug | Total costs ($) | Incremental costs ($) | Total QALYs | Incremental QALYs | ICER vs. TPC ($/QALY) |
|---|---|---|---|---|---|
TPC | $54,974 | Reference | 1.22 | Reference | Reference |
SG | $156,342 | $101,369 | 1.51 | 0.30 | $341,152 |
ICER = incremental cost-effectiveness ratio; QALY = quality-adjusted life-year; SG = sacituzumab govitecan; TPC = treatment of physician’s choice; vs. = versus.
Source: Sponsor’s pharmacoeconomic submission.1
The sponsor conducted various scenario analyses encompassing considerations such as alternative time horizons; discount rates; RDI; parametric curve selections for PFS, OS, and time to treatment discontinuation; the use of an alternative method for calculating adverse event frequency; the exclusion of adverse event disutilities; the incorporation of nurse administration costs; the modelling of treatment-dependent utilities for PFS; and the adoption of a societal perspective that accounted for productivity cost losses for both patients and caregivers. The sponsor’s societal perspective scenario analysis resulted in an ICER of $354,610 relative to TPC. This was similar to the sponsor’s base-case analysis using a health care payer perspective. The sponsor’s results for all scenario analyses were aligned with the base case in that SG was more costly and more effective than TPC.
CADTH identified several key limitations to the sponsor’s analysis that have notable implications on the economic analysis:
The long-term extrapolations of OS are uncertain: The sponsor fitted several parametric survival curves to extrapolate OS for patients who received SG and TPC over the model’s time horizon (10 years) based on the observed period of the TROPiCS-02 trial (duration of follow-up = |||| [maximum] and 14.4 months [mean]).1,3 The sponsor’s selected extrapolations for SG projected that, beyond the trial observed period, approximately 6.5% and 1.8% of patients would remain alive at year 5 and year 10, respectively. For patients who received TPC, approximately 4.2% and 1.2% of patients were projected to remain alive at year 5 and year 10, respectively. Clinical experts consulted by CADTH indicated that, based on the natural history of disease in the indicated population, it is unlikely that patients on TPC would remain alive after 5 years. In the sponsor’s model, long-term survival occurs due to the assumption that the hazard rate for mortality will begin to decrease over time after approximately 12 months. However, beyond 20 months, the entire surviving cohort has experienced cancer progression, meaning it is unlikely that mortality rates would be expected to decrease over time. The assumption that mortality decreases over time means the sponsor’s model predicts that some patients will continue to live beyond even 10 years. The difference in how the hazard rate for mortality changes over time for the log-logistic versus the Gamma parametric fit can be observed in Figure 3 (Appendix 3) and Figure 5 (Appendix 4), respectively. Figure 3 shows that if a log-logistic parametric fit is assumed, the hazard rate increases initially, then decreases monotonically for the remainder of the time horizon. In comparison, Figure 5 shows that, using the Gamma parametric fit, the hazard increases rapidly to begin, then continues to increase at a slower rate. Given that the post progression mortality rate is expected to be higher than the preprogression rate, the expectation is for the hazard rate to continue to increase over time as the cohort becomes more progressed.
Further, the sponsor’s extrapolations were based on KM data from the TROPiCS-02 trial until the mean duration of follow-up (14.4 months). CADTH notes that after 14.4 months, the TPC and SG OS curves begin to converge. Therefore, using only KM data up to 14.4 months slightly overestimates the projected benefits of SG. The justification provided for using a 14.4 month cut-off is that this represents the mean follow-up time of the trial. However, if this method is used, the choice of what cut-off to use should be based on numbers of patients at risk and the proportion of censored events. Moreover, when the model is analyzed probabilistically, the sponsor does not use trial data to ascertain the uncertainty associated with the KM curve at any given point in time, making the probabilistic analysis less accurate.
CADTH addressed this limitation by changing the OS extrapolated curves to a Gamma distribution for SG and TPC. This was based on fit and clinical expert opinion regarding the changing mortality rate over time and the expectation of survival at 5 years and 10 years. The parametric curves chosen by the sponsor and by CADTH are shown in Appendix 3 and Appendix 4, respectively.
A full parametric analysis was used to estimate survival to ensure that full uncertainty in the underlying survival curve was considered in the probabilistic analysis. A scenario analysis was conducted using the KM curve for 20 months and then using the Gamma parametric curve to extrapolate beyond this time point.
Resource use associated with treatment administration, monitoring, and concomitant medications is underestimated: The sponsor assumed that per-cycle administration costs for SG would be only slightly higher than for TPC, and that per-cycle monitoring costs would be reduced for SG relative to TPC. Feedback from the clinical experts consulted by CADTH and the CADTH participating drug plans indicated that these assumptions were unlikely to be aligned with clinical practice in Canada because the costs related to SG monitoring and administration were either not incorporated or underestimated. First, the sponsor assumed that administration costs for SG were equal to the cost of a “complex single agent or multi-agent therapy.”13 It was noted that a “special single agent or multi-agent therapy” cost was more appropriate for SG.13 Second, the sponsor’s base case did not account for the cost of nursing time. However, the sponsor examined this assumption in a scenario analysis in which the first infusion of SG was assumed to require 3.5 hours of nurse time, and subsequent infusions were assumed to require 2 hours of nurse time.1 Third, the sponsor did not account for pharmacist preparation and compounding costs. It was noted that SG is highly complex and time-intensive for pharmacy staff to compound; it takes close to an hour to compound per dose per patient. In comparison, all other comparators in the TPC arm normally take 10 minutes or less. Lastly, the sponsor did not consider the concomitant treatment costs for G-CSF use with SG. As documented in the TROPiCS-02 trial and noted by clinical experts, a proportion of patients receiving SG will require G-CSF.3 It was noted that G-CSF is funded only in select jurisdictions and that public funding of G-CSF concomitantly with TPC was unlikely.
In the CADTH base case, the cost of “special single agent or multi-agent therapy” from the Ontario Schedule of Benefits was used for each administration of SG, and nurse time was considered in the cost of treatment administration.
Additionally, CADTH included the cost of G-CSF for patients receiving SG as a scenario analysis.
CADTH was unable to incorporate pharmacist preparation and compounding costs.
Treatment costs per cycle are uncertain: In the sponsor’s base-case analysis, drug acquisition costs are estimated using both RDI and a dose delay adjustment factor based on the TROPiCS-02 trial. The sponsor estimated drug costs by noting how many vials an individual would require based on a given weight. For example, if an individual weighs 54 kg, they would require 540 mg of SG, as per the product monograph (10 mg/kg). Each vial of SG contains 180 mg and is meant for single use, meaning that an individual who weighs 54 kg would require 3 vials (3 × 180 mg = 540 mg). However, if an individual weighs 58 kg, they would require 580 mg, but this can only be achieved by using 4 vials. Although the difference in the dose is small, most of the fourth vial (140 mg) is wasted, given that only 40 mg of SG is needed. Due to this, when considering RDI, there is no perfect correlation between received dose and cost. For example, if an individual weighing 54 kg received only 490 mg per administration (versus the recommended 540 mg), the RDI would be 92%, but the drug cost would be unchanged because 3 vials are still required to administer the drug. The only difference is that more wastage occurs.
The data provided by the sponsor show the cumulative dose received versus the assigned dose. RDI will be influenced by dose delays, which were analyzed separately by the sponsor. Therefore, including both RDI and dose delay may introduce double counting. It is also unclear how treatment discontinuation in the model would influence RDI and dose delay calculations.
Clinical experts consulted by CADTH noted that it is likely that patients receiving SG would receive a dose reduction, but the impact on vial usage is uncertain. It was also noted that if the recommended dose could be mostly achieved (i.e., the actual dose received was within 5% of the recommended dose), then an additional vial may not be required.
The CADTH base case assumed that patients could weigh 5% more than the recommended dose before an additional vial would be required. This accounts for some patients receiving a lower dose and is how SG may be administered in practice. A dose delay of ||% for SG was retained. This means that, on average, the cohort receives only ||% of planned dose administrations.
PFS and time to treatment discontinuation are inappropriately varied in probabilistic analyses: In probabilistic analyses, the KM curves for PFS and time to treatment discontinuation are shifted by a random value, with each iteration assuming a normal distribution with a mean of 0 and a standard deviation of 1. This is not based on the sample size used to inform the KM curves; it should vary based on time as more patients inform the earlier segments of the KM curve. Both PFS and time to treatment discontinuation for SG and TPC were modelled using a KM curve combined with the best-fitting parametric distribution at 14.4 months and onwards. The switch point was based on the mean duration of follow-up from the TROPiCS-02 trial.
CADTH addressed this limitation by using the best-fitting parametric distribution curves for SG and TPC rather than KM-only data for 14.4 months, given that parametric curves fit the data very closely and can be varied probabilistically based on the underlying data. CADTH notes that this limitation has a very small impact on the model’s predicted output.
Additionally, the following key assumptions were made by the sponsor and have been appraised by CADTH (refer to Table 4).
Table 4: Key Assumptions of the Submitted Economic Evaluation (Not Noted as Limitations to the Submission)
Sponsor’s key assumption | CADTH comment |
|---|---|
A time horizon of 10 years was adopted in the sponsor’s base case. | Reasonable. According to the CADTH Guidelines for the Economic Evaluation of Health Technologies, the time horizon selected in the economic model should be long enough to capture the costs and effects of treatment. |
The patient population in the model reflects the baseline characteristics of patients in the TROPiCS-02 trial who would be expected to be treated in Canadian clinical practice. | Reasonable. The clinical expert input received by CADTH noted that baseline characteristics, with the exception of race, were reflective of patients likely to be treated in Canada. However, expert input noted that while patients with ECOG PS scores of 0 to 2 would likely be offered SG in practice, only patients with scores of 0 to 1 were included in the trial. |
The efficacy and safety of the treatments included in the weighted TPC treatment basket were equal. | Reasonable. The clinical expert input received by CADTH noted that it was reasonable to assume equal efficacy for the treatments included in the weighted basket. Moreover, the expert input noted that in a later-line setting, the weighted distributions likely align with clinical practice. |
Utility decrements due to adverse events were captured separately as a 1-time occurrence for patients who are on treatment. | Uncertain. The clinical expert input received by CADTH noted that adverse events would likely emerge within the first 3 treatment cycles. However, this approach does not allow for the discounting of adverse event costs or utilities because all are applied in the first model cycle. It also assumes that all adverse events occur in the first week of treatment. |
Subsequent treatments have no impact on outcomes. | Uncertain. The clinical expert input received by CADTH noted that as patients advance to subsequent lines of therapy, not only do they experience disease progression and deteriorating health, but they also encounter an increase in treatment-related toxicities. |
Subsequent treatment costs are applied upon progression and continue for a fixed duration based on prior treatment arm. | Uncertain. The clinical expert input received by CADTH noted that there is limited evidence to support varying durations of subsequent therapy based on prior treatment regimens. |
ECOG PS = Eastern Cooperative Oncology Group Performance Status; SG = sacituzumab govitecan; TPC = treatment of physician’s choice.
CADTH undertook the reanalyses outlined in Table 5 to address, where possible, the limitations within the sponsor’s submitted economic model. The CADTH base case was derived by making changes in model parameter values and assumptions in consultation with clinical experts.
The results of these step-wise analyses can be found in Table 6. Results from the probabilistic analysis of the CADTH base case found that SG was associated with an incremental benefit of 0.19 QALYs and incremental costs of $97,764 compared with TPC. The ICER for SG versus TPC was $506,807 per QALY gained. Approximately 23% of incremental QALYs were gained in the extrapolated portion of the model (i.e., after the first 3 years, as observed in the TROPiCS-02 trial). Based on a willingness-to-pay threshold of $50,000, there is a 0% probability that SG would be the most cost-effective strategy.
The results were driven primarily by assumptions regarding the impact of SG on OS.
Table 5: CADTH Revisions to the Submitted Economic Evaluation
Stepped analysis | Sponsor’s value or assumption | CADTH value or assumption |
|---|---|---|
Corrections to sponsor’s base case | ||
None | — | — |
Changes to derive the CADTH base case | ||
1. OS for SG and TPC | SG: KM + log-logistic TPC: KM + log-logistic | SG: Gamma TPC: Gamma |
2. Administration costs for SG | Administration costs for SG were equal to the cost of a “complex single agent or multi-agent therapy” ($75.00).13 | Administration costs for SG were equal to the cost of a “special single agent or multi-agent therapy” ($105.15)13 plus nurse time (3.5 hours for first visit and 2 hours for subsequent visits). Additionally, nurse time was considered for TPC (5 minutes per visit for eribulin; 10 minutes for vinorelbine; 30 minutes for gemcitabine; 0 minutes for capecitabine because it is oral). |
3. Dose adjustment for SG | RDI of 91.9% applied to SG drug costs | Assumed a patient’s weight could be 5% greater than the recommended dose before an additional vial was required. |
4. PFS and time to treatment discontinuation curves for SG and TPC | KM + best parametric fit | Best parametric fit |
CADTH base case | Reanalyses 1 + 2 + 3 + 4 + 5 | |
KM = Kaplan-Meier; OS = overall survival; PFS = progression-free survival; RDI = relative dose intensity; SG = sacituzumab govitecan; TPC = treatment of physician’s choice.
Table 6: Summary of the Stepped Analysis of the CADTH Reanalysis Results
Stepped analysisa | Drug | Total costs ($) | Total QALYs | ICER ($/QALY) |
|---|---|---|---|---|
Sponsor’s base case (deterministic) | TPC | $53,984 | 1.15 | Reference |
SG | $149,290 | 1.44 | $328,693 | |
CADTH reanalysis 1: OS for SG and TPC | TPC | $53,124 | 1.02 | Reference |
SG | $147,485 | 1.22 | $478,028 | |
CADTH reanalysis 2: administration costs for SG | TPC | $54,086 | 1.15 | Reference |
SG | $151,160 | 1.44 | $334,791 | |
CADTH reanalysis 3: dose adjustment for SG | TPC | $55,161 | 1.15 | Reference |
SG | $152,882 | 1.44 | $337,022 | |
CADTH reanalysis 4: PFS and time to treatment discontinuation curves for SG and TPC | TPC | $53,296 | 1.15 | Reference |
SG | $151,276 | 1.44 | $339,994 | |
CADTH base case (1 + 2 + 3 + 4) Deterministic | TPC | $53,647 | 1.03 | Reference |
SG | $154,999 | 1.22 | $518,007 | |
CADTH base case (1 + 2 + 3 + 4) Probabilistic | TPC | $53,203 | 1.03 | Reference |
SG | $150,967 | 1.22 | $506,807 |
ICER = incremental cost-effectiveness ratio; OS = overall survival; PFS = progression-free survival; QALY = quality-adjusted life-year; SG = sacituzumab govitecan; TPC = treatment of physician’s choice; time to treatment discontinuation = time to treatment discontinuation.
aDeterministic analysis, unless otherwise stated. The probabilistic and deterministic results of the sponsor’s base case were similar.
CADTH undertook price reduction analyses based on the sponsor’s results and the CADTH base case. The CADTH base case suggested that an 88.5% price reduction for SG would be required to achieve cost-effectiveness of SG relative to TPC at a threshold of $50,000 per QALY gained (Table 9).
Table 7: CADTH Price Reduction Analyses
Analysis | ICERs for SG vs. TPC | |
|---|---|---|
Price reduction | Sponsor’s base case | CADTH reanalysis |
No price reduction | $328,639 | $455,141 |
10% | $294,822 | $ 455,141 |
20% | $260,952 | $ 403,476 |
30% | $227,081 | $ 351,810 |
40% | $193,211 | $ 300,145 |
50% | $159,340 | $ 248,479 |
60% | $125,470 | $ 196,814 |
70% | $91,599 | $ 145,148 |
80% | $57,729 | $ 93,483 |
90% | $23,858 | $ 41,818 |
ICER = incremental cost-effectiveness ratio; SG = sacituzumab govitecan; TPC = Treatment of physician’s choice; vs. = versus.
CADTH undertook scenario analyses to explore the impact of alternative assumptions on the cost-effectiveness of SG. This involved:
using the KM data for 20 months before switching to a parametric distribution for OS, PFS, and time to treatment discontinuation
including G-CSF costs.
Results are described in Table 12, Appendix 4. Using the KM data for 20 months before switching to a parametric distribution for OS, PFS, and time to treatment discontinuation had minimal impact on the results. The inclusion of G-CSF costs increased the costs associated with SG by approximately $8,000.
The preparation of SG is labour-intensive for pharmacy staff because multiple vial reconstitutions are required for a single dose. The stability of the final product is also very short, which will restrict the locations at which SG can be administered; there must be a sterile compounding pharmacy on site.
The administration of treatment with SG is highly resource-intensive. Administration occurs over 3 hours, during which time patients must be under observation. They must also be under observation for at least 30 minutes following the initial dose (i.e., after the infusion is complete) for signs or symptoms of infusion-related reactions. If prior infusions were tolerated, the time to administer subsequent infusions may be reduced to a minimum of 1 hour; however, patients continue to need observation postinfusion.
SG has received a letter of intent from the pan-Canadian Pharmaceutical Alliance for the treatment of adult patients with unresectable, locally advanced or metastatic triple-negative breast cancer who have received 2 or more prior therapies, at least 1 of them for metastatic disease.
Trastuzumab deruxtecan is being actively negotiated on with the pan-Canadian Pharmaceutical Alliance for the treatment of adult patients with unresectable or metastatic HER2-low (IHC 1+ or IHC 2+ and in situ hybridization–negative) breast cancer.19 The clinical expert input received for this review noted that the reimbursement and availability of trastuzumab deruxtecan may affect treatment sequencing for the indicated population.
One phase III, multicentre, multinational, open-label, randomized trial (TROPiCS-02) compared SG with TPC in adult patients with unresectable, locally advanced or metastatic, HR-positive, HER2-negative breast cancer who had received endocrine-based therapy and at least 2 additional systemic therapies in the metastatic setting. Based on this trial, the CADTH clinical review concluded that SG results in an increase in PFS and a clinically important increase in OS. Using the Grading of Recommendations Assessment, Development, and Evaluation framework, CADTH considered the certainty of the evidence for both of these outcomes to be high. PFS and OS were used to inform the pharmacoeconomic analysis.
CADTH attempted to address the key limitations of the sponsor’s economic submission. These changes involved using a Gamma distribution to extrapolate long-term OS; assuming a higher administration cost associated with delivering SG; assuming that an additional vial would not be used if the received dose fell within 5% of the recommended dose; including the costs associated with G-CSF; and using parametric fits for all survival curves. In the CADTH base case, SG was more effective (incremental LYs = 0.24; incremental QALYs = 0.19) and associated with greater total costs (incremental costs = $97,764) than TPC. This resulted in an ICER of $506,807 per QALY gained. Incremental QALYs were driven largely by the mortality benefit associated with SG (i.e., an additional 0.24 LYs for patients receiving SG relative to TPC). Of the $97,764 in incremental costs, approximately $8,000 were due to increased administrative burden, disease management, and adverse events management, with the remainder due to increased drug costs associated with SG.
These results differed slightly from the sponsor-submitted results, which estimated an additional 0.30 QALYs (0.37 LYs) and an additional $101,369 in costs. The reduction in QALYs in the CADTH base case was due to a more plausible estimation of long-term OS, in consultation with the clinical experts consulted for this review.
Based on the CADTH base-case analysis, an 88% price reduction is required for SG to be considered cost-effective at a threshold of $50,000 per QALY gained. If G-CSF costs are included in the analysis, then the price reduction required increases to 95%.
CADTH notes that the sponsor's submission materials were transparently laid out, allowing for a thorough and accurate assessment of the submitted analysis. The sponsor also provided detailed and thorough responses to CADTH’s additional information requests. These helped in the validation of certain complex aspects of the review.
1.Pharmacoeconomic evaluation [internal sponsor's report]. In: Drug Reimbursement Review sponsor submission: Trodelvy (sacituzumab govitecan), 180 mg, vial of lyophilized powder for solution for injection, for intravenous use. Mississauga (ON): Gilead Sciences Canada, Inc; 2023 Jul 18.
2.Trodelvy (sacituzumab govitecan), 180 mg, vial of lyophilized powder for solution for injection or intravenous use [product monograph]. Mississauga (ON): Gilead Sciences Canada, Inc; 2023 Jul 12.
3.Clinical Study Report: IMMU-132-09 (TROPiCS-02). Phase 3 study of sacituzumab govitecan (IMMU-132) versus Treatment of Physician’s Choice (TPC) in subjects with Hormonal Receptor-Positive (HR+) Human Epidermal Growth Factor Receptor 2 (HER2) Negative Metastatic Breast Cancer (MBC) who have failed at least two prior chemotherapy regimens [internal sponsor's report]. Forest City (US): Gilead Sciences Inc; 2022 Jun 28.
4.Halaven (eribulin mesylate), 0.5 mg/mL, injection [product monograph]. Mississauga (ON): Eisai Limited; 2017 Aug 7: https://pdf.hres.ca/dpd_pm/00040614.PDF. Accessed 2023 Sep 13.
5.Xeloda (capecitabine): tablets 150 mg and 500 mg [product monograph]. Mississauga (ON): Hoffmann-La Roche Limited; 2022 Apr 4: https://www.rochecanada.com/PMs/Xeloda/Xeloda_PM_E.pdf. Accessed 2023 Sep 13.
6.gemcitabine injection: concentrate sterile solution for injection; 40 mg gemcitabine per mL, 200 mg/5 mL, 1 g/25 mL, 2 g/50 mL [product monograph] Boucherville (QC): Sandoz Canada Inc; 2014 Aug 14: https://pdf.hres.ca/dpd_pm/00055544.PDF. Accessed 2023 Sep 13.
7.vinorelbine injection: solution for injection:, 10 mg/mL [product monograph] Etobicoke (ON): Mylan Pharmaceuticals ULC; 2014 Jun 23: https://pdf.hres.ca/dpd_pm/00025568.PDF. Accessed 2023 Sep 13.
8.Beauchemin C, Letarte N, Mathurin K, Yelle L, Lachaine J. A global economic model to assess the cost-effectiveness of new treatments for advanced breast cancer in Canada. J Med Econ. 2016;19(6):619-629. PubMed
9.Ontario Ministry of Health, Ontario Ministry of Long-Term Care. Ontario drug benefit formulary/comparative drug index. 2022; https://www.formulary.health.gov.on.ca/formulary/. Accessed 2021 Mar 22.
10.CADTH Reimbursement Review report: sacituzumab govitecan (Trodelvy - Gilead Sciences Canada, Inc). Can J Health Technol. 2022;2(4). https://www.cadth.ca/sites/default/files/DRR/2022/PC0254-Trodelvy-CombinedReport.pdf. Accessed 2023 Mar 7.
11.pCODR Expert Review Committee (pERC) final recommendation: eribulin (Halaven - Eisai Ltd). Ottawa (ON): CADTH; 2012: https://cadth.ca/sites/default/files/pcodr/pcodr-halavenmb-fn-rec.pdf. Accessed 2021 Mar 19.
12.CADTH Reimbursement Review report: pertuzumab (Perjeta - Hoffmann-La Roche Ltd). Can J Health Technol. 2022;2(4). https://www.cadth.ca/sites/default/files/DRR/2022/PC0241-Perjeta.pdf. Accessed 2023 Mar 7.
13.Schedule of benefits for physician services under the Health Insurance Act: (June 29, 2023 (effective July 24, 2023)). Toronto (ON): Ontario Ministry of Health; 2023: https://www.health.gov.on.ca/en/pro/programs/ohip/sob/physserv/sob_master.pdf. Accessed 2023 Mar 7.
14.Canadian Institute for Health Information. Patient cost estimator. 2019; https://www.cihi.ca/en/patient-cost-estimator. Accessed 2023 Mar 7.
15.Ontario Case Costing costing analysis tool: acute inpatient fy 2017/2018. Toronto (ON): Ontario Ministry of Health; 2018.
16.Schedule of benefits for laboratory services. Toronto (ON): Ontario Ministry of Health; 2020.
17.Lambert-Obry V, Gouault-Laliberté A, Castonguay A, et al. Real-world patient-and caregiver-reported outcomes in advanced breast cancer. Curr Oncol. 2018;25(4):282-290. PubMed
18.de Oliveira C, Weir S, Rangrej J, et al. The economic burden of cancer care in Canada: a population-based cost study. CMAJ Open. 2018;6(1):E1-E10. PubMed
19.pan-Canadian Pharmaceutical Alliance. trastuzumab deruxtecan (Enhertu) 2023; https://www.pcpacanada.ca/negotiation/22410. Accessed 2023 Sep 26.
20.Budget Impact Analysis [internal sponsor's report]. In: Drug Reimbursement Review sponsor submission: Trodelvy (sacituzumab govitecan), 180 mg, vial of lyophilized powder for solution for injection, for intravenous use. Mississauga (ON): Gilead Sciences Canada, Inc; 2023 Jul 18.
21.Canadian Cancer Statistics Advisory in collaboration with the Canadian Cancer Society Statistics Canada and the Public Health Agency of Canada. Canadian Cancer Statistics: a 2022 special report on cancer prevalence. Toronto (ON): Canadian Cancer Society; 2022: https://cdn.cancer.ca/-/media/files/research/cancer-statistics/2022-statistics/2022-special-report/2022_prevalence_report_final_en.pdf. Accessed 2023 Nov 7.
22.Salvo EM, Ramirez AO, Cueto J, et al. Risk of recurrence among patients with HR-positive, HER2-negative, early breast cancer receiving adjuvant endocrine therapy: a systematic review and meta-analysis. Breast. 2021;57:5-17. PubMed
23.Smith I, Yardley D, Burris H, et al. Comparative efficacy and safety of adjuvant letrozole versus anastrozole in postmenopausal patients with hormone receptor-positive, node-positive early breast cancer: final results of the randomized phase III Femara versus Anastrozole Clinical Evaluation (FACE) trial. J Clin Oncol. 2017;35(10):1041-1048. PubMed
24.Waks AG, Gharaibeh M, Sjekloca N, et al. 253P Unmet need in heavily pre-treated patients with HR+/HER2- metastatic breast cancer (mBC) in the US: a ConcertAI analysis. Ann Oncol. 2022;33:S653.
Note that this appendix has not been copy-edited.
The comparators presented in the following table have been deemed to be appropriate based on feedback from clinical expert(s). Comparators may be recommended (appropriate) practice or actual practice. Existing Product Listing Agreements are not reflected in the table and as such, the table may not represent the actual costs to public drug plans.
Table 8: CADTH Cost Comparison Table for 3L or Later-Line Treatment of HR-Positive, HER2-Negative, Advanced Breast Cancer or mBC
Treatment | Strength / concentration | Form | Price | Recommended dosage | Daily cost ($) | 28-day cost ($) |
|---|---|---|---|---|---|---|
Sacituzumab govitecan | 180 mg | Vial | 1,478.0000a | 10 mg/kg once weekly on days 1 and 8 of 21-day treatment cycles | 563.05 | 15,765 |
Single-drug chemotherapies | ||||||
Capecitabine | 150 mg 500 mg | Tablet | 0.4575b 1.5250b | 1250 mg/m2 twice daily for 14 days followed by a 7-day rest period | 8.85 | 248 |
Eribulin | 1 mg/2 mL | Vial | 422.0000c | 1.4 mg/m2 on days 1 and 8 of a 21-day cycle | 120.57 | 3,376 |
Gemcitabine | 1000 mg 2000 mg 40 mg/mL (25 mL in 25 mL vial, or 50 mL in 50 mL vial) | Vial | 270.0000 540.0000 10.8120d | 1250 mg/m2 weekly on day 1 and 8 ± paclitaxel 175 mg/m2 on day 1 of a 21 cycle. | 77.14 | 2,160 |
Vinorelbine | 10 mg/mL (in 1 mL) 10 mg/mL (in 5 mL) | Vial | 80.0000d | 30 mg/m2 weekly | 68.57 | 1,920 |
Note: All prices are from IQVIA DeltaPA (accessed August 2023), unless otherwise indicated, and assume wastage. Mark-ups and dispensing fees are excluded. CADTH assumed a patient weight of 70 kg and BSA of 1.7 m2.
aSponsor-submitted price.
bOntario Drug Benefit Formulary list price (September 2023).
cThe list price for eribulin is reflective of Association québécoise des pharmaciens propriétaires (Quebec wholesale) pricing, retrieved from IQVIA DeltaPA. CADTH participating drug plan public formularies did not have a listed price.
dPrice per mL.
Note that this appendix has not been copy-edited.
Description | Yes/No | Comments |
|---|---|---|
Population is relevant, with no critical intervention missing, and no relevant outcome missing | Yes | No comment. |
Model has been adequately programmed and has sufficient face validity | No | The model includes numerous IFERROR statements. The systematic use of IFERROR statements makes thorough auditing of the sponsor’s model impractical, as it remains unclear whether the model is running inappropriately by overriding errors. |
Model structure is adequate for decision problem | Yes | No comment. |
Data incorporation into the model has been done adequately (e.g., parameters for probabilistic analysis) | Yes | Uncertainty around some parameters was based on assumption rather than underlying data though the impact was minor. |
Parameter and structural uncertainty were adequately assessed; analyses were adequate to inform the decision problem | Yes | No comment. |
The submission was well organized and complete; the information was easy to locate (clear and transparent reporting; technical documentation available in enough details) | Yes | No comment. |
Note that this appendix has not been copy-edited.
PFS = progression-free survival; OS = overall survival.
Source: Sponsor’s pharmacoeconomic submission.1
Figure 2: Sponsor’s Extrapolation of OS
KM = Kaplan-Meier; OS = overall survival; TPC = Treatment of Physician Choice
Source: Sponsor’s pharmacoeconomic submission.1
Figure 3: Hazard Rate (Mortality) Over Time for SG Using a Log-Logistic Parametric Fit
Source: Sponsor’s pharmacoeconomic submission.1
Table 10: Disaggregated Summary of Sponsor’s Economic Evaluation Results
Parameter | SG | TPC | Incremental |
|---|---|---|---|
Discounted LYs | |||
Total | 1.890 | 1.522 | 0.368 |
By health state | |||
Progression-free | 0.811 | 0.546 | 0.265 |
Progressed | 1.079 | 0.976 | 0.103 |
Discounted QALYs | |||
Total | 1.512 | 1.215 | 0.297 |
By health state | |||
Progression-free | 0.665 | 0.448 | 0.217 |
Progressed | 0.851 | 0.770 | 0.081 |
Disutility due to AEs | −0.004 | −0.003 | 0.001 |
Discounted costs ($) | |||
Total | $156,342 | $54,974 | $101,369 |
Drug acquisition | $105,017 | $10,064 | $94,954 |
Drug administration | $1,336 | $658 | $677 |
Concomitant medication | $0 | $0 | $0 |
Subsequent treatment | $7,733 | $5,737 | $1,996 |
Disease management | $32,660 | $31,710 | $951 |
Monitoring | $2,511 | $2,027 | $484 |
AE management | $7,085 | $4,778 | $2,307 |
ICER ($/QALY) | $341,152 | ||
AE = adverse event; ICER = incremental cost-effectiveness ratio; LY = life-year; QALY = quality-adjusted life-year; SG = sacituzumab govitecan; TPC = treatment of physician’s choice
Note that this appendix has not been copy-edited.
Figure 4: CADTH Extrapolation of OS
KM = Kaplan-Meier; OS = overall survival; TPC = Treatment of Physician Choice
Source: Sponsor’s pharmacoeconomic submission.1
Figure 5: Hazard Rate (Mortality) Over Time for SG Using a Gamma Parametric Fit
Source: Sponsor’s pharmacoeconomic submission.1
Table 11: Disaggregated Summary of CADTH’s Economic Evaluation Results
Parameter | SG | TPC | Incremental |
|---|---|---|---|
Discounted LYs | |||
Total | 1.525 | 1.287 | 0.238 |
By health state | |||
Progression-free | 0.712 | 0.522 | 0.190 |
Progressed | 0.813 | 0.764 | 0.048 |
Discounted QALYs | |||
Total | 1.221 | 1.029 | 0.193 |
By health state | |||
Progression-free | 0.584 | 0.428 | 0.156 |
Progressed | 0.641 | 0.603 | 0.038 |
Disutility due to AEs | −0.004 | −0.003 | 0.001 |
Discounted costs ($) | |||
Total costs | $150,967 | $53,203 | $97,764 |
Drug acquisition | $99,664 | $9,891 | $89,773 |
Drug administration | $3,187 | $674 | $2,513 |
Subsequent treatment | $7,400 | $5,249 | $2,151 |
Disease management | $31,629 | $30,929 | $701 |
Monitoring | $2,009 | $1,693 | $316 |
AE management | $7,078 | $4,768 | $2,310 |
ICER ($/QALY) | $506,807 | ||
AE = adverse event; ICER = incremental cost-effectiveness ratio; LY = life-year; QALY = quality-adjusted life-year; SG = sacituzumab govitecan; TPC = treatment of physician’s choice
Table 12: Summary of Scenario Analyses Conducted on CADTH Base Case
Stepped analysis | Drug | Total costs ($) | Total QALYs | ICER ($/QALY) |
|---|---|---|---|---|
CADTH base case | TPC | $53,203 | 1.03 | Ref. |
SG | $150,967 | 1.22 | $506,807 | |
CADTH scenario 1: 20-month switch point for OS, PFS, and time to treatment discontinuation | TPC | $55,169 | 1.07 | Ref. |
SG | $158,682 | 1.27 | $506,394 | |
CADTH scenario 2: Inclusion of G-CSF costs | TPC | $53,200 | 1.03 | Ref. |
SG | $158,327 | 1.22 | $544,960 |
ICER = incremental cost-effectiveness ratio; OS = overall survival; PFS = progression-free survival; QALY = quality-adjusted life-year; Ref. = reference; SG = sacituzumab govitecan; TPC = treatment of physician’s choice.
Note that this appendix has not been copy-edited.
Table 13: Summary of Key Take-Aways
Key Take-aways of the BIA |
|---|
|
The sponsor assessed the budget impact of the introduction of SG compared with TPC; capecitabine, eribulin, vinorelbine, or gemcitabine) for adult patients with unresectable locally advanced or metastatic HR+, HER2- breast cancer who have received endocrine-based therapy and at least 2 additional systemic therapies in the metastatic setting from the perspective of the public drug plan in the Canadian setting (excluding Quebec) over a 3-year time horizon.20 The sponsor’s submission only considered drug acquisition costs. In the reference scenario, the sponsor assumed that patients would be eligible to receive single-drug chemotherapies. In the new drug scenario, SG was assumed to proportionally displace market shares of the various chemotherapy treatments.20
The sponsor estimated the eligible population size using an epidemiological which was derived through several assumptions and inputs to first estimate the incident population (i.e., de novo metastatic population) and the prevalent population (i.e., those who progressed to mBC from earlier disease stages), respectively.20 Key inputs to the BIA are documented in CADTH revised the sponsor’s base case by revising the sponsor’s eligible population size to align with input received from clinical expert and drug plan input (Table 15).
The sponsor’s BIA also included the following key assumptions:
The introduction of SG is not expected to expand the market.
Only patients who have progressed and previously received 3 lines of therapy in the metastatic setting are eligible for SG.
All patients with de novo metastases were assumed to not have received systemic therapy, while all patients with distant recurrence were assumed to have received prior systemic therapy.
Drug plan eligibility was assumed to be 100%.
The duration of treatment was equal to the median time to treatment discontinuation in the TROPiCS-02 trial.
Table 14: Summary of Key Model Parameters
Parameter | Sponsor’s estimate (reported as year 1/ year 2/year 3, if appropriate) |
|---|---|
Target population | |
Annual incidence of HR+, HER2- with de novo metastases Annual incidence of breast cancer in Canada Proportion with HR+/HER2- disease Proportion with de novo metastases | 0.091% 64.8% 3.7% |
HR+ HER2- patients progression to metastatic disease 5-year breast cancer prevalence Annual probability of distant recurrence Proportion with systemic therapy before metastasis | 0.37% 3.8% 100% |
Stratification by prior systemic therapy Systemic therapy before metastasis (i.e., prevalent population) No systemic therapy before metastasis (i.e., incident population) | 2,727 656 |
Attrition rates by line of therapy Proportion receiving 2L treatment Proportion receiving 3L treatment Proportion receiving 4L treatment | 57% 54% 55% |
ECOG 0 to 1 | 40% |
Proportion receiving full covered (i.e., drug plan eligible) | 100% |
Number of patients eligible for drug under review | 239 / 242 / 246 |
Market Uptake (3 years) | |
Uptake (reference scenario) Sacituzumab govitecan Capecitabine Eribulin Vinorelbine Gemcitabine | 0.0% / 0.0% / 0.0% 8.1% / 8.1% / 8.1% 48.0% / 48.0% / 48.0% 23.2% / 23.2% / 23.2% 20.7% / 20.7% / 20.7% |
Uptake (new drug scenario) Sacituzumab govitecan Capecitabine Eribulin Vinorelbine Gemcitabine | 50.0% / 75.0% / 87.0% 4.1% / 2.0% / 1.1% 24.0% / 12.0% / 6.2% 11.6% / 5.8% / 3.0% 10.4% / 5.2% / 2.7% |
Cost of treatment (per patient) | |
Annual cost of treatment Sacituzumab govitecan Capecitabine Eribulin Vinorelbine Gemcitabine | $70,436.20 $1,093.40 $13,188.13 $1,395.60 $1,942.45 |
HR+ = hormone receptor positive; HER2- = human epidermal growth factor receptor 2 negative; 2L = second line; 3L = third line; 4L = fourth line; ECOG = Eastern Cooperative Oncology Group.
The sponsor estimated that the 3-year budget impact of reimbursing SG for adult patients with unresectable locally advanced or metastatic HR+, HER2- breast cancer who have received endocrine-based therapy and at least 2 additional systemic therapies in the metastatic setting would be $32,608,568 (Year 1: $7,571,147; Year 2: $11,508,666; Year 3: $13,608,568).
CADTH identified several key limitations to the sponsor’s analysis that have notable implications on the results of the BIA:
The size of the prevalent population was likely overestimated: The sponsor used an epidemiologic approach to estimate the number of patients eligible for SG whereby the number of incident and prevalent patients were estimated separately. First, using data from the 2022 Cancer Statistics Report,21 the sponsor estimates that the 5-year prevalence of breast cancer is 0.37%. However, the Cancer Statistics Report notes that 5-year prevalence is 111,795 for breast cancer in 2018. If this value is divided by the population of Canada in Q1 2018, as reported by StatsCan, the 5-year prevalence rate is 0.3% (111,795 / 36,801,579). Moreover, as detailed elsewhere in the Cancer Statistics Report, the 5-year prevalence in females is approximately 600 per 100,000 equating to approximately 300 per 100,000 across the full population of Canada (i.e., 0.30%). Second, the sponsor assumes 3.8% of prevalent breast cancer cases develop distant metastasis (DM) annually based on estimates from Salvo et al.22 The estimate obtained from Salvo et al. is derived from the 5-year probability of recurrence or death. As such, by using this estimate, the sponsor has included patients who have died before progression to DM and would therefore not be alive to receive SG. To calculate a more accurate value for the annual probability of distant recurrence CADTH reviewed the paper by Smith et al.23 which informed the original 5-year P value. The paper from Smith notes that the percentage of patients who developed distant metastases was 10.8% (versus 15% to 17% of patients who developed distant metastases or died), which equates to an annual probability of 2.26%.
In the CADTH base case, CADTH revised the 5-year breast cancer prevalence rate to 0.30% and the annual probability of distant recurrence to 2.26%. CADTH notes there is still outstanding uncertainty which may affect the budget impact as the sponsor does not consider patients diagnosed with breast cancer more than 5 years ago which have not developed DM. CADTH acknowledges recurrence rates in this population are uncertain but may increase the eligible population size and thus the overall budget impact. A scenario analysis was conducted using a recurrence rate to DM of 4% to explore the impact this variable has on the budget impact.
Eligible patients in the 3L setting were inappropriately excluded: The sponsor assumed that patients would only receive SG in a fourth-line (4L) setting. However, input received from clinical experts for this review indicated that most patients would be offered SG as a 3L therapy. Clinical experts noted that the treatment sequencing for most patients in the first-line (1L) would be an endocrine-based therapy plus CDK4/6; 2L therapy would likely be a trial with another endocrine therapy and a targeted drug, or capecitabine. As such, nearly all patients would meet the requirements for SG as a 3L therapy (patients must have received an endocrine-based therapy and at least 2 additional systemic therapies in the metastatic setting). As endocrine therapy and an additional systemic therapy can be given in the same treatment line this means most patients will be eligible for therapy in the 3L setting. By imposing the assumption that patients will only receive SG as a 4L treatment, the sponsor has underestimated the number of patients in the requested reimbursement population eligible to receive SG.
In the CADTH base case, CADTH assumed that SG would be offered to patients as a 3L+ therapy. In the first year of the BIA CADTH assumed SG would be given in the 3L and 4L setting. In the second year onwards it was assumed SG would only be used in the 3L setting as by this point all patients in the 4L would have been offered or have received SG in the 3L setting.
The proportion of patients receiving later lines of therapy in the metastatic space is underestimated: CADTH notes that there is uncertainty regarding the expected attrition rates for patients receiving 2L, 3L, and 4L therapy. The sponsor assumed that 57.2% of HR+/HER2- patients would progress and receive 2L treatment. Of those who received 2L and 3L treatment, 54.1% and 54.9% would progress and receive 3L and 4L treatment, respectively. Clinician input noted that the sponsor’s values are likely underestimated. Input suggested that the proportion receiving 2L and 3L is between 60% and 85% and 60% to 75%, respectively. In the TROPiCS-02 trial, which analyses patients in 3L/4L, 60% of patients in the TPC arm went on to receive a subsequent therapy. The sponsor’s estimates would therefore suggest that fewer patients in 1L and 2L receive subsequent therapy than those in 3L+.
In the CADTH base case, CADTH assumed that 70% of patients in the 1L setting receive a 2L of therapy. In the 2L setting, it was assumed that 65% of patients receive a 3L of therapy. In the 3L setting, it was assumed that 60% of patients receive a 4L therapy. To address uncertainty around these estimates a scenario was conducted assuming the sponsors base values and an analysis that assumed a greater number of patients go on to receive subsequent therapies in the 2 and 3L setting.
Patients with an Eastern Cooperative Oncology Group Performance Status (ECOG PS) of 2 were excluded: Based on the inclusion criteria in the TROPiCS-02 study, the sponsor assumed that patients with an ECOG PS of 0 or 1 would meet the eligibility criteria for SG. The sponsor estimates that approximately 40% of eligible patients have an ECOG score of 0 or 1 based on an internal study conducted by the sponsor and abstract from Waks et al.24 The point estimate was the midpoint between 24.6% – 63.4% reported in the studies. Clinical expert input received by CADTH for this review noted that patients with an ECOG score of 2 would also be eligible for SG in clinical practice. Input suggested that the proportion of patients with an ECOG score between 0 and 2 would be approximately 60%. CADTH notes that the exclusion of patients with an ECOG score of 2 is not consistent with the Health Canada–indicated population of adult patients with unresectable locally advanced or metastatic HR+, HER2- breast cancer who have received endocrine-based therapy and at least 2 additional systemic therapies in the metastatic setting.
In the CADTH base case, CADTH included patients with an ECOG score of 2.
The cost of SG was underestimated: In the sponsor’s analysis, the cost of SG and current therapies was calculated using the median duration of treatment (in months) multiplied by average monthly drug costs. However, the median is not the appropriate statistic to use when analyzing drug costs for a BIA. The median does not account for the skewness of the data and therefore assumes all patients stay on treatment for the same length of time. The sponsor estimates the cost of SG to be $70,436 based on an assumed 4.11 months of treatment (median time on treatment). However, in the sponsor’s submitted economic analysis, which considers the mean duration of treatment, average costs associated with SG over 3 years are estimated to be $103,530 per patient. Likewise, the mean duration of time on treatment from the TROPiCS-02 study was shown to be 5.81 months.
In the CADTH base case, CADTH assumed that total SG costs would be $103,530. This was obtained from the sponsor’s submitted economic evaluation with CADTH base-case changes applied for the first 3 years of the analysis with a 0% discount rate.
As the sponsor only provided a weighted treatment cost for TPC the same method could not be applied for estimating costs in other comparators within the BIA. Instead, for treatments included in TPC CADTH used the mean duration of treatment rather than median using evidence from the TROPiCs-02 study. Eribulin (median: 3.37; mean: 4.3), capecitabine (median: 4.53; mean: 4.8), gemcitabine (median: 1.45; mean: 2.9), vinorelbine (median: 1.18; mean: 1.9).
The market uptake of SG is uncertain: The sponsor’s submitted base case assumed that 50%, 75%, and 87% of eligible patients would receive SG in Year 1, Year 2, and Year 3, respectively, based on the sponsor’s internal projections and expert opinion.20 Clinician input received by CADTH for this review suggests that the uptake of SG may be higher in Years 1 and 2.
CADTH explored uncertainty in the uptake of SG in scenario analyses.
Concomitant medication costs were not considered: The sponsor did not consider the concomitant treatment costs for G-CSF use with SG. As documented in the TROPiCS-02 trial and noted by drug plans and clinical experts, a proportion of patients receiving SG will require G-CSF.3 It was noted that G-CSF is only funded in select jurisdictions and use of G-CSF concomitantly with TPC was unlikely. By omitting G-CSF costs, the sponsor has underestimated the budget impact of reimbursing SG for the indicated population.
CADTH was unable to address this limitation owing to the structure of the sponsor’s model.
CADTH revised the sponsor’s base case by revising the sponsor’s eligible population size to align with input received from clinical expert and drug plan input (Table 15).
Table 15: CADTH Revisions to the Submitted BIA
Stepped analysis | Sponsor’s value or assumption | CADTH value or assumption |
|---|---|---|
Corrections to sponsor’s base case | ||
None. | — | — |
Changes to derive the CADTH base case | ||
1. 4L use only | Eligible patients were assumed to only receive SG as a 4L+ therapy. | Eligible patients were assumed to receive SG as a 3L therapy. In year 1, SG is used as a 3L and 4L therapy. After 1 year, SG is only used as a 3L therapy under the assumption everyone in 4L will have already received/been considered for SG. |
2. Attrition rates through treatment lines | Assumed 57.2% of patients who receive 1L therapy go on to receive 2L. Assumed 54.1% of patients who receive 2L therapy go on to receive 3L. Assumed 54.9% of patients who receive 3L therapy go on to receive 4L. | Assumed 70% of patients who receive 1L therapy go on to receive 2L. Assumed 65% of patients who receive 2L therapy go on to receive 3L. Assumed 60% of patients who receive 3L therapy go on to receive 4L. |
3. Drug cost | The total cost for each treatment was based on median treatment duration. SG: $70,436 Capecitabine: $1,093 Eribulin: $13,188 Vinorelbine: $1,395 Gemcitabine: $1,942 | The total cost for SG treatment was derived from the sponsor’s submitted economic evaluation with CADTH case base changes applied (accounting for dose delay) and is based on mean treatment duration. SG: $103,530 This could not be conducted for drugs within the TPC basket as the model does not provide treatment specific time-to-discontinuation curves. Instead CADTH simply updated the time on treatment to reflect the mean time as opposed to median. Capecitabine: $1,159 Eribulin: $16,828 Vinorelbine: $2,247 Gemcitabine: $3,885 |
4. Inclusion of patients who have an ECOG score of 2 | Excludes patients with an ECOG score of 2 (assumes only 40% of patients have ECOG 0 to 1 and would therefore be eligible for SG) | Includes patients with an ECOG score of 2 (assumes 60% of patients have ECOG 0 to 2 and would therefore be eligible for SG) |
5. Prevalent population size | Estimates the 5-year breast cancer prevalence is 0.37% and the annual probability of distant recurrence is 3.8% | Estimates the 5-year breast cancer prevalence is 0.30% and the annual probability of distant recurrence is 2.26% |
CADTH base case | Reanalysis 1 + 2 + 3 + 4 + 5 | |
2L = second line; 3L = third line; 4L = fourth line; ECOG = Eastern Cooperative Oncology Group; SG = sacituzumab govitecan.
The results of the CADTH step-wise reanalysis are presented in summary format in Table 16 and a more detailed breakdown is presented in Table 17. In the CADTH base case, the 3-year budget impact is expected to be $129,191,759 (Year 1: $42,125,294; Year 2: $40,020,849; Year 3: $47,045,615) should SG be reimbursed as per the sponsor’s reimbursement request (i.e., for adult patients with unresectable locally advanced or metastatic HR+, HER2- breast cancer who have received endocrine-based therapy and at least 2 additional systemic therapies in the metastatic setting).
Table 16: Summary of the CADTH Reanalyses of the BIA
Stepped analysis | 3-year total |
|---|---|
Submitted base case | $32,608,568 |
CADTH reanalysis 1: Use in the 3L setting | $66,967,445 |
CADTH reanalysis 2: Lower attrition rates through treatment lines | $52,399,692 |
CADTH reanalysis 3: Updated drug costs | $48,447,362 |
CADTH reanalysis 4: Inclusion of patients who have an ECOG score of 2 | $48,912,852 |
CADTH reanalysis 5: Prevalent population size | $18,998,425 |
CADTH base case | $129,191,759 |
BIA = budget impact analysis.
CADTH conducted additional scenario analyses to address remaining uncertainty, using the CADTH base case. Results are provided in Table 17.
Adopting the sponsor’s attrition rates for the proportion of patients who receive 2L, 3L, and 4L (57.2%, 54.1%, and 54.9%, respectively).
Adopting alternative attrition rates for the proportion of patients who receive 2L, 3L, and 4L (85%, 75%, and 55%, respectively) based on clinical expert input received by CADTH for this review.
Assuming higher uptake of SG of 70% in Year 1 and 80% in Year 2 (sponsor’s estimate of 87% maintained for Year 3).
Assuming a higher rate of distant metastatic recurrence (4% annually equating to 18% over a 5 year time horizon).
Table 17: Detailed Breakdown of the CADTH Reanalyses of the BIA
Stepped analysis | Scenario | Year 0 (current situation) | Year 1 | Year 2 | Year 3 | 3-year total |
|---|---|---|---|---|---|---|
Submitted base case | Reference | $1,686,799 | $1,709,357 | $1,732,227 | $1,755,414 | $5,196,998 |
New drug | $1,686,799 | $9,280,503 | $13,240,893 | $15,284,170 | $37,805,566 | |
Budget impact | $0 | $7,571,147 | $11,508,666 | $13,528,755 | $32,608,568 | |
CADTH base case | Reference | $8,396,308 | $8,508,591 | $5,389,019 | $5,461,156 | $19,358,767 |
New drug | $8,396,308 | $50,633,886 | $45,409,869 | $52,506,771 | $148,550,526 | |
Budget impact | $0 | $42,125,294 | $40,020,849 | $47,045,615 | $129,191,759 | |
CADTH scenario analysis: sponsor’s attrition rates | Reference | $5,528,429 | $5,602,360 | $3,665,149 | $3,714,210 | $12,981,719 |
New drug | $5,528,429 | $33,339,155 | $30,883,900 | $35,710,605 | $99,933,661 | |
Budget impact | $0 | $27,736,795 | $27,218,751 | $31,996,395 | $86,951,941 | |
CADTH scenario analysis: alternate attrition rates | Reference | $11,396,432 | $11,548,835 | $7,550,549 | $7,651,620 | $26,751,004 |
New drug | $11,396,432 | $68,726,110 | $63,623,717 | $73,567,180 | $205,917,007 | |
Budget impact | $0 | $57,177,275 | $56,073,168 | $65,915,560 | $179,166,003 | |
CADTH scenario analysis: higher market uptake | Reference | $8,396,308 | $8,508,591 | $5,389,019 | $5,461,156 | $19,358,767 |
New drug | $8,396,308 | $67,484,003 | $48,077,925 | $52,506,771 | $168,068,700 | |
Budget impact | $0 | $58,975,412 | $42,688,906 | $47,045,615 | $148,709,933 | |
CADTH scenario analysis: higher rate of recurrence | Reference | $12,709,240 | $12,879,199 | $8,157,197 | $8,266,388 | $29,302,785 |
New drug | $12,709,240 | $76,642,992 | $68,735,555 | $79,477,924 | $224,856,471 | |
Budget impact | $0 | $63,763,793 | $60,578,358 | $71,211,535 | $195,553,687 |
BIA = budget impact analysis.
The Canadian Breast Cancer Network (CBCN) is a leading, patient-directed, national health charity committed to ensuring the best quality of care for all Canadians affected by breast cancer through the promotion of information, education, and advocacy activities. www.cbcn.ca
As a member of the Canadian Cancer Action Network, the Canadian Breast Cancer Network is committed to adhering to the Code of Conduct Governing Corporate Funding.
Information for this submission was collected via:
CBCN’s 2022 Triple Negative Breast Cancer Patient Survey: An online survey conducted by the Canadian Breast Cancer Network was distributed to patients living with breast cancer. 981 people completed the English-only survey, of whom 31 had metastatic HR-positive, HER2-negative breast cancer. Survey questions comprised of a combination of scoring options and free form commentary. Patients were contacted through the membership databases of CBCN and other patient organizations.
Patients reported that they lived in the following provinces:
26% from Ontario.
23% from Alberta.
16% from Quebec.
16% from British Columbia.
19% were from Nova Scotia (1 patient), Newfoundland and Labrador (3 patients), and Saskatchewan (2 patients).
They also reported on their age at the time of the survey, and first language:
10% spoke a first language other than English; two patients spoke French as a first language, and one spoke Italian as a first language.
23% were between the ages or 40-50.
42% were between the ages of 51-60.
19% were between the ages of 61-70.
Only 1 patient (3%) was older than 70, and none were younger than 40.
CBCN’s 2017 Metastatic Breast Cancer Patient Survey: An online survey conducted by the Canadian Breast Cancer Network, distributed to patients living with metastatic breast cancer. 180 metastatic patients participated in the survey, of whom 38 had metastatic HR-positive, HER2-negative breast cancer. Survey questions comprised of a combination of scoring options and free form commentary. Patients were contacted through the membership databases of CBCN and other patient organizations.
Patients reported that they lived in the following provinces:
47% were from Ontario.
24% were from British Columbia, Quebec, and Saskatchewan (3 patients from each province).
11% were from Alberta and Manitoba (2 patients from each province).
5% were from Newfoundland/Labrador and Nova Scotia (1 patient from each province).
13% did not report which province they lived in.
They also reported on their age at the time of the survey, and first language:
8% spoke a first language other than English; two patients spoke French as a first language, and one spoke German as a first language.
15% were between the ages of 30-40.
21% were between the ages or 41-50.
32% were between the ages of 51-60.
13% were between the ages of 61-70.
Only 1 patient (>3%) was older than 70, and none were younger than 30.
CBCN’s 2012 Metastatic Breast Cancer Patient and Caregiver Survey Report: An online survey, conducted in collaboration with ReThink Breast Cancer, was distributed to patients living with metastatic breast cancer and their caregivers. Survey questions comprised of a combination of scoring options and free form commentary. 71 patients and 16 caregivers were contacted through the membership databases of CBCN and other patient organizations.
Key informant interviews: CBCN was not able to speak with patients taking sacituzumab govitecan for the treatment of HR-positive, HER2-negative metastatic breast cancer. We did, however, conducted interviews with two metastatic triple negative breast cancer patients who had experience with the drug under review, just for a different indication. The first interview was conducted in June 2021 and the second was conducted in June 2023. These two individuals discussed the side effects, as well as the social and financial impacts of the treatment.
Printed sources: A review was conducted of current studies and grey literature to identify issues and experiences that are commonly shared among many women living with breast cancer.
Metastatic breast cancer is the spread of cancerous cell growth to areas of the body other than where the cancer first formed and is more severe than cancer that has not spread. It is most commonly spread to the bones, but can also spread to the lungs, liver, brain, and skin. In our 2017 Survey, the majority of the HR-positive, HER2-negative metastatic breast cancer patient respondents experienced metastases to their bones, liver, and lungs, with 33 respondents reporting metastases to their bones.
Current treatment options for metastatic breast cancer are only effective at prolonging progression-free disease, and most cases of advanced disease will progress, and symptoms will worsen. Patients with a diagnosis of metastatic breast cancer understand the limitations of current treatment options and seek to live their remaining months and years with the best possible quality of life that they can achieve.
HR-positive, HER2-negative is a subtype of breast cancer indicated by the presence of both the progesterone and estrogen hormone, but not the HER2 protein. Overexpression of HER2-proteins can drive cell growth, and HER2-positive breast cancer types have more targeted treatment options. For HR-positive, HER2-negative patients, the level of HER2-protiens is not high enough for HER2 targeted therapies to be effective. Patients with this subtype of breast cancer can also use hormone therapy, however hormone therapies can lose their effectiveness over time. As a result, patients with this subtype of breast cancer must rely more on systemic treatments (such as chemotherapy) which are less effective and have greater side effects that many targeted therapies.
How the disease presents itself through symptoms, how it progresses, and how it is experienced varies by patient, but many effects of metastatic breast cancer represent a significant or debilitating impact on their quality of life.
In our 2012 Metastatic Breast Cancer Patient and Caregiver Survey (2012 Survey), patients were asked what impact cancer-related symptoms had on their quality of life:
54% of patients reported that fatigue resulted in a significant or debilitating impact, and 40% reported some or moderate impact.
39% of patients reported that insomnia resulted in a significant or debilitating impact, and 46% reported some or moderate impact.
37% of patients reported that pain resulted in a significant or debilitating impact, and 44% reported some or moderate impact.
These results were reinforced by our 2017 Metastatic Breast Cancer Patient Survey (2017 Survey).
The impact of this disease spreads across all aspects of a patient’s life, restricting an individual’s employment and career, ability to care for children and dependents, and their ability to be social and meaningfully participate in their community.
When asked in the 2012 Survey what impact living with metastatic breast cancer has had on quality of life, the following was reported:
Among those who were employed, 71% of patients identified significant restrictions to their ability to work.
Among those with children or dependents, 21% identified significant restrictions and 53% reported some or moderate restrictions to their caregiving responsibilities.
49% of patients identified significant restrictions and 38% identified some or moderate restrictions to their ability to exercise.
42% of patients identified significant restrictions and 42% identified some or moderate restrictions to their ability to pursue hobbies and personal interests.
41% of patients identified significant restrictions and 41% identified some or moderate restrictions to their ability to participate in social events and activities.
22% of patients identified significant restrictions and 52% identified some or moderate restrictions to their ability to spend time with loved ones.
Other experiences identified by patients included: guilt, the feeling of being a burden on caregivers, fear of death, poor body image, not knowing what functionality will be lost, fear of the impact of cancer and the loss of a parent on children, not knowing what will happen to children, the loss of support of loved ones, as well as marital stress/loss of fidelity and affection from husband.
The goals of current treatment options for metastatic breast cancer include controlling the progression of the disease (extending life) and reducing cancer-related symptoms (extending or stabilising quality of life). Treatment options and effectiveness vary by type of cancer, location of cancer, and how symptoms are experienced. People diagnosed with HR-positive, HER2-negative metastatic breast cancer have limited targeted treatment options, poor prognosis, and poor survival outcomes.
In our 2022 Survey, most of the HR-positive, HER2-negative metastatic breast cancer patients had received or were currently receiving hormone therapy (28 patients), surgery (25 patients), and radiation therapy (21 patients). Additional treatments included previous or current treatment with chemotherapy (18 patients), and biologics or targeted therapies (19 patients). None of these patients received immunotherapy, and 11 patients received both chemotherapy and biologics or targeted treatments.
While immunotherapy can be helpful as a first-line treatment, single-agent chemotherapy is the standard treatment beyond first-line and is associated with low response rates and short progression-free survival. As the disease continues to progress and treatment stops responding, individuals must move to second- and third-line treatments, making their treatment options even more limited as they require newer lines of treatment.
Respondents in our 2017 Survey indicated that the following key factors influenced their decision-making around treatments:
Effectiveness of the treatment – how well the treatment stabilized their disease and delayed progression of their disease.
Prolonged quality of life – being able to maintain productive, active lives with minimal disruption to daily routines.
Side effect management – minimizing risk while stabilizing their disease.
Cost and accessibility of treatments – affordability and ease of accessing treatments.
In both the 2022 Survey and the 2017 survey, efficacy of treatment was a high priority for patients. The 2022 Survey found that 92% of HR-positive, HER2-negative metastatic breast cancer patients rated how well a therapy works to treat their cancer as important or very important. In the 2017 Survey, here is what HR-positive, HER2-negative metastatic breast cancer patients said about progression free survival (PFS), overall survival (OS), and treatment effectiveness:
68% rated treatment effectiveness as the most important factor when making decisions about their treatment.
55% indicated that progression-free survival of less than 3 months was important or very important.
68% indicated that progression-free survival of 3-5 months was important or very important.
89% indicated that progression-free survival of 6 months or longer was important or very important.
92% indicated that overall survival was important or very important.
Anecdotally, metastatic patients in our 2017 Survey spoke on the importance of treatment effectiveness in their decision-making:
“The most important factors for me are progression free survival and quality of life.”
“Anything to prolong my survival and maintain quality of life.”
“Survival is of upmost importance to me.”
In addition to efficacy, quality of life was routinely cited by patients as a key factor in making treatment decisions. In our 2017 Survey, 89% of HR-positive, HER2-negative metastatic breast cancer patients revealed that quality of life was important or very important to them when considering treatment options. More specifically, 87%, 66% and 63% of HR-positive, HER2-negative metastatic breast cancer patients indicated that minimal side effects, productivity, and mobility, respectively, were important or very important considerations when making decisions regarding treatment options.
This concern was reiterated anecdotally:
“Making sure I have some quality of life so I can [spend] as much time with my kids and family I don't want them to watch me suffer.”
“Trying to balance the most effective treatment regime with the least impact on my day-to-day living/quality of life. Maintaining a certain level of independence is important to me.”
“Definitely the balance of quality of life vs side effects with the [effectiveness].”
In our 2012 Metastatic Patient and Caregiver Survey, participants were asked about the balance between treatment risk and treatment benefit. We asked them to consider the level of side effect and its associated impact on their quality of life that would be worth extending progression-free disease by six months. These were their responses:
Almost two-thirds of patients indicated that when it comes to fatigue, nausea, depression, problems with concentration, memory loss, diarrhea, and insomnia, some or a moderate impact on one’s quality of life would be considered acceptable, and approximately one quarter of patients indicated that a strong or debilitating impact would be considered acceptable.
70% of patients indicated that when it comes to pain, some or a moderate impact on one’s quality of life would be considered acceptable, and 27% of patients indicated that a strong or debilitating impact would be considered acceptable.
In our 2017 Survey, HR-positive, HER2-negative metastatic breast cancer respondents indicated that:
In exchange for 6 months or less of benefits, pain, fatigue, nausea, insomnia, lack of concentration, memory loss, diarrhea, and hair loss were very acceptable or somewhat acceptable.
15 indicated that depression as a symptom in exchange of 6 months or less of benefits from breast cancer treatment was not acceptable.
16 indicated depression would be somewhat acceptable.
15 indicated that vomiting not be acceptable.
13 indicated that vomiting would be somewhat acceptable.
The financial burden associated with advanced breast cancer extends far beyond any loss of income during a temporary or permanent absence from employment. In addition to the loss of income during illness, metastatic breast cancer patients can incur substantial costs associated with treatment and disease management.
Research on the financial impact of breast cancer on patients identified the following: (Janet Dunbrack, Breast Cancer: Economic Impact and Labour Force Re-entry. Canadian Breast Cancer Network, 2010)
80% of breast cancer patients report a financial impact due to their illness.
44% of patients have used their savings, and 27% have taken on debt to cover costs.
These findings were consistent with the responses in our 2012 Survey:
Nearly one-third of patients indicated that the cost of medication, the cost of alternative treatments (i.e. massage, physiotherapy, etc.) to manage symptoms and side effects, and the time required to travel to treatment had a significant or debilitating impact on their quality of life.
24% of patients indicated that the costs associated with travel had a significant or debilitating impact on their quality of life, and 41% of patients indicated that it had some or moderate impact on their quality of life.
In our 2017 Survey, the majority of HR-positive, HER2-negative metastatic patients reported that their diagnosis had some (32%) or a very large (45%) impact on their finances. In addition to this, 42% of HR-positive, HER2-negative metastatic patients indicated that the time required to travel to treatment had some or a significant impact of their quality of life. 63% reported the same in regard to the cost of other treatments (i.e. massage, physiotherapy, etc.) and 53% reported the same in regard to costs associated with travel.
Our 2022 Survey indicated that among HR-positive, HER2-negative metastatic patients:
45% were prescribed treatments not covered publicly.
61% were prescribed support medication not covered publicly.
3% reported that the cost of support medication or treatment medication prevented them from taking the drug.
Other financial barriers that metastatic breast cancer patients mentioned include prescribed cancer treatments not qualifying for insurance through work, inability to change employers due to loss of insurance, and the prohibitive cost of new treatment options.
“Many of the next step treatments are very expensive [and not covered by government programs] and it is a HUGE struggle to get [coverage]. […] When dealing with an incurable disease the last thing you want to have to do is spend time on a letter writing campaign to argue about whether or not you should receive the drugs [recommended by your physician]. At about $1500.00 a week, I don't know many who can afford that.”
“Always a concern as you never know if the next drug will be covered or how long it takes to get approval from private coverage. Many times, it delays treatment and this weighs on one's mind.”
“I wanted to try [immunotherapy], but it is [$]7500.00 every 3 weeks not covered by private insurance, now will probably have to go on chemo again, and the last ones were very hard on me causing toxicity and having to get blood transfusions.”
“Just because I am not in the lowest income bracket does not mean I don't need assistance. I am excluded from all programs I have tried to access.”
When living with cancer, many patients experience significant barriers and challenges around availability of health care services and quality childcare in their community. In response to the 2012 Survey questions about the availability of supports such as childcare, transportation and alternative treatments in their community:
Among patients with children or other dependents, 53% indicated that there is minimal or no access to appropriate care for their loved ones when they are experiencing debilitating symptoms related to their cancer, and 40% identified barriers to accessing quality care during cancer treatment.
Our 2017 Survey found that among HR-positive, HER2-negative metastatic patients with children at the time of their diagnosis:
21% indicated that finding appropriate care for their children/dependents when experiencing side effects of cancer treatments was not accessible.
23% indicated that finding appropriate care for their children/dependents during cancer treatment was not accessible.
13% indicated that finding symptom management options in or around their community was not accessible.
All cancer therapies come with some level of risk and side effects. It’s important that patients are at the forefront of deciding which side effects are worth the benefits of the given treatment.
When asked in the 2012 Survey about their willingness to tolerate risk with a new treatment:
34% of respondents were willing to accept serious risk with treatment if it would control the disease.
45% of respondents were willing to accept some risk with treatment.
21% of respondents were very concerned and felt less comfortable with serious risks with treatment.
Open ended question responses demonstrated the imperative for metastatic breast cancer patients to have access to and options regarding what drugs they take. In our 2022 survey, 35% percent of HR-positive, HER2-negative metastatic breast cancer patients expressed being very comfortable in treatment decisions. Most patients are well aware of the adverse effects of treatment up front, and they want to make a personal choice that works for them.
Metastatic breast cancer patients expressed the need for personal choice and autonomy in our 2012 Survey, as well as in the 2017 Survey:
“I think patients (ESPECIALLY young patients) should be given more decision-making power in terms of access to radical treatments to control disease. […] With two small [children] I am determined to access any treatment that can extend my life and I hate struggling with doctors for this access.” – 2012 Survey
“I believe that I would prefer to tolerate severe restrictions in the quality of my life, if it meant that I would be able to have a longer period without progression.” — 2012 Survey
“It would be nice to have more choices and more information about them. I was lucky to get on a clinical trial perhaps because my oncologist was a research oncologist and involved in many. While I knew friend and acquaintances that had Stage IV BC and never informed of clinical trials, and sadly several did not survive the disease.” — 2017 Survey
“I am frustrated that ALL the treatment choices aren't given to me... I am told what I am taking next with no option or discussion on other options. My oncologist has assured me there are many treatments available, but have never shared which, so I have to turn to Facebook groups for guidance.” — 2017 Survey
For metastatic patients, extension of progression-free survival (PFS) is of critical concern. Like any other treatment for metastatic breast cancer, patients have an expectation that sacituzumab govitecan (Trodelvy) will extend their progression-free survival with good quality of life when first, second, and third-line therapies stop working.
The phase 3 TROPiCS-02 trial evaluated and compared sacituzumab govitecan as a monotherapy to the treatment of physicians' choice (TPC) for patients that progressed after a minimum of one endocrine therapy, a taxane and CDK4/6 inhibitor in any setting, and two to four chemotherapies in the metastatic setting among patients with locally recurrent inoperable HR-positive, HER2-negative cancer types.
Phase 3 of the TROPiCS-02 trial showed a median PFS of 5.5 months for sacituzumab govitecan vs. 4.0 months in the comparator arm (TPC arm). Median overall survival (OS) was 14.4 months with sacituzumab govitecan vs. 11.2 in the TPC arm. (https://ascopost.com/news/september-2022/tropics-02-update-sacituzumab-govitecan-improves-overall-survival-in-previously-treated-patients-with-hormone-receptor-positive-her2-negative-breast-cancer/)
The phase 3 data from TROPiCS-02 showed the safety profile of sacituzumab govitecan was consistent with previous studies, no new safety signals were identified, and few adverse effects were identified. Commonly reported side effects of any grade were: neutropenia, diarrhea, nausea, alopecia, fatigue, and anemia. Commonly reported side effects of grade 3 or higher were: neutropenia, diarrhea, anemia, abdominal pain, and fatigue. 28 patients (10.4%) treated with sacituzumab govitecan reported serious adverse events, and one patient died as a result of sacituzumab govitecan. (https://www.trodelvyhcp.com/hr-positive-her2-negative-mbc/safety)
Additional treatment options that can delay the progression of the disease, relieve cancer-related symptoms, and improve a patient’s quality of life have a significant impact on patients. When living with no or with minimal cancer-related symptoms, and with minimal side effects from treatment, patients are able to reduce the impact of cancer on their ability to care for children and dependents, continue with their employment, earn income, spend time with loved ones and participate in their life in a meaningful way by engaging in social activities, travelling, maintaining friendships, and pursuing personal interests.
The value to patients of extending the time that their cancer is progression-free cannot be overestimated. Patients living with metastatic breast cancer are aware that their advanced disease will progress with worsening symptoms until death, and embrace opportunities to try new treatments, even if benefits may be as little as a six month extension of progression-free disease. It is also very important for patients to have good quality of life when receiving treatment for metastatic disease. Patients that we speak to on a regular basis acknowledge the importance of having the energy to attend their children’s activities and to spend time with family and friends.
There was only one Canadian patient involved in the TROPiCS-02 clinical trial and CBCN was not able to speak to her. However, we were able to speak to two Canadian patients who had experienced Trodelvy for a different indication. Hearing from patients with experience using Trodelvy in the metastatic triple negative breast cancer setting provides insight into the value a new drug has for metastatic patients in the 4th line and beyond. The social, financial, and drug safety impacts of Trodelvy for patients with metastatic triple negative breast cancer can be assumed to mirror those for Canadian metastatic HR-positive, HER2-negative breast cancer patients.
Patient 1: This patient was interviewed in June 2023 and was between the ages of 30-35 at the time. She was diagnosed with stage III triple negative breast cancer in mid-2020, which had progressed to stage IV triple negative metastatic breast cancer. She was able to access this treatment through a patient support program. She was previously treated with AC chemotherapy, Taxol, partial mastectomy, and radiation.
Patient 2: This patient was interviewed in June 2021, and was between the ages of 35-40 at the time. She was first diagnosed with stage III triple negative breast cancer in late 2019, which had progressed to stage IV triple negative metastatic breast cancer. She was able to access this treatment because of her oncologist. She was previously treated with an immunotherapy, AC chemotherapy, Taxol, cisplatin, capecitabine, atezolizumab, and abraxane. She also had a double mastectomy and underwent 25 rounds of radiation.
Patients shared their experience with treatment side effects; both patients experienced hair loss, and nausea. In addition, Patient 1 experienced diarrhea, and fatigue, and Patient 2 experienced headache.
Patient 1:
“AC was at first similar to Trodelvy. I was on a 100 percent dose [of Trodelvy] at first. Now I’m down to 80. So, when I was on a 100 percent dose, it was very tiring and I slept most of the day […] So I found [Trodelvy] pretty comparable to [AC chemotherapy]. And then I’ve been on Taxol and Abraxane and carboplatin. And I’ve found [Trodelvy] is still a little bit more difficult because there are more side effects with it… Basically, I find it comparable to AC… But now that I’ve dropped down to an 80 percent dose, I find that it’s a lot better.”
After reducing the strength of Trodelvy to 80%, Patient 1 shared that the side effects improved.
“I still do have diarrhea and obviously hair loss. Sometimes I have nausea, so I have to make sure I stay on top of nausea meds. But other than that, it’s given me a good quality of life. Those side effects tend to last only a couple of days, so overall I find that it has given me a fairly good quality of life […] The side effects are definitely manageable. I’ve been able to manage them with the help of my healthcare providers and some medications.”
At 80% dosage of Trodelvy, Patient 1 has had mixed results with support medication to control diarrhea.
“Sometimes [the diarrhea is] very hard to control. Sometimes it’s a matter of really running to the bathroom in order to control it. Diarrhea is the main one. I find it the hardest to control. We’ve tried a few medications. Sometimes they work, sometimes they don’t. I find it’s not the best because it’s on my off week too. Like usually you have side effects during your on weeks. So, my diarrhea always comes during my off week. So instead of having a break, I have issue[s] with that, right. So, it’s a little bit hard to manage. It’s worth it for what I’m getting out of it.”
“So usually, I seek help from either my nurses at chemo or my oncologist to help with those. So right now, I’m on Lomotil. They suggested that I take it prophylactically, before the diarrhea occurs. Lomotil is a stronger version of Imodium, basically. So, it’s supposed to help diarrhea.”
Patient 1 also spoke about how the emotional and psychological impacts of side effects impacted her quality of life.
“Mentally I found that the hair loss is a little bit difficult. Like I’m getting married in August, so it would have been nice to have my own hair. So, I find that a little bit hard to handle mentally…”
“I wish that this drug didn’t involve hair loss. But it does, so…And then, the diarrhea is a little bit hard to manage. There are times when I don’t make it to the toilet and it’s a little embarrassing, being so young.”
Patient 2 shared that the side effects she experienced from Trodelvy were very minor, and very manageable.
“They’re all fine. They’re all acceptable. I think they’re all within a realm of normal, manageable side effects.”
To address the headaches and nausea, Patient 2 was able to take over-the-counter medications on an as-needed basis. Patient 2 found the side effects of Trodelvy to be much more tolerable than those she experienced while on other treatments.
“I take Tylenol for headaches if I need to. And I have some anti-nauseas that I take if I get nauseous. But it’s really on an as-needed basis, whereas with other therapies, I was taking them daily to make sure the side effects didn’t start, whereas with Trodelvy, the side effects I find are quite minor. So, if I feel a little bit nauseous or a little bit headachy, I can take an over-the-counter medication and it’s enough to cut down the side effect, whereas with the other ones I was taking very heavy prescription medications daily.”
Although the patients interviewed are using Trodelvy in the metastatic triple negative breast cancer setting, their decisions to use Trodelvy highlights the experiences of metastatic patients who have used multiple prior lines of treatment.
Both Patient 1 and Patient 2 shares that their options were limited at the time they started Trodelvy. In fact, Patient 2 had begun the treatment under review with an oncologist in the United States prior to her oncologist’s support with accessing Trodelvy in Canada.
“I had progressed on every other drug that I had been on, other than the stage III drugs. I had progressed on every other drug. They recommended this one. It was known to have the best results.” — Patient 1
“There was vinorelbine. I could have taken that one. But my oncologist said that it’s not one of the best ones, and Trodelvy would be better if I could get onto that. So that’s why we chose Trodelvy.” — Patient 1
“Everything else I tried wasn’t working. And it was what my oncologist said would give me the best chance. There were other therapies available in the United States, but really there weren’t any other good therapies available to me in Canada.” — Patient 2
Patient 2 was able to access Trodelvy through her oncologist, and she acknowledged that most other triple negative metastatic breast cancer patients did not have access to this treatment.
“I feel incredibly lucky. I speak to a lot of other women, especially young women like me, some even younger, that have the same Stage IV triple negative diagnosis as I do, and they were unable to get this treatment.”
Without access to this treatment, Patient 2 stated that she would have looked to get therapy in the United States and paid out-of-pocket. While she had this potential alternative, she acknowledged that she is privileged to have the financial means to do so and recognized that many other patients do not have the same means or access as she does.
“There are actually not many options left available in Canada. I would probably be paying out-of-pocket for something in the United States. And I’m only really lucky enough to be able to do that because I have the financial means to do it, and I live close enough to the United States border that I can drive down for treatment. I talked to another patient who has the same cancer as me and that lives in Edmonton, and she can’t drive down to the States. So, she had to fly down and is living there at great expense to her.”
In terms of how Trodelvy compared to other treatments that Patient 2 had been on, she found it to be the most preferable option, especially due to the difficult side effects from the alternatives.
“It’s actually one of the most manageable ones. I actually found I got the most life-impacting side effects when I went on capecitabine. And when I was on AC chemo, obviously that’s quite a difficult chemotherapy. There was a lot of nausea and that sort of thing. This one, it’s not so bad. I don’t have to take as many other drugs to manage the side effects.”
“Infusions are every couple of weeks so it’s not hard to do the treatment.”
As with any new drug indication, patents expect that treatment will be effective in controlling the disease, have manageable side effects, be safe, and is affordable to the patients who need it.
Patient 1 made the following comments about how access to Trodelvy impacted her, and her family.
“Well, [my family is] hopeful. They’re very hopeful. It makes them see that there’s hope for the future. And it’s actually done the same for me too. Before Trodelvy, I would kind of live month to month, and I didn’t want to make plans far in the future. But now, well, I planned a wedding that was a year out. So, it’s given me more hope, and it’s given my parents more hope. Yeah, they’re happy to see that I’m having good results on it.”
“[Access to Trodelvy] means that I’m able to have the best quality of life and that it extends my life. It’s given me more hope for the future.”
Patient 1 expressed that she is not yet ready to return to work but would consider returning to work in the future.
“I’m not able to work right now. However, I’ve been told that I can go back to work if I choose. It’s just that I find that I do get fatigued after some time, so especially right now with planning a wedding and everything, it’s a lot. But I think eventually I might try to go back to work. I’m a teacher. So it’s very hard work and it’s stressful. And I want to make sure that I’m in the best state of mind when I’m working with young kids. I’m an elementary school teacher, right? I just find I’m not able to work right now, but I might try in the future if this continues to do the job it’s doing.”
Financially speaking, Patient 1 accessed Trodelvy through the patient support program because her private insurance did not cover it at the time, she initiated treatment. She also recognized the role CADTH recommendations play in private insurance decisions to fund new therapies.
“I managed to get in through the compassionate program when it opened up. They try to go through your insurance at first. But my insurance wouldn’t cover it because at that time it wasn’t approved by CADTH. And I don’t know if it is approved by CADTH still. And so, they were able to approve me through the compassionate program.”
Overall, the Patient 1 found Trodelvy has positively impacted her quality of life.
“I’m almost back to normal. So I would say probably an eight out of ten. So it’s pretty good quality of life.”
The final comments of Patient 1 reflect on the barriers she had when initially accessing Trodelvy, how accessible Trodelvy may be for other patients, and hope that more patients can receive the same benefits from Trodelvy that she enjoys.
“I just hope that other people are able to access it like I can. Like it was even difficult for me to access it at first. My dad had to do some calling around to get access to it. And I hope that other people are able to get access to it because it’s provided me with a better quality of life and extended my life. And I hope that it can do the same for others.”
Patient 2 had similar sentiments to Patient 1 when discussing the social impacts of Trodelvy, and also rated her quality of life as 8 out of 10. She spoke about the positive impact this treatment has had on her life, and the lives of her family members.
“I’ve been able to do a lot more while on Trodelvy than I have with other therapies.”
“It has had a hugely positive impact on our family. It’s been a huge relief to everyone in my family to have a treatment that actually works and to be able to have me functional and to be able to be happy while on treatment instead of in [bed] and in pain.”
Patient 2 has also been able to participate more actively in her family when taking Trodelvy as compared to past treatments.
“My husband and my mother live with us to help with my son. But I definitely have more ability and more energy to do things than I did with other therapies.”
Overall, Patient 2 expressed that she was really happy to access a treatment that is effective in treating her cancer while allowing her a good quality of life.
“It’s saving my life. It’s saving my life. It’s giving me more time with my son, who’s only three. It’s the only thing that made any difference in my cancer.”
Not applicable.
Not applicable.
To maintain the objectivity and credibility of the CADTH CDR and pCODR programs, all participants in the drug review processes must disclose any real, potential, or perceived conflicts of interest. This Patient Group Conflict of Interest Declaration is required for participation. Declarations made do not negate or preclude the use of the patient group input. CADTH may contact your group with further questions, as needed.
Did you receive help from outside your patient group to complete this submission? If yes, please detail the help and who provided it.
CBCN did connect with the manufacturer, Gilead, to identify clinicians that could connect us with patients with experience on the treatment and learn about the results of TROPiCS-02 clinical trial.
All other research, interviews and outreach to patients was conducted independently by the Canadian Breast Cancer Network, as was the compilation of information and data for the writing of this submission.
As a member of the Canadian Cancer Action Network, the Canadian Breast Cancer Network is committed to adhering to the Code of Conduct Governing Corporate Funding.
Did you receive help from outside your patient group to collect or analyze data used in this submission?
No. The Canadian Breast Cancer Network compiled and wrote this submission independently.
List any companies or organizations that have provided your group with financial payment over the past two years AND who may have direct or indirect interest in the drug under review.
Table 1: Financial Disclosures for Canadian Breast Cancer Network
Company | $0 to 5,000 | $5,001 to 10,000 | $10,001 to 50,000 | In Excess of $50,000 |
|---|---|---|---|---|
Gilead | — | — | — | X |
Eli Lilly | — | — | — | X |
Novartis | — | — | — | X |
Roche | — | — | — | X |
Pfizer | — | — | — | X |
AstraZeneca | — | — | — | X |
Janssen | — | — | X | — |
Merck | — | — | — | X |
Rethink Breast Cancer (Rethink) is a Canadian charity known for making positive change. Rethink educates, empowers, and advocates for system changes to improve the experience and outcomes of those with breast cancer, focusing on historically underserved groups: people diagnosed at a younger age, those with metastatic breast cancer and people systemically marginalized due to race, income, or other factors. Rethink’s strategic priorities and organizational direction are guided by the unique, unmet needs identified by breast cancer patients and their families. We foster spaces to connect, listen, empower, and rethink breast cancer, together.
Programs and Activities
Rethink Breast Cancer builds community, bringing patients with various stages of breast cancer together through our private and public social spaces and in-person events.
Rethink runs patient retreats and provides professional psychosocial support.
Rethink creates and runs education forums and conferences.
Rethink creates support and education tools, resources, and content.
Rethink funds and brings the patient voice to breast cancer research.
Rethink advocates for system changes to cancer care to improve outcomes.
You can find out more at: Rethink Breast Cancer Instagram and Rethink Breast Cancer Website
For over 20 years, Rethink has been working closely with breast cancer patients in Canada. We learn from and listen to the community to understand their values, priorities, and pain points to help drive change and system improvements. Each year, we learn from the patients we serve, survey, and collaborate with. We learn from the 40 individuals that we work extremely closely with as key patient advisors; the 100 patients that share their stories annually on our blog; the 500 patients that participate in our virtual support groups; the 1,600 members of our private peer-support network; the 38,000 people that have joined our Instagram community; and the 150,000 individuals reached each month through the reach of that channel. We listen, learn, engage, and have conversations in all these spaces.
Rethink Breast Cancer has several important patient advisory boards and working groups that offer experience-focused insights on issues related to those affected by and concerned about breast cancer, including:
Metastatic Breast Cancer Advisory Board
Early Breast Cancer Advisory Board
Equity, Diversity, and Inclusion Working Group
Rethink also benefits from regular knowledge exchange with our Scientific Advisory Committee, which includes some of the leading clinician scientists in Canada who treat breast cancer.
For this submission, we have drawn on our general observations and insights gathered this year through programming and meetings with breast cancer patients as described above. This included a consultation with our Metastatic Breast Cancer Advisory Board in July 2023 specifically focused on gathering insights for this submission.
We have also drawn on the results from an online survey with 78 patients living with metastatic breast cancer (MBC) conducted by Rethink Breast Cancer to document the lived experience of patients and caregivers. Patients completed the survey between September 2018 and April 2019. We also reviewed our survey that we conducted in July 2021 to gather information for input we provided to CADTH that year for Trodelvy for metastatic triple negative breast cancer (mTNBC), which included 20 respondents with experience with Trodelvy.
In addition, we drew on insights from interviews in July 2023 with three MBC patients currently on Trodelvy. Patient 1 and Patient 2 are Canadian patients with mTNBC, and Patient 3 is a US patient with hormone receptor positive (HR+), human epidermal growth factor receptor 2 negative (HER2-) MBC.
This input includes direct quotes and comments from 21 different MBC patients.
Please read short testimonials from Patient 1, Patient 3, Patient 4, Patient 5, and Patient 6 in Appendix B.
Most people in the Rethink community are diagnosed at a younger age. When young people get breast cancer it may be more aggressive, which can lead to tougher treatments. In addition, those diagnosed in their 20s, 30s and early 40s face age-specific issues such as fertility or family-planning challenges, diagnosis during pregnancy, childcare, impact on relationships, body image, dating and sexuality, feeling isolated from peers who don’t have cancer, career hiatuses, and financial insecurity. The physical and emotional toll that a breast cancer diagnosis and treatment take on a young person’s life is devastating and traumatic.
Fear of recurrence is a reality for our community and for good reason. Despite improvements made with early detection and treatment for early-stage breast cancer, there’s approximately a 20-30% chance that early breast cancer will metastasize. Moreover, 5-10% of newly diagnosed breast cancers are metastatic. There is currently no cure for metastatic breast cancer and patients’ goal with treatment is to live as well as they can for as long as they can. Patients with metastatic HR+/HER2- cancers survive 4 to 5 years on average.
Processing this reality of a life-limiting diagnosis is extremely difficult, especially for the young patients in our community and the emotional impacts on quality of life cannot be understated. The physical and psychosocial challenges of metastatic breast cancer negatively impact both the patients and their loved ones who are often their caregivers. Most people with metastatic breast cancer have widespread disease, with metastasis to bone being the most common. Lung, liver, lymph nodes and skin are also commonly involved; while mets to the brain is less common for hormone positive MBC patients, it can happen too. Symptoms of hormone positive MBC depend on the sites of the metastasis and include fatigue, shortness of breath for lung metastasis, pain, and bone fractures for bone mets as well as nausea, headache and of course challenges doing normal daily activity. The challenges and uncertainty of living with MBC affects both the patients and their loved ones who support and help care for them.
Our MBC Advisory Board strongly believes in the benefit of metastatic patients accessing palliative/supportive care services early to help address these symptoms.
For people with HR+/HER2- MBC whose disease progresses after 2nd line, the current treatment options are mostly limited to standard IV chemotherapy. These chemotherapies are given sequentially usually with diminishing responses with each line of chemotherapy. Although initial lines of chemotherapy may provide a few months of progression free survival, this decreases substantially with later lines.
Metastatic breast cancer patients in our community go to great lengths to avoid standard chemotherapy and they are hit hard both emotionally and physically when it does come to that. In our community, we see a rapid decline once patients progress to having only standard chemotherapies as remaining options.
“While your tumour is responding to endocrine therapy, you tend to be able to remain longer on the treatment and stable. Then when it starts to progress, and you need to go into chemo because you don’t have anything else, it’s just faster, you know, and things go down so quickly.” — MBC patient
Patients on standard chemo have a lot of difficulty managing their illnesses. Hospital appointments increase and they become mostly housebound managing side-effects of treatment.
“On weekly IV chemo, your normal life pretty much ends. It requires two visits per week for either blood work or for the chemo. The rest of the week is managing side effects of nausea, fatigue, pain, worsening neuropathy. And that’s with me being in the cohort of people who ‘tolerates well.’” — MBC patient
“My year on chemotherapy was a full-time job dealing with suppressed neutrophil counts that caused countless treatment delays and quality of life compromising side effects. When I was offered the chance to rely entirely on a newer therapy, the results were game changing and allowed me to get back to my active and scheduled lifestyle as it once had been. Knowing that a cutting- edge treatment option like Trodelvy may be available to me when/if I need it outside of standard of care shelf-life chemotherapies, in the precious time to come, is what helps me stay present and positive as I navigate life with this incurable diagnosis. Everyone deserves a shot at what works best for them and the more therapies available to us are key. Stage 4 needs so much more.” — MBC patient, diagnosed de novo
“My biggest concern with fear of progression, is that my subtype changes from triple positive to any other subtype. So of course, the more treatments that are available that are effective and not chemo are important to me. I already did loads of chemo because my targeted therapy had to go on pause because of the damage to my heart. It was not fun knowing that I could be left on chemo if the cardiotoxicity didn't improve.” — MBC patient, diagnosed de novo while pregnant
Each individual patient brings their own personal values and goals to their discussions with their oncology team. Communication and trust in their team is essential. It’s important that patients have a clear understanding of trade-offs and are well prepared for common side-effects of a given treatment.
When it comes to later lines of therapy, in general, the primary improvement MBC patients seek is to extend their life beyond what is expected with the current publicly funded palliative chemotherapy available and with a better quality of life. They also know a later-line therapy is likely not as easy to tolerate at their first-line MBC treatment was but are anticipating better quality of life than on a weekly IV standard chemotherapy.
As Patient 4, a hormone positive, MBC patient from our community explains, when the stakes are so high, even a few extra months of survival matter. She explains:
“…those months could be the difference that lets me see my son start kindergarten; they could be the ones that give me time to get him off diapers before it all falls on dad; Or they could be the first time he says I Love You. While a few months are short on time they are bursting with possibility. Life happens in moments after all. Every scan matters.
Only, it's not simply a matter of days, it's also a matter of quality days. It's hard to make memories suffering the side effects of chemo on the couch. It's impossible to keep up with a toddler while managing the debilitating fatigue. An additional line of treatment that allows me quality time with my family is welcomed with open grateful arms…It's not easy for anyone to estimate the value of an extra day of life, but in my case, it could also mean my two-year old has one more day with mom. I'll give him every day I can.”
Patients are also looking for improvement in quality of life and ability to manage daily life over standard IV chemotherapy. Patient 5 from our MBC Advisory Board is one of those heavily pre- treated MBC patients who has exhausted most of her treatment lines. She explains:
“Endocrine therapy failed as did cdk4/6 inhibitors. Now on my physician's choice of chemotherapy, the options for my next line are limited. In order to stay on my current line of oral chemotherapy, we have been managing my progression with surgery. The surgery option is like a band-aid solution to a disease that is systemic, and the recovery is hard on me physically and even more so, emotionally, including my family.
I would definitely welcome the news that Trodelvy could potentially stave off an escalated next round of treatment with IV chemotherapy as this would significantly decrease my quality of life including my ability to navigate the side effects of IV chemo and my young family.
As someone living with mBC and who fits the medical profile for Trodelvy, it's important for both me and my medical oncologist to access newer treatments that provide a quality of life and PFS over what would most likely be an IV chemotherapy for my next treatment line.”
Patient 7 is another HR+/HER2- patient on our MBC Advisory Board. She’s had to change treatment several times due to progression and just when she was finding an excellent response from a new targeted treatment, she had a setback with a side-effect from the therapy and had to come off it. In our consultation with our MBC Advisory Board, Patient 7 shared:
“One thing to consider which happened to me as an MBC patient is having to stop a treatment because of a side effect. Enhertu was working for me, and I wish I could have kept going with it but because I developed pneumonitis, I had to stop and move on to another chemo treatment. So, heartbreaking! I have gone through several treatment lines, and I hope that Trodelvy can be in my toolbox.”
In our 2018-2019 MBC survey, patients rated controlling disease and extending life expectancy as the most important outcomes for treatment. This suggests that patients value long-term health outcomes over immediate concerns like reducing symptoms or managing side effects. (Please refer to the full survey results, along with methodology in Appendix C.)
Comments from MBC patients surveyed included:
Symptoms and shrinking the cancer is the most important thing. Living well is the next most important thing.
Keep me alive for my kids.
I want to live, LIVE, and enjoy my life for many more years and not be so afraid.
It was extremely challenging to find patients to interview who are on Trodelvy for hormone positive metastatic breast cancer. Finding patients on later line therapies is often a challenge, given their heavy disease burden. We did manage to connect with one person in the United States who was very happy to share her experience. Patient 3 was diagnosed with ER+/HER2- MBC in January 2022 and she is currently on Trodelvy as her third line of treatment for MBC.
“I wanted to take Trodelvy as a second line of treatment when it was in clinical trial for ER positive patients, but my insurance at the time would not allow it. Then, after capecitabine (Xeloda) failed after one year, I was able to access Trodelvy with my new oncologist at the University of Chicago. It was FDA-approved for use in ER positive patients in the U.S. in February 2023; regardless, had I not had regular access to it, I would have joined a clinical trial pairing Trodelvy with Keytruda so I would have had access to Trodelvy.
I wanted to take Trodelvy infusions because it is a new class of more effective treatment than regular chemotherapy. It means a lot for me to have access to this treatment, because I believed it would give me a better shot at effectively treating my cancer than regular chemotherapy would.
My oncology nurse said she gives presentations on Trodelvy and that when it was in trial (to gain initial use in 2020-2021, which would have been for TNBC patients), the U.S. stopped the trial early because it would have been unethical for all patients in the trial to not receive Trodelvy because it was shown to be so effective.
We have been in touch with Patient 3 this July, including on July 27 after a busy week of several appointments. She shared:
“The radiologist was unable to do my biopsy because the lesion on my liver shrunk so much with three treatments of Trodelvy that it was too small to do and because it is too close to my lung (it would have damaged the lung/the radiologist could not safely get to it). So, that is happy news!
I have my first CT and bone scans on Trodelvy in August to assess its success, but I know from an ultrasound used to perform a biopsy that after three infusions of this targeted treatment, my liver lesion has shrunk significantly.”
Patient 3 will know later in August how the treatment has worked throughout her body, as she has bone mets as well. As she waits for that scan, she shared that she has been able to manage side effects and has been really pleased with the improvements in her physical functioning that she’s gained through Trodelvy. Patient 3 said:
“Trodelvy so far has been much easier for me to tolerate than capecitabine was. With Trodelvy, I have lost the hair on my head, aside from some scraggly ones. I have fatigue on the day of my treatment and the day after. I had a slight rash a few days after my first two treatments, which was controlled with Benadryl cream. I also had a sore throat after the first treatment, along with a mouth sore, but those went away before it was time for my next treatment. I have tons more energy than I did on capecitabine, and for me, Trodelvy has been way more tolerable. I only feel fatigue the day of treatment and the day after it. I've returned to working out (I am a former runner, so staying active is very important to me), and I have the energy back to go on long walks with my dog.”
In addition to hearing this positive feedback from Patient 3, we recently connected with Patient 1 and Patient 2 who are both mTNBC patients currently on Trodelvy who also feel strongly about its benefits.
Patient 1 was diagnosed in February 2020 with stage 3 TNBC. She was 29 years old. Despite preoperative chemotherapy, lumpectomy, and capecitabine after surgery for residual disease, her disease metastasized in 2021. After a lot of stress and advocacy, Patient 1 was able to start on Trodelvy in February 2022, a treatment that has given her the stability she so desperately needed and is enabling some beautiful milestones. Much of what Patient 1 shared with us really highlights how important the improvements in her physical functioning have been since starting Trodelvy. She shared:
“I’ve had a great experience with Trodelvy. Almost immediately my metastasis in my bones and lungs began to shrink. Just prior to Trodelvy I was diagnosed with a 7cm, very active femur metastasis. I required surgery to stabilize it and prevent it from breaking. I honestly didn’t think I’d be able to walk the distances I use to, if at all. Within 6 months of starting Trodelvy I was NEAD in my bones. I’ve now been NEAD for almost a year and do daily walks of at least an hour.
The side effects were tough at the start while on the 100% dose however, my oncologist immediately adjusted my dose to make sure I was comfortable. I’m now on an 80% dose and all side effects (diarrhea and nausea) are managed by prophylactically taking my prescriptions.
My life has been completely altered with Trodelvy. Before Trodelvy I hadn’t had much success with treatments, having progression after progression. Because of this I found it hard to make plans that were any more than a month away. My fiancé and I got engaged before Trodelvy and I felt the urge to get married immediately since I didn’t think I had much time left. Thankfully my fiancé had more faith than I did and after being on Trodelvy for 6 months with great results we decided to set our date to a year from then, August 26, 2023. Sure enough, Trodelvy has kept me mostly stable this whole year so I will get to see my wedding day. Without Trodelvy my oncologist has even said, she doesn’t think I’d be alive today.”
Patient 5 will be getting married in a matter of weeks. Every day, we see people in the MBC community hoping and praying to make their milestones—a trip, a wedding, a graduation, a child’s first day of school. We did probe for a little more information about Patient 1’s experience with side-effects. She shared that she would recommend Trodelvy to other patients, especially if other options haven’t worked for them. That said, she would also “fore warn them that if their side effects are bad, having a dose reduction should not affect the success of the drug, as it didn’t with me. I would warn them that there are a lot of digestion related side effects such as stomach cramping and diarrhea, and that hair loss is almost inevitable. The digestion related side effects are manageable though. So long as the patient stays on top of their prescriptions and are on a dose appropriate to their needs…. Trodelvy is better since the side effects are not constant like Capecitabine were. Trodelvy gives me a break here and there.”
These are the types of decisions around trade-offs between potential benefits and managing side- effects of treatment our MBC community considers and speaks to why having treatment options is so important.
We also connected with Patient 2, who is currently on Trodelvy as her 4th line of treatment. Patient 2 is 50 years old, married with two teenage boys. She was initially diagnosed November 2021 with stage IV metastatic triple negative breast cancer that had spread to her lymph nodes and lungs. Being TNBC, with no funded targeted treatments at the time, she started on Paclitaxel as her first line followed by Capecitabine as her second line. She was progressing through these chemotherapies rapidly and so she ended up paying out of pocket for Enhertu (with the evolution of the breast cancer space she was re-designated as HER2 low). She said the side effects with Enhertu were minimal and it was working in some areas but not all—a node in her armpit grew so she and her oncologist made the decision to move onto Trodelvy.
Trodelvy is Patient 2’s 4th line of treatment. She shared that so far, she has appreciated the benefits of this treatment, saying:
“Trodelvy has been very good for me, I started in April 2023. The side effects of the drug have been minimal with tiredness, some stomach pain after eating and weight loss. I had already lost my hair by the time I started Trodelvy so not sure if it would have caused hair loss as a side effect. I tend to take an afternoon nap and wake up later than usual in the morning.
I believe that Trodelvy has greatly improved the quality of my life, allowing me to go on walks and spend time with my friends and family. While on Trodelvy, I have been able to travel with my good childhood friend and husband to the Poconos in NY for 4 days. We went on some hikes to visit waterfalls and visited an old Victorian coal mining town. The hikes were tiring but the views of the waterfalls were very enjoyable. I believe TrodeIvy made this trip possible.”
Other comments Patient 2’s shared underscore the importance of options for MBC patients other than standard chemotherapy too. Patient 2 feels that “Capecitabine allowed my cancer to progress rapidly. There really are not many good options without Trodelvy for my situation. If I could go back in time, I would do Enhertu as line 1 and Trodelvy as line 2 treatments, these drugs were clearly better than the other chemo options.”
We also wanted to note that Metastatic Triple Negative Breast Cancer patients that we spoke to in 2021 with experience on Trodelvy were positive about their experience with the drug:
“It was great! Very tolerable and I felt “normal.”
“I have made steady improvement. Less fatigue, more energy, regained appetite.”
“I would absolutely recommend this drug to other patients with breast cancer. Everyone is different when it comes to what drugs they respond to, but I feel this drug is especially important for those who have failed multiple treatments prior to trying this. I believe I have an MTNBC subtype with high amounts of TROP-2, which is what the drug targets, and I honestly was amazed when I learned my tumours had all shrank substantially. Trodelvy has given me hope and I hope this drug helps others who have failed multiple treatments as well.”
“I feel it is a great drug, especially for those with brain mets. As tolerable or more tolerable as other chemos I have been on. Neuropathy hit quick though, and fatigue/insomnia is tough.”
“It’s working! Mets in lungs have disappeared, mets in liver and bones are shrinking.”
“It is an absolute must. This was the first medicine that got me clear – to NED – after just a couple of months, so it was really a blessing.”
“I’m in the USA getting Trodelvy, it is working for me, and I hope every Canadian who is diagnosed with mTNBC has a chance to get this treatment.”
Patient 1, Patient 2, and Patient 3 all valued the disease stability and improvements in physical functioning they have gained on Trodelvy. They all specifically identified that Trodelvy was easier to tolerate than capecitabine. Patient 1, who has been on Trodelvy for the longest of the three, values the time Trodelvy has given her to get engaged and plan her upcoming wedding this month. A common theme we heard from the twenty MBC patients we connected with for this submission is the value of having a later line option other than standard palliative chemotherapy. In our experience, MBC patients value a treatment that offers more time, more disease stability, and improvements in day-to-day functioning.
Not applicable.
We are grateful there are now targeted therapies for all breast cancer subtypes. Prior to the introduction of CDK 4/6 inhibitors into the treatment landscape, it was common for the young hormone positive breast cancer patients in our community to die within two years of their metastatic diagnosis. While things are better than 10 years ago, for the metastatic community, the uncertainty does not go away. Later line therapies that work better than palliative chemotherapy is vital.
When it comes to “anything else,” we give our last patient quote to Patient 6, a wise, thoughtful veteran member of our MBC Advisory Board. She raises another “why” on behalf of the community:
“Consider the MBC patient facing yet another setback. Someone who’s cancer has progressed on their current treatment and must now once again grapple with the uncertainty and fear with what lies ahead. This patient will have a harder time being accepted into a clinical trial with each subsequent line due to restrictive inclusion criteria that often excludes patients who’ve been heavily treated from participating. An ever-diminishing list of treatments is reduced yet again, with chemotherapy being one of the few options still available.
Many of us remember the experience of chemotherapy with an earlier stage diagnosis; the memories linger. While the cancer that resides in my body is stable at this time, I am told with fair certainty that one day, this treatment will fail, and the cancer will grow again. It will bring me back to square one, requiring my oncologist to choose whatever treatment would give me the best chance of staving off debilitating illness again. An additional line of treatment offers hope and compassion to those carrying the burden of experience.”
Trodelvy achieved improvement in overall survival in a heavily pre-treated group of patients. And so many symptoms of treatment were improved compared to chemotherapy; it was especially encouraging to see in the recent trial results that Trodelvy showed improvement in physical functioning. The MBC community wants to “live” with their disease in a way that lets them truly live, create experiences and memories with family. This is just so important.
Rethink is grateful to the 20 metastatic patients who are quoted directly in this input submission for sharing their insights and experiences with us. And we are grateful for the opportunity to bring forward these important voices from the metastatic breast cancer community to the CADTH decision making process.
To maintain the objectivity and credibility of the CADTH reimbursement review process, all participants in the drug review processes must disclose any real, potential, or perceived conflicts of interest. This Patient Group Conflict of Interest Declaration is required for participation. Declarations made do not negate or preclude the use of the patient group input. CADTH may contact your group with further questions, as needed.
Did you receive help from outside your patient group to complete this submission? If yes, please detail the help and who provided it.
We asked Gilead to provide us with information about the general characteristics of the drug and its benefits and side-effects.
Did you receive help from outside your patient group to collect or analyze data used in this submission?
No.
List any companies or organizations that have provided your group with financial payment over the past 2 years AND who may have direct or indirect interest in the drug under review.
Table 2: Financial Disclosures for Rethink Breast Cancer
Company | $0 to 5,000 | $5,001 to 10,000 | $10,001 to 50,000 | In Excess of $50,000 |
|---|---|---|---|---|
Gilead 2022 funding | — | — | — | X |
Gilead 2023 funding | — | — | X | — |
Patient 4’s Why:
“Trodelvy might not seem to extend survival rates by any significant amount of time, but those months could be the difference that lets me see my son start kindergarten; they could be the ones that give me time to get him off diapers before it all falls on dad; Or they could be the first time he says I Love You.
While a few months are short on time they are bursting with possibility. Life happens in moments after all. Every scan matters.
Only, it's not simply a matter of days, it's also a matter of quality days. It's hard to make memories suffering the side effects of chemo on the couch. It's impossible to keep up with a toddler while managing the debilitating fatigue. An additional line of treatment that allows me quality time with my family is welcomed with open grateful arms.
When decision makers are looking at these numbers, they are often blind to the realities of the younger cancer community. My life hasn't yet slowed down, I haven't moved into the stage where changes are mostly expected and long coming. It's not easy for anyone to estimate the value of an extra day of life, but in my case, it could also mean my two-year-old has one more day with mom. I'll give him every day I can.” — Patient 4, living with HR+ HER2- MBC
Patient 5’s Why:
“Trodelvy being considered for HR+ HER2- MBC is super important to me because I am one of those heavily pre-treated MBC patients who has exhausted the majority of my treatment lines for standard of care. Endocrine therapy failed as did CDK 4/6 inhibitors. Now on my physician's choice of chemotherapy, the options for my next line are limited. In order to stay on my current line of oral chemotherapy, we have been managing my progression with surgery. The surgery option is like a band-aid solution to a disease that is systemic, and the recovery is hard on me physically and even more so, emotionally, including my family.
I would definitely welcome the news that Trodelvy could potentially stave off an escalated next round of treatment to IV chemotherapy as this would significantly decrease my quality of life including my ability to navigate the side effects of IV chemo and my young family. As someone living with MBC and who fits the medical profile for Trodelvy, it's important for both me and my medical oncologist to access newer treatments that provide a quality of life and PFS over what would most likely be an IV chemotherapy for my next treatment line.” — Patient 5, living with HR+HER2-MBC
Patient 6’s Why:
“Consider the MBC patient facing yet another setback. Someone who’s cancer has progressed on their current treatment and must now once again grapple with the uncertainty and fear with what lies ahead. This patient will have a harder time being accepted into a clinical trial with each subsequent line due to restrictive inclusion criteria that often excludes patients who’ve been heavily treated from participating. An ever- diminishing list of treatments is reduced yet again, with chemotherapy being one of the few options still available.
Many of us remember the experience of chemotherapy with an earlier stage diagnosis; the memories linger. While the cancer that resides in my body is stable at this time, I am told with fair certainty that one day, this treatment will fail and the cancer will grow again. It will bring me back to square one, requiring my oncologist to choose whatever treatment would give me the best chance of staving off debilitating illness again. An additional line of treatment offers hope and compassion to those carrying the burden of experience.” — Patient 6, living with HR+HER2-MBC
Patient 3’s Why:
“Trodelvy is my third line of treatment for MBC. I am ER positive. I wanted to take Trodelvy as a second line of treatment when it was in clinical trial for ER positive patients, but my insurance at the time would not allow it. Then, after capecitabine (Xeloda) failed after one year, I was able to access Trodelvy with my new oncologist at the University of Chicago. It was FDA-approved for use in ER positive patients in the U.S. in February 2023; regardless, had I not had regular access to it, I would have joined a clinical trial pairing Trodelvy with Keytruda so I would have had access to Trodelvy. I wanted to take Trodelvy infusions because it is a new class of more effective treatment than regular chemotherapy. It means a lot for me to have access to this treatment, because I believed it would give me a better shot at effectively treating my cancer than regular chemotherapy would. My oncology nurse said she gives presentations on Trodelvy and that when it was in trial (to gain initial use in 2020-2021, which would have been for TNBC patients), the U.S. stopped the trial early because it would have been unethical for all patients in the trial to not receive Trodelvy because it was shown to be so effective.
The radiologist was unable to do my biopsy [this week] because the lesion on my liver shrunk so much with three treatments of Trodelvy that it was too small to do and because it is too close to my lung (it would have damaged the lung/the radiologist could not safely get to it). So, that is happy news! I have my first CT and bone scans on Trodelvy in August to assess its success, but I know from an ultrasound used to perform a biopsy that after three infusions of this targeted treatment, my liver lesion has shrunk significantly.
Trodelvy so far has been much easier for me to tolerate than capecitabine was. With Trodelvy, I have lost the hair on my head, aside from some scraggly ones. I have fatigue on the day of my treatment and the day after. I had a slight rash a few days after my first two treatments, which was controlled with Benadryl cream. I also had a sore throat after the first treatment, along with a mouth sore, but those went away before it was time for my next treatment. I have tons more energy than I did on capecitabine, and for me, Trodelvy has been way more tolerable. I only feel fatigue the day of treatment and the day after it. I've returned to working out (I am a former runner, so staying active is very important to me), and I have the energy back to go on long walks with my dog.”
I am interested in new and better ways of treatment for MBC, and I believe Trodelvy is this. I would like decision-makers to know that access to Trodelvy is something every person affected by MBC needs to have, and if they and their doctors decide it is a good option for them, they should be allowed to take it.” — Patient 3, living ER+ HER2- MBC currently on Trodelvy
Patient 1’s Why:
“I’ve had a great experience with Trodelvy. Almost immediately my metastasis in my bones and lungs began to shrink. Just prior to Trodelvy I was diagnosed with a 7cm, very active femur metastasis. I required surgery to stabilize it and prevent it from breaking. I honestly didn’t think I’d be able to walk the distances I use to, if at all. Within 6 months of starting Trodelvy I was NEAD in my bones. I’ve now been NEAD for almost a year and do daily walks of at least an hour.
The side effects were tough at the start while on the 100% dose however, my oncologist immediately adjusted my dose to make sure I was comfortable. I’m now on an 80% dose and all side effects (diarrhea and nausea) are managed by prophylactically taking my prescriptions.
My life has been completely altered with Trodelvy. Before Trodelvy I hadn’t had much success with treatments, having progression after progression. Because of this I found it hard to make plans that were any more than a month away. My fiancé and I got engaged before Trodelvy and I felt the urge to get married immediately since I didn’t think I had much time left. Thankfully my fiancé had more faith than I did and after being on Trodelvy for 6 months with great results we decided to set our date to a year from then, August 26, 2023. Sure enough Trodelvy has kept me mostly stable this whole year so I will get to see my wedding day. Without Trodelvy my oncologist has even said, she doesn’t think I’d be alive today.” — Patient 1, living with triple negative MBC, currently on Trodelvy
Information for this report was gathered through an online survey published in English and circulated through communications from Rethink Breast Cancer as well as the Rethink Network and other partner organizations. Messages were also posted on Facebook and Twitter as well as the Breastcancer.org, Cancer Connection and Cancer Survivors Network online discussion forums. 78 metastatic breast patients completed the survey between September 2018 and April 2019.
An independent contractor was hired to develop this survey and present the results. Survey questions were all reviewed by Rethink staff and Metastatic Patient Advisory Board prior to being posted online.
Rethink Breast Cancer asked respondents to evaluate the importance of different outcomes for their breast cancer treatment on a scale of 1 (not important) to 5 (very important). All the listed outcomes were considered important with no average scores lower than 4.4. However, controlling disease and extending life expectancy were rated as the most important results suggesting that patient values prioritize long-term health outcomes over immediate concerns like reducing symptoms or managing side effects.
Table 3: Importance of Treatment Outcomes
Importance of outcome | 1 – not important | 2 | 3 | 4 | 5 – very important | Average |
|---|---|---|---|---|---|---|
Controlling disease progression | 0.00% 0 | 0.00% 0 | 0.00% 0 | 2.60% 2 | 97.40% 75 | 4.97 77 |
Reducing symptoms | 1.30% 1 | 0.00% 0 | 12.99% 10 | 19.48% 15 | 66.23% 51 | 4.49 77 |
Maintaining quality of life | 0.00% 0 | 0.00% 0 | 1.30% 1 | 12.99% 10 | 85.71% 66 | 4.84 77 |
Managing side effects | 1.30% 1 | 1.30% 1 | 12.99% 10 | 19.48% 15 | 64.94% 50 | 4.45 77 |
Achieving NED (no evidence of disease) | 1.32% 1 | 1.32% 1 | 1.32% 1 | 6.58% 5 | 89.47% 68 | 4.82 76 |
Extending life expectancy | 0.00% 0 | 0.00% 0 | 0.00% 0 | 2.63% 2 | 97.37% 74 | 4.97 76 |
Comments included:
Symptoms and shrinking the cancer is the most important thing. Living well is the next most important thing.
Keep me alive for my kids.
I want to live, LIVE and enjoy my life for many more years and not be so afraid.
|||||| |||||| |||||||| ||||| |||||||||| || || |||| ||||| ||||||| |||||| |||||| ||||||||| || |||||| ||| |||| |||||||| |||||||||||| || |||||| ||||| ||||||| || ||||||||| |||||||| |||||| |||||| |||||||| ||||||| || ||||||| || |||||||| || ||| ||||||||||| |||||||| || ||||||||||| |||||||| |||||| |||| ||||| |||||| |||||| |||||| |||||||||| ||||||||| |||||||| |||||||| ||| ||||||||| ||||||||||||| ||||| |||||||||| ||| |||||||||||| ||| ||||||| ||||||| |||| ||||||||| || |||||||| | ||||| || |||||||||| ||||||| |||||| |||||| |||||||| || |||||||| ||||||| |||||||||||| || ||||||| |||||||| |||||||| |||| ||| ||| |||||||| || ||| |||||| |||| |||||||||||||| ||||||||| ||||||||| |||||||||| || |||||||| |||||||| ||||||||||| |||| |||||||| |||||||| ||||||||||| ||||||| |||||||||| || |||||||||| ||||||| |||||||| |||||||| |||||| ||| |||||| |||||| || ||||||| ||| |||||||||| || ||||||| ||||||||| ||| ||||||| || |||||||| ||| ||||||| || |||| || ||||||| |||||| ||| ||||||| || ||||| |||||||| |||||||| ||||||||||||| | |||||| |||||| |||||| ||||||||||||||||||||||||||||| ||||||||||||| ||||| |||||| ||| |||||||| |||||||| || |||||| |||||| |||||||||| |||||| || || ||||| |||||||| ||| |||| ||||||| || |||||| |||||| |||||||| |||||||| || |||| |||||||| |||||||||| || || |||| |||||||| || ||||||||| ||| |||||||||||| || | ||||||| ||| |||||| |||||||||| |||||||| |||||||| |||||| |||||| ||||||||||||| || ||||||| ||| ||||||||||||| ||||| || | |||||||||| |||||||||||| ||||||||| || Patient 1 | |||||||| ||| Patient 1’s husband | | |||||||| |||||||||||| ||| ||||||||| || ||| ||||| || ||||||| ||||||| ||||||||| |||| ||| ||||||| || ||| ||||||||||||| ||||| |||||| ||||||| |||||| |||||||| || |||||| |||||| ||| |||||| ||| |||| |||||||||| ||||||||| ||| |||| |||||||| ||||||||| ||||| || ||| |||||| ||||||||| ||| |||||| |||||| ||| ||||||| ||||||||| ||||||| ||||||||| |||| ||||||| ||| ||||||| ||||| || ||| ||||| ||| ||||||| || ||| |||| |||||||| || ||| |||||| |||||| |||||||| ||||||| || || || ||| ||||||||| || |||||| ||||||||||||| |||||||| |||||||| ||||||||| || ||| ||||||| || |||| |||||||||| ||||| || ||| |||| |||||| |||||||||| |||||| ||| ||||||| |||||||||| || |||| | ||| |||||| ||| ||||||||||||| ||||| ||| |||||| ||| || ||| |||| ||||||||| |||||| |||||| |||||||| |||||||| ||||||||| || |||||||||||||| | |||||| | ||||||||| |||||||| || |||||| || |||| |||||||||||||||||||
||||||||||| ||||||| |||||| || ||||||||| |||||||||| |||||| |||||| |||||||| | ||||||||||||| |||||||||| |||||| ||| ||||||||| |||| |||| ||| | ||||| ||||| ||||||||||| ||| ||||| ||||||| ||| |||||| |||||| |||||| ||||| |||||||| ||| |||||||||||||| |||||| ||||||||||| || |||||||| ||| |||||||||| |||||| |||| ||||||||| |||||||||| |||||| |||||| |||||| ||| |||||| ||||||||| |||||||| ||| |||||||| ||||||||||| |||| ||||||||| || ||| ||||||||| |||||||||| |||||||| ||| ||||| ||||||||| |||||| || |||||| |||| |||||||||| |||||| ||||||| ||||| ||||| ||| | ||||||| |||| |||||| |||| |||||||||||| || ||| ||||||| |||||||||| |||||||| ||||| ||||| |||| ||||| ||||||| ||| |||||| |||||||| |||||||||| |||||| |||||||| |||||| |||||| ||||||| |||||||| |||| | ||||||| ||||| || ||| ||||||||||| |||||| ||||||| ||||||| |||| |||| |||||||| |||||||| |||||||||||| ||||||||||||||| || ||||| ||| |||||||||||| ||||| ||||||| ||||||||||| |||||||| || |||| |||| || ||| ||||||| |||||||| |||||||||| || ||||||||| |||||||| ||| |||| |||||||| ||||||| ||| |||||| |||||||||| |||||| |||| |||||||| |||| ||||| ||||||||| |||||||||| ||||| |||||||| || |||| ||| |||||||||| ||||| ||||||| ||||||||| ||||||||| ||| |||||| ||| ||||| |||||||||| ||||| |||||| |||||| ||||||||| ||||||||| | ||||||||||| || ||||||| ||||||| ||| ||||||||| ||||||||| ||||||||||||||||||| || |||||| |||||||| ||||||||||||| ||||| |||||| |||||||||||| |||| ||||||||| ||| |||||||||||
Table 4: Number of Respondents in Different Locations
Respondents | Western Canada | Eastern Canada | Quebec | International | Not reported | TOTAL | % |
|---|---|---|---|---|---|---|---|
Province | MB, SK, AB & BC | NF, NS and ON | n/a | Nigeria, West Africa | n/a | n/a | — |
Patient # | 51 | 29 | 9 | 0 | 2 | 91 | 53.2% |
Caregiver # | 29 | 20 | 1 | 1 | 1 | 52 | 30.4% |
Not specified | 10 | 15 | 1 | 0 | 2 | 28 | 16.4% |
Total | 90 | 64 | 11 | 1 | 5 | 171 | 100.0% |
% | 52.6% | 37.4% | 6.4% | 0.6% | 2.9% | 100.0% | — |
||||| || |||||| |||||||| ||||||||||||| ||||| |||||| |||||||||||| |||||||||||| ||||||||| ||| || ||||||||| |||||||| ||||||| ||||||||| || ||||| ||| || ||| ||||||||||| |||| ||||||||| ||| ||| |||| |||| |||||||||||||||| || |||||| |||||||| ||||||||||||| ||||| |||||| |||||||||||| |||||||||||| ||||||||| ||| || ||||||| |||| || |||||||| |||||||| |||| || ||| ||||||||||| ||| ||||||||| |||||| |||| ||||| |||| ||| ||||||||| ||||| |||| |||| ||| |||| ||| |||||| |||| || ||||||| |||||||||
||||||| | ||||||||| |||||||||| ||| ||||||| ||||||||| ||||||| || |||| ||| |||||| |||||||||||| ||| |||||||| || ||||||||| ||||||||| ||| ||||| |||||| |||||||||| || ||||||||| ||||||| |||||| |||||||| ||||||||||| ||| ||| ||| ||||| |||||||||| ||||||||| ||||||| |||||||| |||||| ||||||||| ||||||| |||||||||| |||| |||||||||||||||| ||||||||| ||||| |||||||| ||| ||| |||||||| || ||| ||||| ||| |||||||| ||| ||||||| ||| | ||||| ||| || | ||||||| |||||||| |||||||| ||||||||| |||| || ||| |||||| ||| ||||||||| ||| ||||||||| |||||| ||| ||| |||||||||| ||||||||||| || |||||||||||||||||||| ||||||| ||||||||||| ||||||||||| |||| ||| ||||||| ||||||| ||||||| |||||| ||| ||| || |||| ||||| || |||||||| |||||||| ||||| || | ||||||||||| ||||| |||| ||| ||||||||||| || ||||||||| ||||||||||||||||| ||| |||||||| ||||||| ||| |||||||||||| || ||||||| ||||||| || |||||||||||| || ||||| ||||||||||| ||||||| ||||||||| || | |||||||| || ||||||| |||||||||||| ||||||| || ||||| |||| ||| |||||||| || |||||||| || |||| |||||||| ||||| ||||||| ||||| |||||| |||| ||||| ||| |||| |||||| ||||||| || ||||| ||||||||| |||||||| ||| |||||| || |||||||| ||||| |||||| ||||||||| ||||||||||||||| ||||||||| |||| ||||||| ||| |||||| ||||||| ||||||| ||||||| |||| ||| |||||| |||||||| ||| ||| ||||| |||| |||| |||||||| |||||||||||||||| |||||||| ||| ||||||||||| ||| ||||||| |||||||||| |||||| ||| || ||| |||| || ||||||||| |||||||||||| ||| ||||||| || |||| |||| ||||||| |||||||| |||||||| |||||||||| ||||||||| |||||| || ||||||||| |||||||| |||||| |||||| ||| ||| |||||| ||| ||| ||||||||| ||||||| |||| ||||||| ||||| ||||||| ||||||| ||| |||||| ||||||||||| | |||||||| ||||||| || ||||| ||||||||| ||| ||||||||||| |||||||||| |||| ||||| ||||||| ||| ||||| ||||| || |||||||| ||||||| |||||||| || |||||||| |||||||||
Table 5: Respondents, Treatment, and Type of Breast Cancer
# of hormone or chemotherapy TX for MBC | HR+/HER2- MBC | TNBC MBC | ||||
|---|---|---|---|---|---|---|
# of patients | # of caregivers | Total | # of patients | # of caregivers | Total | |
Received 2 TX | 53 | 16 | 69 | 5 | 11 | 16 |
Received 3 TX | 3 | 7 | 10 | 2 | 2 | 4 |
Received 4 TX | 4 | 7 | 11 | 1 | 4 | 5 |
TOTAL | 60 | 30 | 90 | 8 | 17 | 25 |
|| ||||||||| ||||||| || |||| ||||| || ||| ||||||| ||||| || ||| ||||||| ||||| || ||||||| || ||| ||| | ||||| ||| ||||||| |||||||| ||||| ||| ||| |||| |||||||||||| |||| ||| |||||||| |||||||| ||| ||||| |||||| |||| ||||||||| ||||||||| |||| ||| || ||||||| |||||||||| |||| |||| |||||||| |||||||| || ||| || | ||| ||||||| |||||||||| || |||| ||||||||| ||||||| || | |||||||||| || ||||||| |||||| |||||||||| ||| ||||||| ||||||||||| ||| |||||||| ||||| ||| |||||| ||||||||||| || |||||| ||||||| || |||| |||||| ||||||| ||| ||||||| || || ||||||| || ||||| ||||||| || ||| | |||| |||| || |||||||| ||| || || |||||||||| |||||||||| |||||||| | ||||||||| |||||||||||| || ||| |||||||| || ||| || |||||| ||||||||||| ||||||||| |||| ||||||||| || | ||| |||||||||||| ||||| || ||||||| |||||||| |||||||||||||| | |||||||| ||||||| || ||| ||| |||||||| || ||| | ||||| || ||| |||||| ||| ||||||| |||||||||||| ||||||||| ||| ||| ||||||||| ||| |||||||| ||||||||| ||||||||| |||||||| |||||||| ||||||||| || || ||| || | ||| ||| ||||||||| |||| || || ||||| |||| ||||| || || ||||| |||| || ||||||| ||| || ||| || | ||| |||| ||| |||||||| ||||||| |||||||||||||||||| |||||| || ||||||||| |||||||||| |||||| ||||||||| | |||||| |||| |||||||||| |||||| ||| ||||||||||||| || ||||| || ||| ||| ||||||| |||| || ||||||||| |||||||| ||| |||||||| |||| |||||| |||||| ||| ||||| || |||| ||| ||||||||||||| ||||||||| ||| ||||| || ||||||||||| ||||||||||| |||||| |||||||| ||||||| |||| |||||||| |||| |||||| |||||| ||||||||| ||| || |||| ||| ||||||||| |||||||||| |||||| |||| ||||||| ||||||||| |||||| |||||| ||| |||| || ||||||||||| |||||||| || || || || ||||| ||| || ||| ||||||| |||||| |||||||| ||||| ||| |||| ||||||| |||||||| ||||||||| || |||||||| ||| |||||||| |||| | |||||||| || ||| |||||||| ||||||| ||||||| ||| ||||| |||||||||| |||||| ||| ||||||||| |||||| || |||||||||| ||||||||||||| |||||||||| |||||||||| ||| |||||| |||||||||| |||| ||||| || ||||||| ||||||| | |||||||||| ||||||| ||| ||||||| ||| ||||||| || ||||||| ||| |||||| ||||||||| ||| |||| |||||||||| |||||||| | ||||| || ||||||||| |||||||| ||| ||||||||| |||| |||| ||| ||||||||| || ||| |||||||||| ||| |||||||||||||||| |||||||||||||||| |||||||||| |||||| |||| ||||||||| ||||||| |||||||||| || ||||||||||| ||| ||||| ||||||||| |||||||||| |||| |||| | ||||||||| ||||| ||||| || ||||||||| ||||||||||||| |||| |||||| || |||||||| |||| |||||| |||||| ||||||| ||||||||| || ||| ||||||||| |||||| ||| || | || | ||| |||||||||| || ||||||||| ||||||||| |||||||| ||||||| |||||| || || ||||| |||||||||||| ||| |||||| |||||| ||| ||||||||| |||||| || | |||||| || |||| || ||| ||||||||||| |||| ||| |||||||||| ||||||| ||| || |||| |||||| ||| || ||||||||| ||||||||||||||| ||||| |||| ||| ||| || |||||||||| ||||||||| || ||| ||||||||| ||| ||| |||||| || ||| | |||||||| |||||||| || | |||||| || ||||| ||||||||||| ||| |||||||| || |||||||||||| || |||||| || ||| || ||||||||| ||||||||||| |||||||| |||||| ||||||| ||||||||| ||||||||| |||||| || ||||||||| || ||||||||||||||| ||| |||||| ||| || | |||||| || ||||||||| |||||||| ||| |||||| ||||||| || ||||||||| |||||||||| |||| ||||||||||| |||||| || |||||||| ||||||||| ||| |||||||| |||||| |||||| ||||||||||| ||||| |||||||| ||| |||| |||||||| ||||||||||| ||| |||| ||| ||||| |||| || ||||||||| |||||| |||||||||| |||| |||||||||| ||| |||||||||| ||||||||||| |||| || ||| |||||||||||| ||||| || |||||||||||||| ||||| ||| ||||||||| ||||||||||||| || | |||||| || ||||||||| |||| ||| |||||| ||||||| ||| |||||| || ||| ||||||| || ||||||||| |||||| ||| |||||||| ||| ||||| ||||||||||||||| ||||| |||||||||||| |||| |||| || ||||||||||| |||| |||| ||||| ||||||||||||| ||||||| |||||||| ||| |||| |||| |||||||| |||| ||||||| || ||||| |||||| |||||| | |||| || ||||||||||| ||| ||||| |||||||||||| ||| ||||||||| |||| |||| ||||| ||||| ||||||||| |||||||| || ||| |||||| || | |||||| || ||||| |||||| ||||||| || |||||||||| ||| |||| |||| |||||| || ||||||||| |||||| ||||||| || ||||| ||| ||| ||| |||||| ||||| |||||| |||||| ||||||||| ||| ||||||| ||||| |||||||||||| |||| ||||| ||||||| ||||||||| ||||||||| || |||| |||||| ||| ||||| |||||||||||| ||| |||||| |||| ||| ||||||||||| || |||||| |||| || |||| || |||| |||| || |||| ||||| ||||||| ||||||||| |||| || ||||| |||||||| ||| |||||||||| |||| ||| ||||||||| || ||| |||||||| ||||| ||||||||| ||||||||| ||| |||||||| ||| ||||||||| |||| |||| |||| |||| ||| || |||||| ||||| ||| |||||| || ||||| ||||| || ||||||||||| |||||||||||||||| ||||||||| |||||||| |||||||| ||||||||||| | |||| ||||||||||||| || |||| ||||||| |||||||||| ||| |||| |||| |||||||| || ||| ||||||||||||| ||||||| |||||||| |||| | ||||||||||| ||||||||| ||||||| || ||||| ||| ||| |||| ||||||| |||| ||| || | |||| ||||| || ||| ||||||| ||||||||||| |||||||||| |||||||| || ||||| |||||| |||||| ||||| ||| |||||||| ||| ||||||||| || ||||| ||||| ||| |||| |||||| ||||||||| ||||||| |||||||| |||| | |||||| |||||| || ||||| ||||||||| ||| |||| || ||| ||||||||| |||||||||| |||||||||| |||| ||||||||||| ||| |||| ||||||| || | ||||| |||| ||||||| |||||||| ||||||||| || ||||| |||||||| ||||||| |||||| |||| |||||| | ||| |||||||| ||||||||| ||||||||| |||||||| ||||||||||||| ||| |||| |||||| ||||||| ||| ||||| |||| |||| || ||||||||||| | ||||||||||| |||||||||| ||||||||||||||||||||||||||||| ||||||||||||| ||||||| ||||||||||| ||||||| |||||||||| ||||||||||| |||||||||||||||| |||||||| ||||| ||||||||| |||||| |||||| |||||||| | |||||||| |||||||||| |||||| ||||||| ||||||||| ||||| ||||| |||||||| |||| ||| |||| |||||||||||||||||||||||||||||||||||||||||||||||||||||||||||||||||||||||||||||||||||||||||||||||||||||||||||||||||||||||||| |||||| |||||| ||||||||| ||| ||||| ||||||||||| |||| |||||||| || |||| ||| |||||||||||||| |||||||| ||||| |||||||| |||| |||||| |||||| |||||||||| | |||||||||| |||||| ||| |||||||||||||| ||||| ||| || ||| |||||||| || ||||| || |||| || |||| || |||||||| ||| |||||||||||| || ||||| || ||||| ||| |||||| ||| ||||||||||| || ||||||||| |||||||| ||||| |||||||| |||| |||||| |||||| |||||||||| | |||||||||| |||||| ||| |||||||||||||| |||| |||| ||||| |||| ||| |||||||||||||||| ||||||||||||||||||||||||||||||||||||||| ||||| ||||||||| |||||| |||||||||||||| ||||| ||||| ||| ||||| |||||||||| ||| ||||||| ||| |||||| ||||| |||||||| ||||| |||||||| ||||| |||||||| ||||| |||||||||| ||| |||||| ||||| ||||||||| ||||| ||||| || ||||||||| ||||||||| |||||||| || | |||||||||| |||||||| |||||||||||||||| |||||||| ||| |||||||||| || ||| ||||||||||||| ||||| ||| ||||||||| |||||||| ||||||| |||||| |||| ||| ||||||||||||||||| |||| ||||||||||||||||||| |||| |||| ||| || ||||| ||||||||| |||||| ||||||||||||
||| |||||| || ||||||||| | ||||||||| ||||||| |||||||||||| || ||||||||| ||| || ||||||||| ||| ||||| ||| ||||| |||||| ||||||||| |||||||| || ||||| ||| ||||||||| | |||||||||| |||| |||| | |||| || |||||||||||||| |||||||| ||||||||| ||| ||||||| |||||||||||| ||||||||||||||||||| ||| ||| |||||||| |||||| |||||| |||| | ||||||| |||||||| |||| ||| |||||||||||||| |||||||||||| ||||||||| ||| |||| |||||||| || ||| |||| |||||| |||| ||||| ||||| || | ||||||||||||||||||||| ||||| || ||||| |||| |||| |||||||||||| |||||||| | |||||||| ||| ||| ||| ||||||| || | ||||||| |||||||||||| ||||||| || ||||||| |||||||||||| || | ||| |||||||| ||| ||||||| ||||||||||| |||| |||| |||||| || ||||| |||||||| ||||||| |||| ||||||| |||||||| ||||| |||||||| || ||||||| ||||| |||||||| || ||||||| || |||| ||||||| || |||| |||||||||||||| ||| ||||||||| ||||||||| || ||| |||||| |||| ||| ||||||||| || ||| ||| ||||||| ||| ||||||||| || |||| || ||||| || ||||| |||| ||| |||| |||||||| |||| ||||||||| || ||||| |||||||||||| || ||||||||| || ||||| ||||||| ||||| || |||||||| |||||||| || ||||||||| ||| ||| ||| || ||| ||| |||||| |||| ||| || ||||||||||| |||||||||| ||||| ||||||| || |||| |||| ||| ||||||| |||| || ||||||||| || ||||||||| |||||||||| |||||||| ||||||||| |||||||||| |||| |||||||| || |||||||| ||||||||| ||||||||||| ||||| |||||| || ||||| ||||||| |||| || ||||||| ||| ||||| ||| || |||| ||| ||||||||| |||| ||||||||| ||||||| |||||||| |||| ||||||||| |||||||| ||| || || | |||| ||| | ||||| |||||| ||||||| ||||||||||||| ||||||||||||||| ||| |||||||| ||||||||| ||| |||||||||||||| | |||||| ||||||||| |||||||| ||||||| || ||||||| |||||||| |||||||| ||||||| |||||||| |||||||||| || |||||| ||||||| ||| ||| | ||||| ||| || || |||||||| || || | ||| ||| ||||||||||||
||||||||| |||||| |||||| ||| |||||| | ||||||| ||||||| ||||||| ||| ||||||||||| ||||||||| ||||||| ||||| |||||||| ||| |||||||||| |||||||||| ||||| |||||||||||| |||||||||||| ||||||||||| || ||||||| |||||||| ||||| ||||||||||| |||| |||||||| ||||| ||| ||||||| || |||| ||||| ||||||||| || |||||||| |||||||| |||||||||| || | |||||||||||| ||| |||||||| |||||||| ||||| ||| ||||| ||||||||| |||||||| || ||||||||||||||||
||||||||||||| |||||||||| | |||||| |||||||| |||||||||||| ||| ||| ||||| ||| ||||||||| |||||| || |||||| ||||| |||| |||| ||||||||||| ||||||| |||||||| || ||| |||||| ||| |||||| ||| ||||||| |||||||| || | RCT || |||| ||||||||||| || ||||| ||| ||||||| ||||| ||||||||| |||||||| |||||| ||||||||| |||||| |||||||||||| || || ||||||||| ||| ||| |||||||| ||| |||||| ||||||||||| || ||||||| |||||||| ||| |||||| |||||| |||||||| ||||| |||| |||| ||| ||| ||| |||||||| ||| ||||||| ||||||||||||||| ||||||||||| ||||| |||||||| |||||||| ||||||||| |||||| ||||| ||| |||||||| ||||||| || ||| ||||||||| ||| |||||||||||| || ||||| ||||||| |||||| |||| || |||||||||| ||||| ||| ||||||| ||||||||| || |||| ||||||| ||||||||||| ||||||| |||||||||||||||| | ||||| ||||| |||| ||||||||||| ||| ||| || | ||| ||| ||||||||| |||||||| |||||||| |||||||| ||||||| ||||||||| |||||||||||| ||||| ||| |||||||||||||||| |||| |||||||||| || ||||||||| ||| ||| ||||||||| || ||||| || ||| ||||||||||| || ||||||||| || |||| ||||| || ||||| |||||| |||||||| ||| ||||||| ||| |||||||| || ||||||| ||||||||| || ||| |||||| ||||||| | |||| |||| |||||| ||| |||| ||| ||||| ||||| |||| |||||| ||||||| || | || |||| |||||| |||||| |||| ||||||| ||||||||| ||| |||||||||| ||| |||||||| |||| || |||||||||| ||| ||||||| |||||||| ||||| ||||||||| ||||||||| |||| ||||||||||||||| || || | | || |||||| ||||||||| |||||||||||| || |||||||||| |||||||| || |||||| |||||||| ||||| || |||||||||| ||| ||||||| |||| ||||||||| || | || |||| ||||||| |||| ||||||||| |||| ||||||| ||||| |||| ||||||||||||||||||| || |||||||||| || || ||| ||||| || ||||||||| ||| |||||||| ||| |||||||| |||||||||| |||||||||||| ||| ||||| |||||||| ||| || | ||| |||||||| |||| |||||||||| || |||||||| ||| || ||| |||||| ||||||| |||| | |||||| || || ||||| ||||||||| || ||||| ||| ||||| ||| |||||||| ||||||||| |||| ||| || |||||||| |||||||||| || |||||||| || | |||||| ||| ||| |||| ||||||| |||||||||||| |||||||||| ||| ||| || |||||||| ||||||||||| |||||| ||||||| || || |||||| ||| || |||| ||||||| |||||||||| ||||| ||||||||| ||||||||| ||||| ||| |||| ||||| |||||||| |||| || |||| ||||||||| |||| | |||||||||||| ||||||||| ||| ||||||||||| ||||| ||||| |||||||||||| |||||||||| ||||||| |||||||| ||||| ||| ||||||||| || ||||||||||| ||||||| || ||||| |||||||||| ||||| ||||||| |||||||| ||| ||| |||||| |||||| |||||| || |||||| ||| ||||||| || ||||||| |||| || | |||||||||| |||||||||||||||| |||||||| ||||||||||| |||| ||||||||| ||| ||||| |||| ||||||| || |||||| ||| ||||||||| ||||||||| ||| |||||||| || ||| |||||| |||||||||| |||||| || ||||||||| || | ||| ||||||| |||||||| ||||||||||| || ||||| ||| ||||||||||||| ||||||||||| |||||||| ||| |||||||| || ||||||||||| ||| |||||||||||||||| |||||||| |||| || |||||||||||| |||| ||||||||| || |||||| |||||| ||||||| ||||| |||| ||||| ||||| |||||| |||| ||| ||| || | ||||||||||||||| ||||||||| || |||| ||||||||||| ||| ||||||||||||||| ||||| ||||||| || ||| |||| |||| || |||| ||||||| |||||||| |||||||| |||||||||||||||||||||||| |||||||| || |||||||| |||| ||||||||| || |||||| ||| |||| || |||| || ||| ||| ||| |||||||| || ||| |||||||||| ||||| ||| |||||||||| || |||||||| ||| |||||||| ||| ||||||| |||| |||||| |||||||| |||| ||| |||||||| |||||||||| |||||||| || ||| ||||||| ||||||| ||||| |||| || ||||| ||| || ||||| |||| ||||||| ||| ||||||| |||| |||| ||||||||||| ||||| |||||||||||||||||||||||||||||| ||||||| ||||||||| ||||| |||||| |||||||| ||||||| |||||| |||||| ||||||| ||||||||||||||||||||||||||||||||||||||| |||||||| ||||||| ||||||||| ||||| |||||||||||| | ||||||||||||| |||||||| |||| ||| |||| ||||| ||| |||||| || ||||||| ||| || ||| |||||||||||||| ||||||| || |||| ||||||| || ||| ||||| | |||||||||| ||||| || ||||||||||| ||||||||| |||| || |||||||||||| || ||||||||| |||||||||| |||||| |||||| |||||| ||||||||| ||| |||||||| ||||||| ||| ||||||| |||||||| ||||||||| ||||||||| ||||| ||||| |||||| ||||||| |||||||||||| ||||||||||| ||| ||||||| || |||||| ||| ||||||| || || ||| ||||||||||| ||||||||| || ||||||| ||||||||||||||||||||||| ||||||||| |||||| |||||| |||||||| |||||||||| |||||||||| |||||| ||||||| | |||| ||||| ||||||||||||| | ||||||||| |||||||||| |||||||| ||||||
||| ||||||| |||| ||| ||| |||||||| || |||| |||||||||| ||| |||||||| || ||| | ||||| ||||||||| |||| ||||||||| |||||| |||| ||||||||||| |||| ||| |||||||||| |||| |||||||| ||| |||||| || | || | |||||||||| |||| ||| ||| | ||||| |||||||| ||||||||| ||||| ||| ||||||| || ||| |||||||| ||||| ||||||||||| || |||||| || ||| |||||||||| |||||||| ||||| ||| ||| | ||||| ||||||||| |||| || |||||| ||| |||||| || ||||||| |||||||||| ||| |||| |||||||| || ||||||||| ||||| ||| |||| ||||||| || ||| ||||||||||| ||||||| |||||||||| ||||||||||| |||| ||||||||| |||||||||| ||||||||| ||||||| |||||| || ||| ||||||||| ||| ||| |||||| |||||||| ||||| || ||| ||||| ||||||||||||| ||| |||||||||||| ||||||| || |||||||| || ||||||||||| ||| |||||||||| ||| |||||| ||||| |||| ||||||| ||||| |||||||||||||| |||| |||||||||| ||| ||| ||||||||| ||||||| |||||||| |||| ||||||||| ||||||||||| ||||||||| ||||||| |||||||| |||||||| || |||||||| |||||||| |||||||||| ||||||||||| |||||| ||||||||| ||||| || ||||||| ||| |||||||||||| |||| ||| |||||| |||| |||||||||||||||||||| |||||||| ||| ||||||||| ||| ||| ||| ||||||||||| |||| ||||||||| ||| |||||||| |||||||||| ||||||||| ||||| |||||| ||| ||| | ||||| |||||||||| ||||||||||||||||||| |||| |||| |||||| ||| ||| ||||||| ||||||||||| || ||| |||||||| ||| ||||||||| ||||||| ||| || ||||||||||| |||||||| ||||||||| |||| |||||||||| |||||||| |||| ||||||||||| ||| ||||||||||| |||| |||| ||| |||||| || | ||||||||| |||| ||| |||| |||| |||| |||||||||| | ||||||| || |||| |||| |||| || ||| ||||||||| ||||||| |||||| ||||||| |||||||| ||||||| ||||||||| || |||||| || ||||| |||| |||| || ||||||||| ||||||| || |||||||||||| |||||||| |||||| ||| ||||||| ||||| ||| ||| | ||||||||||| |||| ||| | ||||| |||| |||||||| || |||||| |||||||| || |||||||| ||||||| || ||| ||||| | ||||||||||| |||| |||||| ||||| ||| ||||| ||| || |||| || |||||| |||||||||| ||| ||||||||| |||||||||| || |||| ||||||||| ||| |||||||||| ||||| |||||| ||| ||| ||| |||| ||||||||||| || ||||||||||| || ||| ||| | |||| |||||||||||| ||| ||| ||| ||||||| |||||||||||||||| |||||||| |||| ||| |||||| ||||||||||| ||| ||||||||| || |||||||||||| || ||| |||||| |||||||||||||| || |||||||| |||||| ||||||||||| |||||||||| |||| |||||||| |||| ||| || | |||| ||| | ||||| ||| |||| |||| ||||||||| |||||||| || ||||||| |||||||
Duration | HR+ / HER2- MBC Trodelvy Experience n=6 | TNBC MBC Trodelvy Experience n=5 |
|---|---|---|
Place in Therapy 3L | n=4 | n=1 |
Duration of 3L Trodelvy to date | n=1: two months n=3: 1 month | n=1: six months |
Place in Therapy 4L+ | n=2 | n=4 |
Duration of 4L Trodelvy to date | n=2: 1 month | n=1: 0.5 months (1 treatment new start) n=1: 1 month n=1: 4.5 months n=1: 7 months |
|||||||| ||||||||| |||||| || ||||||||| | ||||||||| ||| ||| ||||||| |||||| |||||||||||| || |||| ||||||||| ||| ||||||||||||| |||||||||||||||||||| ||||||| |||||||| |||||||| |||| |||||||| ||| |||| ||||||||| |||||||| |||||||| || |||||||| |||||| |||||||| || ||||| ||||||||||| ||| ||||| |||||| ||| ||||||| || |||||||| |||||||||| |||| ||| |||||||||||| ||||||| ||| ||| ||||| || |||||||| ||| ||||| ||||||||||| || |||| ||||| ||||| || ||| ||||||| ||| |||| || ||||||||||||| |||||||| |||||| ||| ||||||||| || ||| ||||||||| |||||||| || |||| ||| |||||||||| || |||||||||||| |||||| |||| ||||| ||||||||||| ||||| |||| |||||||| |||||||||| |||||| |||| |||||| |||||||| ||| ||||||||||||||| || |||||||||||||||| |||||| ||||||| || ||||||||||||| |||||||||||||||||||| ||||||||| ||| |||||||| | |||||||||| ||| ||| ||||||||||| |||||||||| || ||||||||| || |||||||| || | ||||||||| |||||| |||
|||||| |||||||| ||||||||||||| |||||| |||| |||||||||| ||||||||||||| |||||||||||||||||||| |||||||| || |||||||| | ||||||||||| ||||||||| || ||| | ||||| ||| ||||| |||||||| |||||||| ||| |||||||||| |||||||| ||||||||||| |||| ||||||||| || ||||| | |||||||||||| || ||||||||| ||| |||||||||||||||| |||||| ||||||| || |||||||| |||||||| |||||||||| ||||| ||||||| |||| |||||||| || |||||| |||||||| |||||| ||||||| ||||||||||| ||| |||||||||| |||||||| |||| || ||||||||||||||| |||||| || |||| ||||||||| || | ||| ||| ||||||||||||| |||||||||||||||||||| |||||||| || |||||||| | ||||||||||| ||||||||| || ||| | ||||| ||| ||||| |||||||| |||||||| ||| |||||||||| ||||||||||| |||| |||||||| || |||| |||| |||| ||| ||||||||| |||||| || |||||| | |||| ||| ||||| ||||| |||||||||| || ||||||||| |||||| || |||||||||||| || ||||| || |||||||||||| ||| ||||||||| ||| |||||||||||||||| |||||| ||||||| || ||| |||||| ||||| ||||||| |||| |||||||||||||||||||||||||||| ||||||||||| |||| ||| |||||| |||| |||| |||| ||||||| ||||| || |||||||| |||| |||||||| || |||||||||| |||| || |||| ||| || |||||||||||| |||| ||||| |||||||||| || |||||||||||| || ||||| || ||||| || |||| ||||||||| || | ||| ||| ||||||||||||| |||||||||||||||||||| ||||||| |||||| ||||| || ||||||||| ||||||||| ||||||| || |||||||||| |||||| ||||||| ||||| |||||| |||||||| |||||||| || ||||| |||||||||||| |||| |||| |||||||| ||| |||||||||| ||| ||||||||| ||| |||||||||||||||| |||||| ||||||| |||||| |||||||| ||||||||||| |||||||||| |||| |||| ||||||| ||||| ||||||| |||| |||||||||||||||||| ||| |||||||||||||||| |||||| ||||||| ||||||||| |||||||| || ||| |||||||| ||||||||| |||||||| |||| |||| || |||||| |||||||| |||||| |||||||||| ||||||||| || ||||| |||||||||| |||||| | ||| || |||| ||||| || |||| ||| ||||||| ||||||||||| || ||| ||| ||| || ||| ||| |||||||||| ||| ||| | |||| | ||| |||||||||||||||||
||| ||| |||| |||||||||||
||||||||| |||||||| || ||||||| ||||||| || | ||| ||| ||| |||| | ||||||||||| ||||| |||| ||| |||||||| |||| ||||||| |||| |||||| |||||| ||| ||||| ||||||| ||| ||||| || |||||| ||||||||| ||| |||||||||| ||||||||| |||| ||| ||||||||| ||||||| || ||| |||| | |||||||||| ||||||||| ||||||||||||| |||||| |||||| ||| ||||||||||||| ||||||||||||| |||| |||| || ||| |||| |||| |||||| |||| ||||| ||||| |||| ||||||||||| ||| |||||||||| ||| ||| | ||| ||||||||| |||||| ||| ||||||||| | |||| |||| ||||||| ||| ||| ||||| ||||| |||||||| | ||||||||| |||||||| |||||| || |||| | |||||| |||||| ||| |||||||| |||| ||||||||| |||||| |||||| ||||||| |||||||| || |||||||| ||| ||| |||||||| | |||||| ||| |||||||||| |||| |||| ||||||||||||||| |||||||||||||| ||||||||| ||| ||||||||| ||||||||| ||| |||||||||| |||| |||||||| || |||||||||| ||||||||| |||||||| || |||||| |||| |||||||| ||||||| |||||||||| ||| |||| ||||| || ||||||| ||||||| |||||| ||||||| ||||||||||| |||||||||| |||||||| ||| ||||||||||| ||||||| |||| | ||||||||| ||| ||||||| |||||||| || | ||||||| |||||||||| || |||||||||| |||||||||| |||||| || ||||||| ||||| |||| |||| |||||| ||||||| |||||||| ||| |||||||| || ||| | ||||| |||||| ||| || |||||||| ||| |||||||||| || |||| |||||||||| |||| ||| |||||||||||||| |||||||||| ||||| |||||||| || |||||||| |||||||||||||||| ||||||||| ||||||| ||||||||| ||| |||||| |||||| ||||||| || |||||||||||| || | | || |||||||||| || ||||||||| |||||||| ||||||| |||||| || |||| ||||| ||||||||||| |||| ||||||||| ||| ||||||| |||||| ||||||| ||||||| | |||| ||| ||||| |||||| |||| || || |||||||| ||| |||
|||||| |||||| |||| |||| |||||| |||||||| |||||||| ||| ||| |||||||| || ||||||| |||||||||| || || |||||||| |||||| || |||| ||||||| |||||| ||||||| ||||||||||| || | |||||| || |||||||| ||||||||| || ||||||||| ||| ||||||||||||| ||||| |||| |||| ||| |||||||| || |||||||||||||||||||| |||||||| | ||||||||| ||||||||||| || |||| |||||| |||| |||||| ||| |||||||||| |||||| || ||||| |||| ||| ||||| |||||| ||||||| || ||||||||| |||| ||||||||| |||||||| ||| ||| || ||| ||||||||||| ||| | ||||||||| ||||| |||||||||| ||||| || ||||||||| |||||||| || ||| ||||||||| ||| |||||||| ||||||| |||| || ||||| |||||||| |||||| | ||||| || ||||||||| ||| |||| ||||||| |||| || ||||| | |||||||||| ||||| ||||||||||||||||||||||| || ||||| ||||||||| |||| || ||||||||||||||| ||||| |||||||||||||||| ||| |||||||||| ||||||||||||||| || || ||||||||||||||||||||| || |||||||||||||||| ||||||||||||| ||||||| ||||||| ||| ||||||||| ||| |||||||| |||||| |||| |||||||| ||| |||||||| ||| |||||| || | |||||||| |||| || ||||||| ||| || |||| || |||||||||||
|| |||||||| ||| ||||||||||| ||| ||||||||||| || ||| ||||| ||||||||||||| |||||| |||||||| ||| |||||||||||| || ||| |||| |||||| ||||||||| |||| |||||||| ||| ||||| |||||||||| || ||||||||| ||||||||| || ||||||||| |||| ||||||| ||||| |||||||| || |||||||| ||||||||||| || |||||||| ||| |||||||||||||| |||||||||||| |||| || ||| |||||| || |||||||| ||| ||| || ||| ||||||| ||||| |||||| ||||| ||| ||||||| |||| ||||| |||| ||||||| |||||||||| || ||||||||||| ||| ||||||| |||| |||| ||||||| |||| ||||||| ||||| || |||||||| |||| ||||||||||| || |||| |||||| |||||| ||| |||| ||| ||| |||||||| |||
||| ||| |||||| ||| ||||||||| |||| || |||| |||||||||| ||| |||||| ||||||||| ||| ||||||||| || ||| ||||||||||||| ||||||||| || |||||| |||||| |||||| ||| ||||||||||||| |||||||||||||||||| ||| ||||||| |||| |||| ||||||| |||| ||||||| ||||| || ||||||| || ||||||| |||| |||| || |||| ||||||||||| || |||| |||||| |||||| ||| |||| ||| ||| |||||||| ||||||| ||| |||||||| || |||| |||| ||| ||| ||||||||| |||||| ||| |||||| ||||||||| || |||||| |||||| |||||| ||| ||||||||||||| ||||||||||||| ||||||||| || ||| ||| ||||||||||||||||||| ||| ||||||||| || ||||||||||||| |||| |||| |||||||| |||| ||||| |||| ||||||||| ||||||| |||| ||| |||| | ||||| ||| ||| ||| |||| |||||| || |||||||| |||||||| || ||| |||| ||||| ||||||||
Table 7: Financial Disclosures for Breast Cancer Canada and McPeak-Sirois Group for Clinical Research in Breast Cancer Research
Company | $0 to 5,000 | $5,001 to 10,000 | $10,001 to 50,000 | In Excess of $50,000 |
|---|---|---|---|---|
BCC – Gilead Sciences Canada | — | — | — | X |
BCC – AstraZeneca Canada | — | — | — | X |
MPSG – Gilead Sciences Canada | — | — | — | X |
MPSG – AstraZeneca Canada | — | — | — | X |
MPSG – Eli Lilly Canada | — | — | — | X |
MPSG – Pfizer Canada | — | — | — | X |
MPSG – Novartis Canada | — | — | — | X |
MPSG – Seagen Canada | — | — | — | X |
MPSG – Merck Canada | — | — | — | X |
MPSG – Canadian Cancer Society | — | — | — | X |
MPSG – Quebec Breast Cancer Foundation | — | — | — | X |
MPSG – Breast Cancer Canada | — | — | — | X |
| |||||| ||||||| |||| | |||| ||| ||||||||| || |||||||| ||| |||||||| ||||||||||| |||| ||||||| || ||| |||||| ||||||||| |||| ||||||| ||||| |||| | |||||||| ||||||||||||| || |||||| |||| ||| ||||| |||| ||||||| ||||| || | ||||| |||||||||| || ||||||||| |||||||| || |||||||| |||||||||||||||| |||||||| |||||||||||||||| ||||||||||| |||||| |||||| |||||| |||||||||||| |||| ||| |||||
Organization is the Saskatchewan Cancer Agency, Saskatoon Cancer Centre. Group consists of Medical Oncologists who treat Breast Malignancies. http://saskcancer.ca/
Discussed data and input at multidisciplinary rounds, educational sessions as well as email communication.
In the Canadian context, the current treatment paradigm for metastatic hormone-positive breast cancer involves a combination of drug and non-drug therapies. First line treatment often involves CDK4/6 inhibitors with an aromatase inhibitor. Upon disease progression, second line therapy and beyond can include endocrine therapy (Fulvestrant, Tamoxifen), chemotherapy (capecitabine, paclitaxel), targeted therapy if an actional mutation is present (Alpelisib for PIK3CA mutation, Olaparib for germline BRCA mutation), or enroll in a clinical trial if available and eligible. There is no consensus on the ideal sequencing in the second line and beyond. Non-drug treatments may include radiation therapy, surgery for local control, and palliative care to manage symptoms.
In some cases, certain drugs are obtained through special access programs. These include Olaparib for patients with germline BRCA mutation or Trastuzumab Deruxtecan for HER2 low/Hormone positive metastatic breast cancer.
The most important goals that an ideal treatment for metastatic hormone-positive breast cancer would address include prolonging progression-free survival, improving overall survival rates, maintaining quality of life, minimizing treatment-related toxicities, and managing disease-related symptoms effectively. Additionally, the treatment should provide individualized care based on patient characteristics and preferences, consider the potential for long-term treatment, and offer treatment options that are well-tolerated and convenient for patients.
Considering the treatment goals, please describe goals (needs) that are not being met by currently available treatments.
In the context of metastatic hormone-positive breast cancer, there are significant unmet needs for this patient population. One notable area is the limited options available for patients who eventually become refractory to current treatment options, leading to disease progression. As the disease advances, patients face a lack of effective therapies, necessitating the development of novel treatment strategies.
Furthermore, there is a pressing need for treatments that are better tolerated and have reduced toxicity and side effects. As metastatic hormone-positive breast cancer is often managed with palliative intent, it becomes crucial to prioritize therapies that can provide symptom relief and improve quality of life without compromising patient well-being.
Addressing these unmet needs requires the exploration of alternative mechanisms of action, development of targeted therapies, and identification of new biomarkers for patient stratification. Additionally, clinical trials investigating innovative treatment combinations and modalities, such as immunotherapies or precision medicine approaches, hold promise in meeting the specific needs of this patient population.
Current treatment options for metastatic hormone-positive breast cancer have certain limitations. Over time, patients will develop resistance to endocrine therapies and chemotherapy, resulting in disease progression and limited treatment options. Additionally, the toxicity and side effects associated with some treatments can impact patients' quality of life and long-term adherence. There is a need for more effective therapies that can overcome resistance mechanisms, minimize adverse effects, and provide better outcomes for patients in this setting.
How would the drug under review fit into the current treatment paradigm?
Sacituzumab govitecan, an antibody-drug conjugate, has shown promising results in the treatment of heavily pretreated patients with metastatic hormone-positive breast cancer, as demonstrated in the Tropics02 clinical trial. It has exhibited improved progression-free survival and overall survival in this patient population. By offering a new mechanism of action, sacituzumab govitecan provides a later line of treatment for patients who have exhausted other therapeutic options, including endocrine therapy and multiple lines of chemotherapy. The results of the Tropics02 trial are expected to have a significant impact on the treatment paradigm for metastatic hormone-positive breast cancer.
Which patients would be best suited for treatment with the drug under review? Which patients would be least suitable for treatment with the drug under review?
Sacituzumab govitecan is indicated for patients with metastatic stage IV hormone-positive, HER2-negative breast cancer and a good performance status. To be eligible for treatment, patients should have undergone prior endocrine therapy and multiple lines of chemotherapy, as outlined in the Tropics02 clinical trial criteria. Currently, there is no requirement for a companion diagnostic test, and no specific biomarker has been identified to predict treatment response in these patients. Patients with a poor performance status and have not received prior chemotherapy (at least 2 lines) will not be suitable for Sacituzumab govitecan.
What outcomes are used to determine whether a patient is responding to treatment in clinical practice? How often should treatment response be assessed?
CT scans are performed every three months to assess treatment response and monitor disease progression in patients receiving sacituzumab govitecan. Improved survival, including progression-free survival and overall survival, is a key outcome used to determine treatment effectiveness. Managing side effects related to the drug, such as diarrhea, myelosuppression, and fatigue, is an important aspect. Treatment response in clinical practice is evaluated through radiographic imaging, clinical symptoms, and overall patient well-being. The frequency of assessments may vary, but typically treatment response is evaluated every three months to assess the ongoing efficacy of sacituzumab govitecan. Regular monitoring and supportive care measures are employed to address and manage side effects throughout the treatment course.
What factors should be considered when deciding to discontinue treatment with the drug under review?
Sacituzumab govitecan will be discontinued if there is evidence of disease progression on radiographic imaging (tumour growth or new lesions), in the event of unacceptable toxicity (grade 3-4 diarrhea despite dose reduction or grade 3-4 neutropenia despite dose reduction or use of G-CSF, or patient preference.
What settings are appropriate for treatment with [drug under review]? Is a specialist required to diagnose, treat, and monitor patients who might receive [drug under review]?
Patients will need to receive Sacituzumab govitecan under the guidance of a Medical Oncologist and receive treatment in an outpatient oncology clinic.
To maintain the objectivity and credibility of the CADTH drug review programs, all participants in the drug review processes must disclose any real, potential, or perceived conflicts of interest. This conflict of interest declaration is required for participation. Declarations made do not negate or preclude the use of the clinician group input. CADTH may contact your group with further questions, as needed. Please refer to the Procedures for CADTH Drug Reimbursement Reviews (section 6.3) for further details.
Did you receive help from outside your clinician group to complete this submission?
No.
Did you receive help from outside your clinician group to collect or analyze any information used in this submission?
No.
List any companies or organizations that have provided your group with financial payment over the past two years AND who may have direct or indirect interest in the drug under review. Please note that this is required for each clinician who contributed to the input.
Name: Mita Manna
Position: Medical Oncologist
Date: 23-06-2023
Table 8: COI Declaration for Medical Oncologists, Saskatoon Cancer Centre — Clinician 1
Company | $0 to 5,000 | $5,001 to 10,000 | $10,001 to 50,000 | In Excess of $50,000 |
|---|---|---|---|---|
Gilead | — | X | — | — |
Name: Shahid Ahmed
Position: Medical oncologist, Professor of Oncology
Date: 06/22/23
Table 9: COI Declaration for Medical Oncologists, Saskatoon Cancer Centre — Clinician 2
Company | $0 to 5,000 | $5,001 to 10,000 | $10,001 to 50,000 | In Excess of $50,000 |
|---|---|---|---|---|
Gilead | X | — | — | — |
OH-CCO’s Cancer Drug Advisory Committees provide timely evidence-based clinical and health system guidance on drug-related issues in support of CCO’s mandate, including the Provincial Drug Reimbursement Programs (PDRP) and the Systemic Treatment Program.
Information was gathered via videoconferencing.
The current treatments that are used in HR+/HER- breast cancer in third line and beyond include eribulin, capecitabine, gemcitabine, and vinorelbine. The goals to address are to delay disease progression, improve progression free survival, and prolong life.
Health-related quality of life data is missing from the trial which is an important goal to consider.
Considering the treatment goals, please describe goals (needs) that are not being met by currently available treatments.
Metastatic breast cancer remains an incurable illness and thus better treatments are needed. This treatment is applicable to patients who are HR+/HER2 low or HR+/HER2-0. Sacituzumab govitecan provides an unmet need for patients who are HR+/HER2-0.
Patients who are ER low positive do not meet the strict criteria of triple negative. ER low (ER 1-10%) patients would typically not be prescribed endocrine therapy however they should still be considered for Sacituzumab govitecan.
How would the drug under review fit into the current treatment paradigm?
In the TROPiCS trial, the median number of prior treatments was three and many patients in the trial had 8+ prior treatments. Sacituzumab govitecan would be an additional line of therapy to consider for 3rd line and beyond in patients with HR+/HER2- metastatic breast cancer.
Which patients would be best suited for treatment with the drug under review? Which patients would be least suitable for treatment with the drug under review?
Patients best suited for this drug would be as per the proposed indication.
The DAC reviewed the eligibility criteria for the TROPiCS 02 trial. We note that there could be some patients in this group who have been on treatment for a very long time such that they never received a CDK 4/6 inhibitor. That is, some patients have become endocrine resistant before CDK4/6 inhibitors became available. There are also patients that are intolerant to CDK 4/6 inhibitors. Therefore, patients should not be required to have had a prior CDK 4/6 inhibitor before starting this drug. However ideally, the patients eligible for treatment should have received an endocrine therapy otherwise.
What outcomes are used to determine whether a patient is responding to treatment in clinical practice? How often should treatment response be assessed?
The trial endpoints are OS, objective response, clinical benefit rate, duration of response, patient-reported outcomes, and safety. These are meaningful in the clinical setting as well.
The trial assessed response every 6 weeks for the first year and then every 12 weeks thereafter. In clinical practice, if patients are doing well and do not have undue toxicity, then the assessment of response in the first year may have a slightly reduced frequency. Patients are typically assessed every cycle of treatment for toxicity.
What factors should be considered when deciding to discontinue treatment with the drug under review?
Treatment is typically discontinued upon disease progression or undue toxicity.
What settings are appropriate for treatment with [drug under review]? Is a specialist required to diagnose, treat, and monitor patients who might receive [drug under review]?
Settings with clinicians who have expertise in the administration of systemic therapy to patients with advanced disease.
The DAC is aware that an update to the survival analysis was recently available at the ASCO meeting. (Sara T., Aditya B., Frederik M., et al. Final overall survival (OS) analysis from the phase 3 TROPiCS-02 study of sacituzumab govitecan (SG) in patients (pts) with hormone receptor–positive/HER2-negative (HR+/HER2–) metastatic breast cancer (mBC). Journal of Clinical Oncology 2023 41:16_suppl, 1003-1003. DOI: 10.1200/JCO.2023.41.16_suppl.1003)
“SG continues to demonstrate improved OS versus TPC (median, 14.5 vs 11.2 mo; HR, 0.79 [95% CI, 0.65-0.95]; nominal P=0.01). The OS rates (95% CI) for SG versus TPC were 60.9% (54.8-66.4) and 47.1% (41.0-53.0) at 12 months, 39.2% (33.4-45.0) and 31.7% (26.2-37.4) at 18 months, and 25.6% (20.4-31.1) and 21.1% (16.3-26.3) at 24 months.”
The DAC notes that an improvement in the 12-month overall survival as seen in this study is clinically significant in this heavily pretreated population.
To maintain the objectivity and credibility of the CADTH drug review programs, all participants in the drug review processes must disclose any real, potential, or perceived conflicts of interest. This conflict of interest declaration is required for participation. Declarations made do not negate or preclude the use of the clinician group input. CADTH may contact your group with further questions, as needed. Please refer to the Procedures for CADTH Drug Reimbursement Reviews (section 6.3) for further details.
Did you receive help from outside your clinician group to complete this submission? If yes, please detail the help and who provided it.
OH-CCO provided secretariat function.
Did you receive help from outside your clinician group to collect or analyze any information used in this submission?
No.
List any companies or organizations that have provided your group with financial payment over the past two years AND who may have direct or indirect interest in the drug under review. Please note that this is required for each clinician who contributed to the input.
Name: Dr. Andrea Eisen
Position: Lead, Ontario Health (Cancer Care Ontario) Breast Cancer Drug Advisory Committee
Date: 26-07-2023
Table 10: COI Declaration for OH-CCO Breast Cancer Drug Advisory Committee — Clinician 1
Company | $0 to 5,000 | $5,001 to 10,000 | $10,001 to 50,000 | In Excess of $50,000 |
|---|---|---|---|---|
No COI | — | — | — | — |
Name: Dr. Orit Freedman
Position: Member, Ontario Health (Cancer Care Ontario) Breast Cancer Drug Advisory Committee
Date: 21-07-2023
Table 11: COI Declaration for OH-CCO Breast Cancer Drug Advisory Committee — Clinician 2
Company | $0 to 5,000 | $5,001 to 10,000 | $10,001 to 50,000 | In Excess of $50,000 |
|---|---|---|---|---|
No COI | — | — | — | — |
Name: Dr. Phillip Blanchette
Position: Member, Ontario Health (Cancer Care Ontario) Breast Cancer Drug Advisory Committee
Date: 21-07-2023
Table 12: COI Declaration for OH-CCO Breast Cancer Drug Advisory Committee — Clinician 3
Company | $0 to 5,000 | $5,001 to 10,000 | $10,001 to 50,000 | In Excess of $50,000 |
|---|---|---|---|---|
No COI | — | — | — | — |
Name: Dr. Haider Samawi
Position: Member, Ontario Health (Cancer Care Ontario) Breast Cancer Drug Advisory Committee
Date: 21-07-2023
Table 13: COI Declaration for OH-CCO Breast Cancer Drug Advisory Committee — Clinician 4
Company | $0 to 5,000 | $5,001 to 10,000 | $10,001 to 50,000 | In Excess of $50,000 |
|---|---|---|---|---|
No COI | — | — | — | — |
Name: Alaina Charlton
Position: Member, Ontario Health (Cancer Care Ontario) Breast Cancer Drug Advisory Committee
Date: 21-07-2023
Table 14: COI Declaration for OH-CCO Breast Cancer Drug Advisory Committee — Clinician 5
Company | $0 to 5,000 | $5,001 to 10,000 | $10,001 to 50,000 | In Excess of $50,000 |
|---|---|---|---|---|
No COI | — | — | — | — |
ISSN: 2563-6596
Disclaimer: The information in this document is intended to help Canadian health care decision-makers, health care professionals, health systems leaders, and policy-makers make well-informed decisions and thereby improve the quality of health care services. While patients and others may access this document, the document is made available for informational purposes only and no representations or warranties are made with respect to its fitness for any particular purpose. The information in this document should not be used as a substitute for professional medical advice or as a substitute for the application of clinical judgment in respect of the care of a particular patient or other professional judgment in any decision-making process. The Canadian Agency for Drugs and Technologies in Health (CADTH) does not endorse any information, drugs, therapies, treatments, products, processes, or services.
While care has been taken to ensure that the information prepared by CADTH in this document is accurate, complete, and up-to-date as at the applicable date the material was first published by CADTH, CADTH does not make any guarantees to that effect. CADTH does not guarantee and is not responsible for the quality, currency, propriety, accuracy, or reasonableness of any statements, information, or conclusions contained in any third-party materials used in preparing this document. The views and opinions of third parties published in this document do not necessarily state or reflect those of CADTH.
CADTH is not responsible for any errors, omissions, injury, loss, or damage arising from or relating to the use (or misuse) of any information, statements, or conclusions contained in or implied by the contents of this document or any of the source materials.
This document may contain links to third-party websites. CADTH does not have control over the content of such sites. Use of third-party sites is governed by the third-party website owners’ own terms and conditions set out for such sites. CADTH does not make any guarantee with respect to any information contained on such third-party sites and CADTH is not responsible for any injury, loss, or damage suffered as a result of using such third-party sites. CADTH has no responsibility for the collection, use, and disclosure of personal information by third-party sites.
Subject to the aforementioned limitations, the views expressed herein are those of CADTH and do not necessarily represent the views of Canada’s federal, provincial, or territorial governments or any third party supplier of information.
This document is prepared and intended for use in the context of the Canadian health care system. The use of this document outside of Canada is done so at the user’s own risk.
This disclaimer and any questions or matters of any nature arising from or relating to the content or use (or misuse) of this document will be governed by and interpreted in accordance with the laws of the Province of Ontario and the laws of Canada applicable therein, and all proceedings shall be subject to the exclusive jurisdiction of the courts of the Province of Ontario, Canada.
The copyright and other intellectual property rights in this document are owned by CADTH and its licensors. These rights are protected by the Canadian Copyright Act and other national and international laws and agreements. Users are permitted to make copies of this document for non-commercial purposes only, provided it is not modified when reproduced and appropriate credit is given to CADTH and its licensors.
Redactions: Confidential information in this document may be redacted at the request of the sponsor in accordance with the CADTH Drug Reimbursement Review Confidentiality Guidelines.
Stakeholder Input: The views expressed in each submission are those of the submitting organization or individual; not necessarily the views of CADTH or of other organizations. As such, they are independent of CADTH and do not necessarily represent or reflect the view of CADTH. No endorsement by CADTH is intended or should be inferred. By filing with CADTH, the submitting organization or individual agrees to the full disclosure of the information. CADTH does not edit the content of the submissions.
CADTH does use reasonable care to prevent disclosure of personal information in posted material; however, it is ultimately the submitter’s responsibility to ensure no identifying personal information or personal health information is included in the submission. The name of the submitting organization or individual and all conflict of interest information are included in the submission; however, the name of the author, including the name of an individual patient or caregiver submitting the patient input, are not posted.
Accessibility: CADTH is committed to treating people with disabilities in a way that respects their dignity and independence, supports them in accessing material in a timely manner, and provides a robust feedback process to support continuous improvement. All materials prepared by CADTH are available in an accessible format. Where materials provided to CADTH by a submitting organization or individual are not available in an accessible format, CADTH will provide a summary document upon request. More details on CADTH’s accessibility policies can be found here.
About CADTH: CADTH is an independent, not-for-profit organization responsible for providing Canada’s health care decision-makers with objective evidence to help make informed decisions about the optimal use of drugs, medical devices, diagnostics, and procedures in our health care system.
Funding: CADTH receives funding from Canada’s federal, provincial, and territorial governments, with the exception of Quebec